Est. March 2001 ·
10,247
Listings on File
Antique Padlocks
A Virtual Repository · James Brady
Home
›
Patent Database
›
Patent 6073469
Padlock Patent — Keyed
Patent 6073469
Inventor:
Gerald J. Julien
View on USPTO / Google Patents ↗
Patent #
6073469
Issue Date
1995-06-07
Inventor
Gerald J. Julien
Assigned To
Nitinol Technologies Inc
Type
Keyed
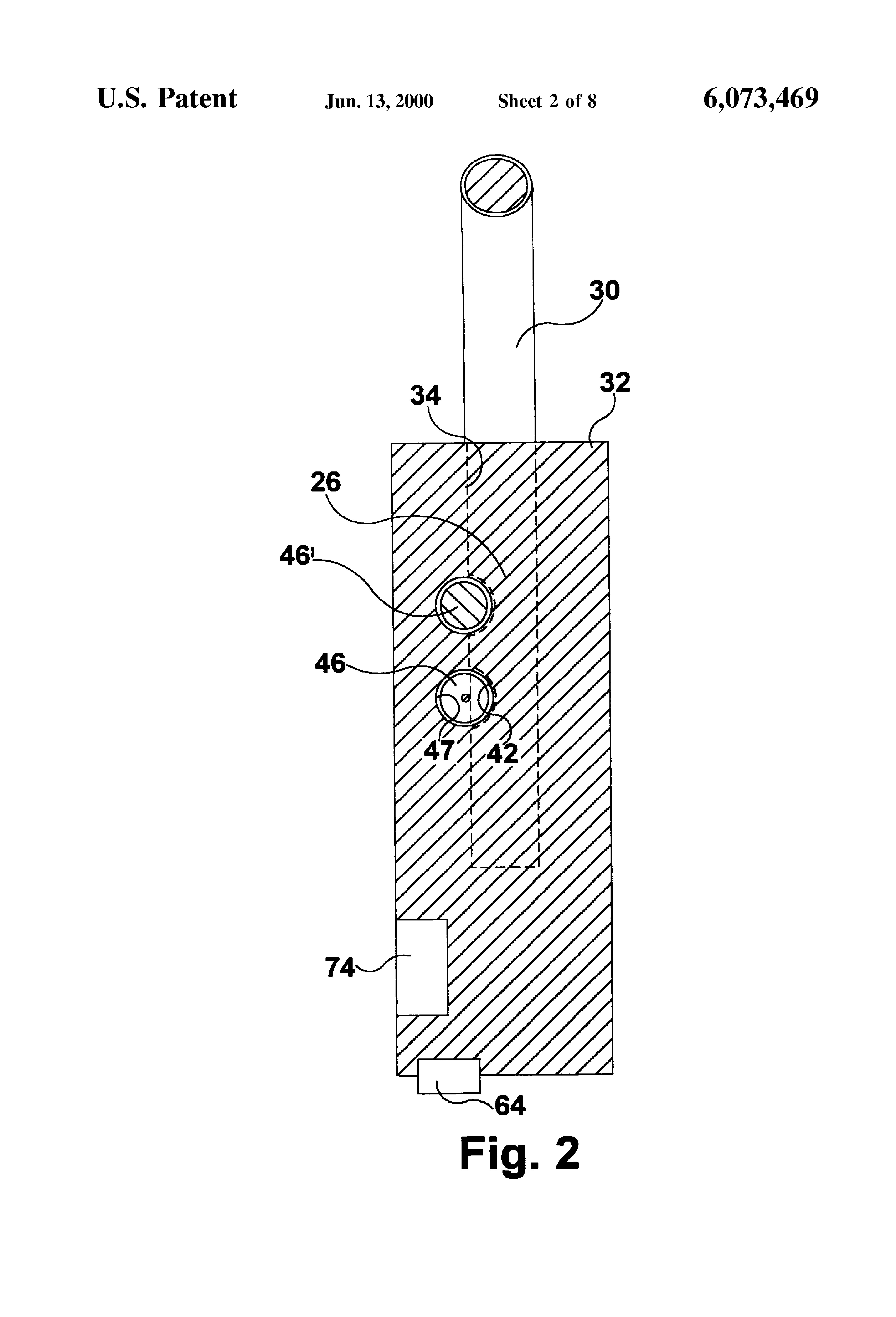
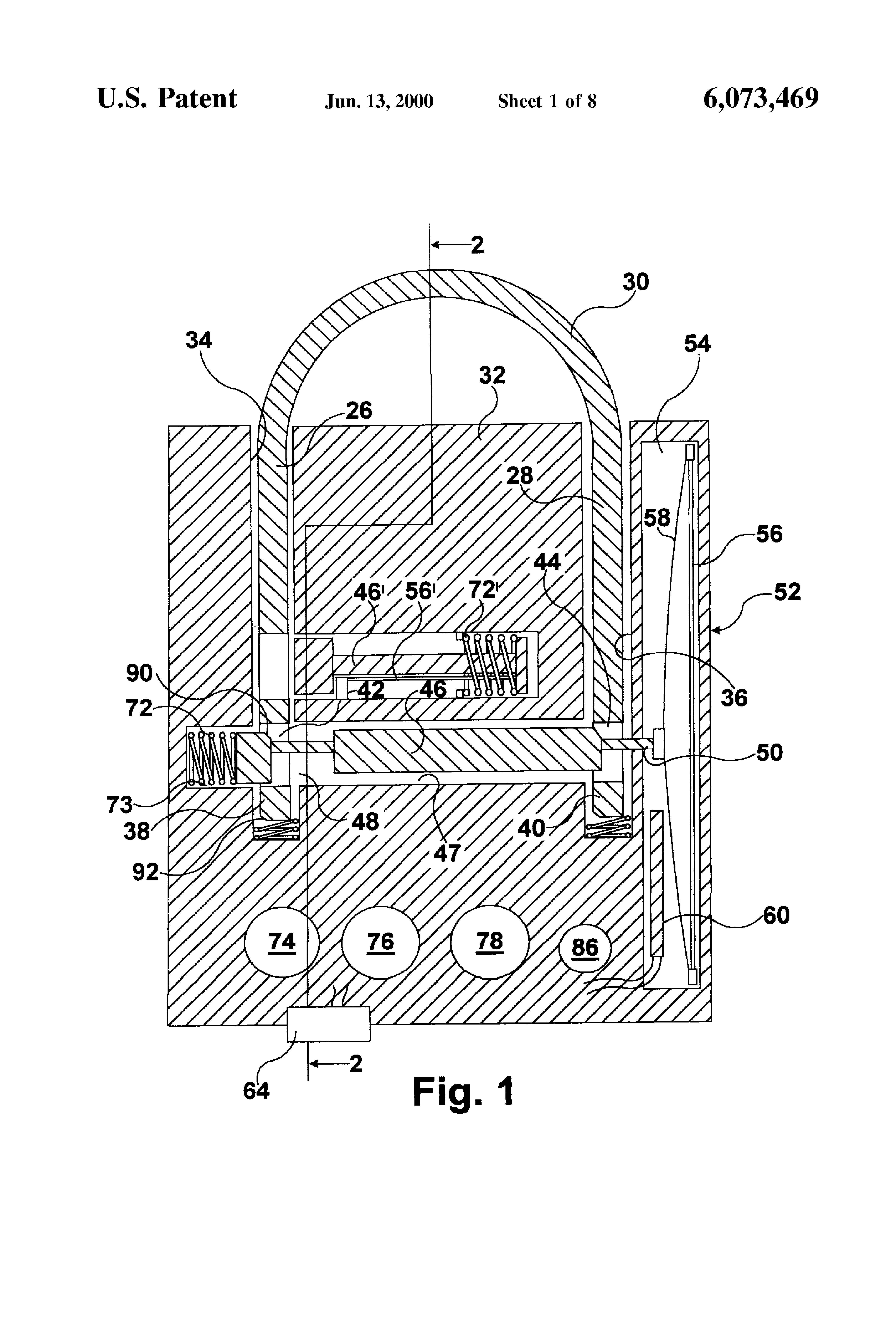
Patent Drawings
Drawing 1
Drawing 2
Drawing 3
Patent Details
Patent Number
6073469
Issue Date
1995-06-07
Inventor
Gerald J. Julien
Assigned To
Nitinol Technologies Inc
Patent Type
Keyed
External Link
https://patents.google.com/patent/US6073469/en ↗
← 6089054
↑ Back to Patent Database
6089054 →