Est. March 2001 ·
10,247
Listings on File
Antique Padlocks
A Virtual Repository · James Brady
Home
›
Patent Database
›
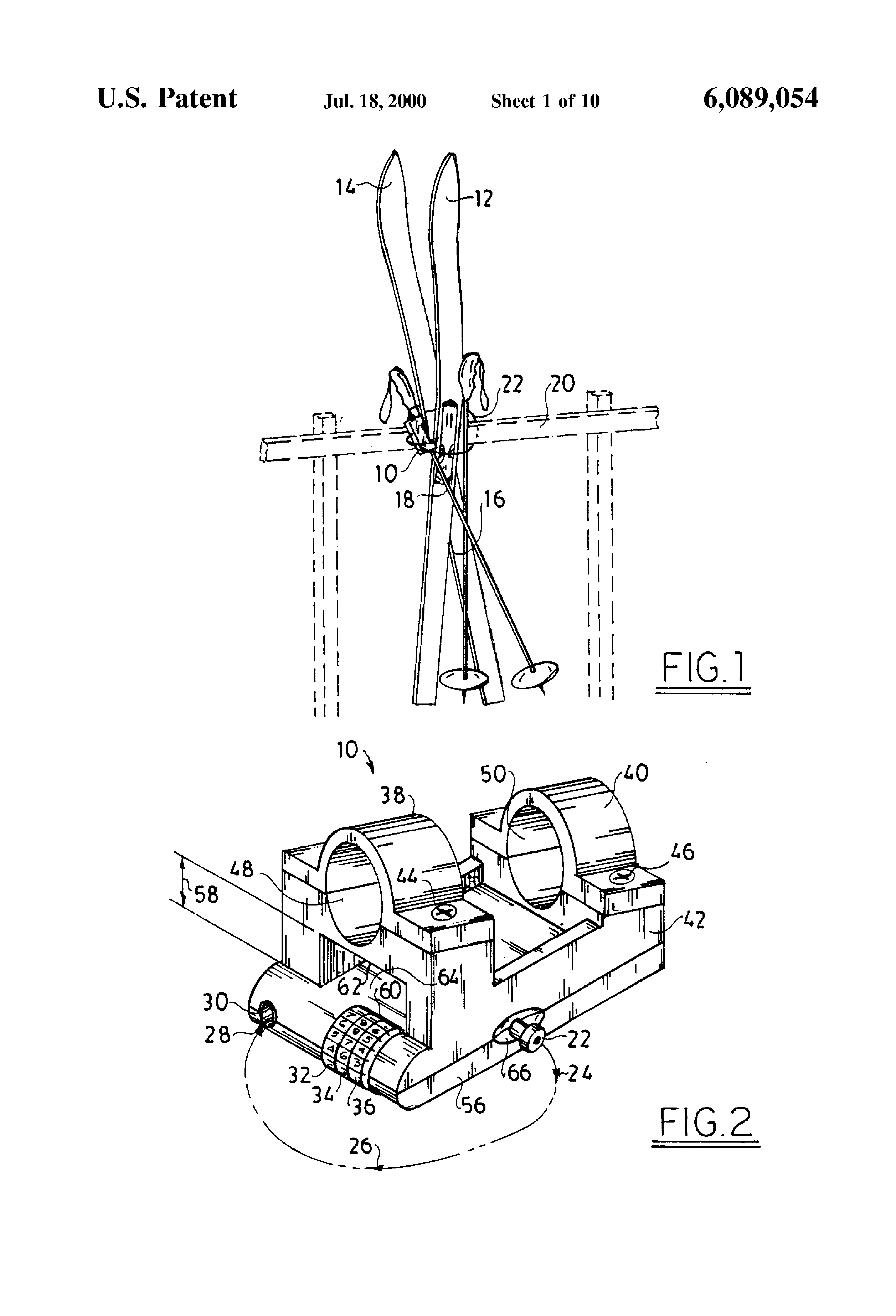
Patent 6089054
Padlock Patent — Combo
Patent 6089054
Inventor:
Alfred A. Stukas
View on USPTO / Google Patents ↗
Patent #
6089054
Issue Date
1999-01-15
Inventor
Alfred A. Stukas
Type
Combo
Patent Drawings
Drawing 1
Drawing 2
Drawing 3
Patent Details
Patent Number
6089054
Issue Date
1999-01-15
Inventor
Alfred A. Stukas
Patent Type
Combo
External Link
https://patents.google.com/patent/US6089054/en ↗
← 6101852
↑ Back to Patent Database
6101852 →