Est. March 2001 ·
10,247
Listings on File
Antique Padlocks
A Virtual Repository · James Brady
Home
›
Patent Database
›
Patent 5765409
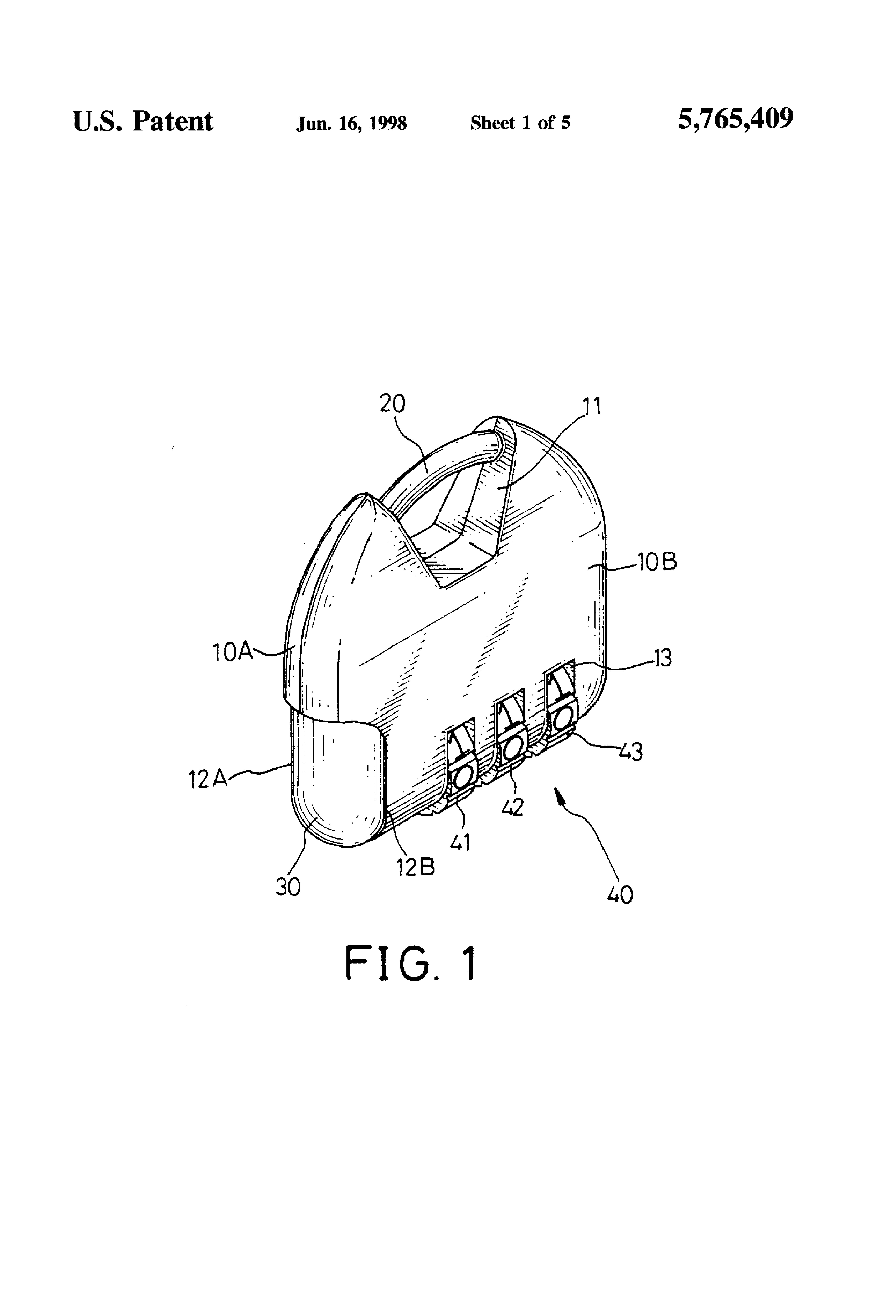
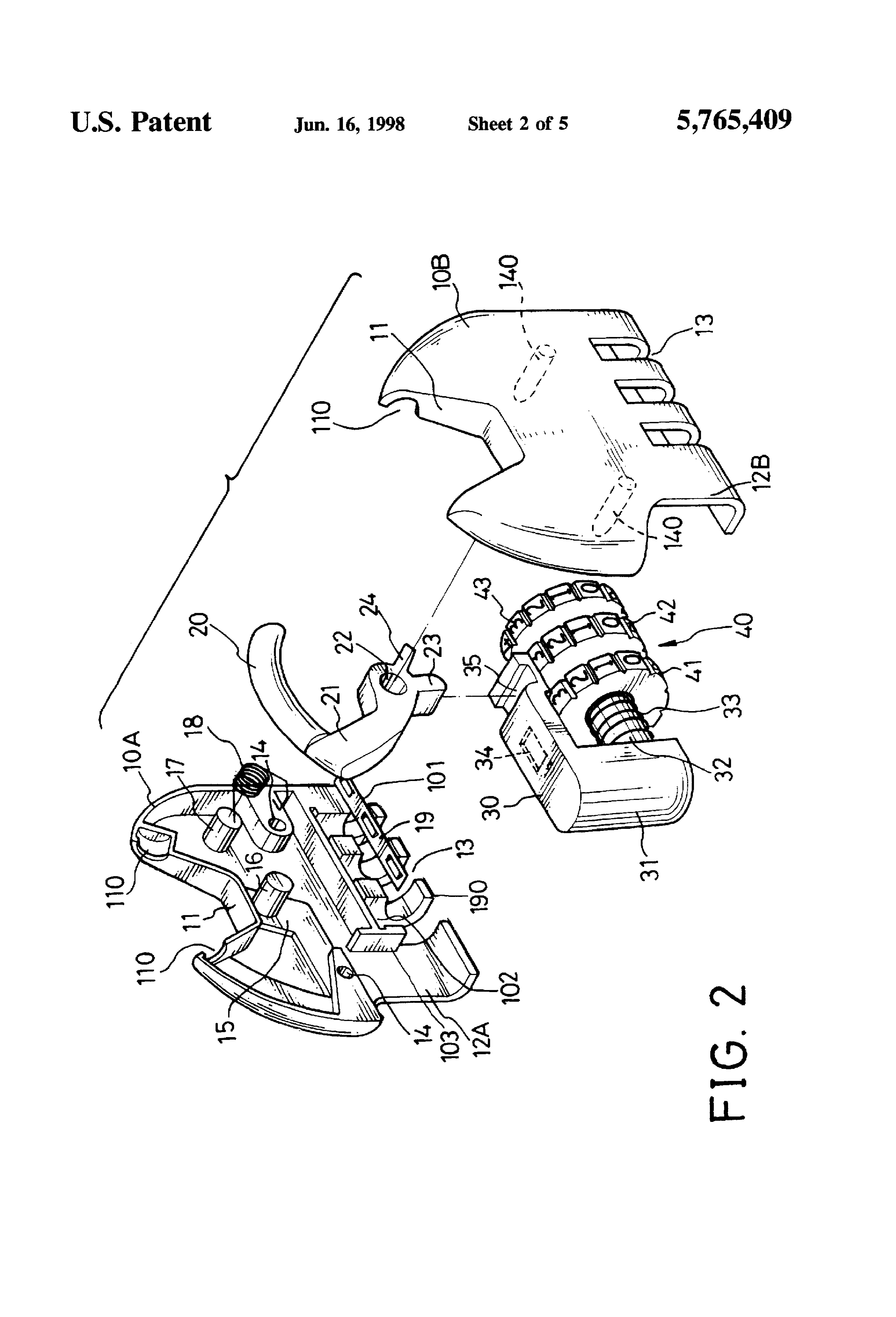
Padlock Patent — Combo
Patent 5765409
Inventor:
Kuo-Tsung Yang
View on USPTO / Google Patents ↗
Patent #
5765409
Issue Date
1996-12-06
Inventor
Kuo-Tsung Yang
Type
Combo
Patent Drawings
Drawing 1
Drawing 2
Drawing 3
Patent Details
Patent Number
5765409
Issue Date
1996-12-06
Inventor
Kuo-Tsung Yang
Patent Type
Combo
External Link
https://patents.google.com/patent/US5765409/en ↗
← 5782113
↑ Back to Patent Database
5782113 →