Est. March 2001  ·  10,247 Listings on File

Padlock Patent — Combo

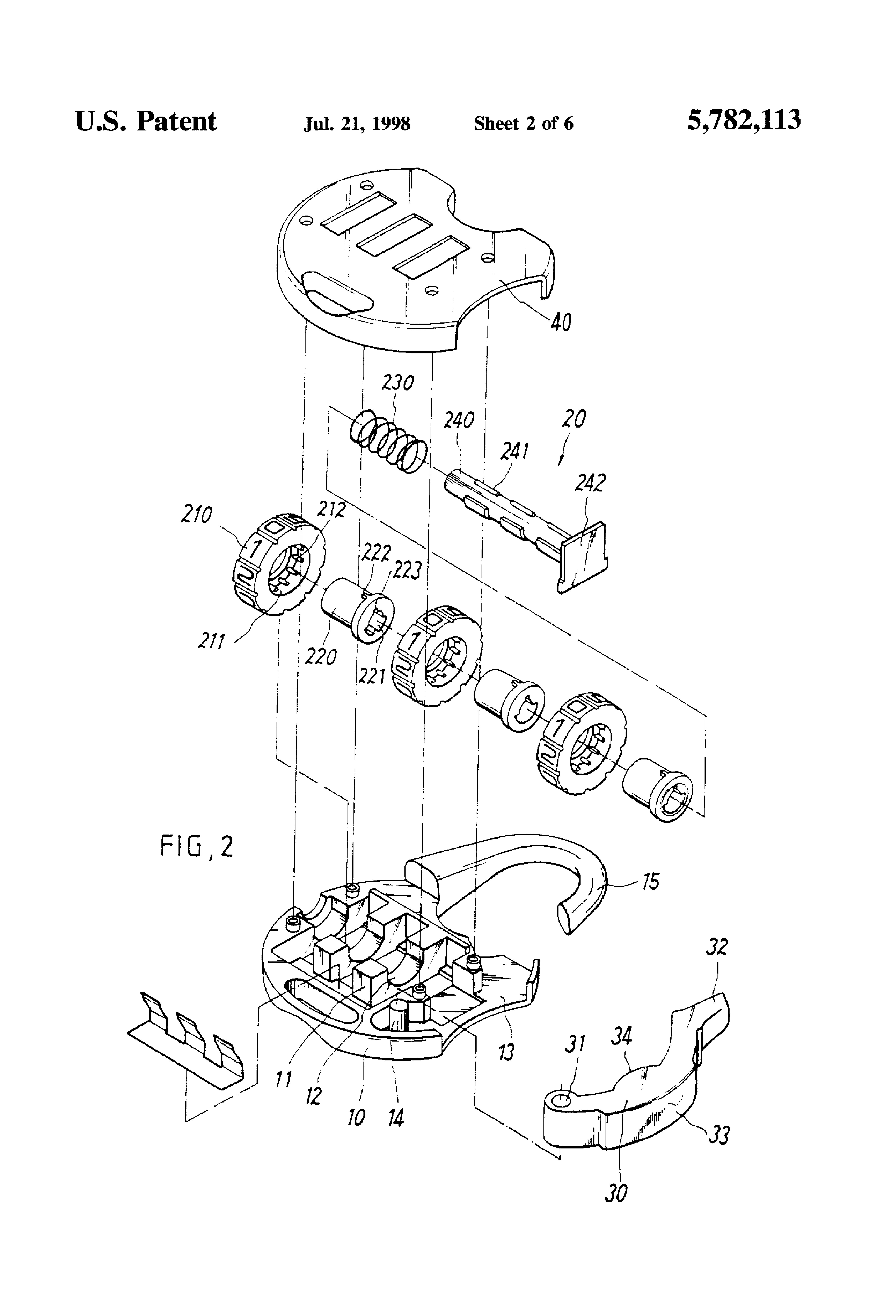
Patent 5782113

Inventor: cheng jung Chen

View on USPTO / Google Patents ↗
Patent # 5782113
Issue Date 1997-09-30
Inventor cheng jung Chen
Type Combo

Patent Drawings

Patent Details

Patent Number 5782113
Issue Date 1997-09-30
Inventor cheng jung Chen
Patent Type Combo
External Link https://patents.google.com/patent/US5782113/en ↗
↑ Back to Patent Database