Est. March 2001  ·  10,247 Listings on File

Padlock Patent — Combo

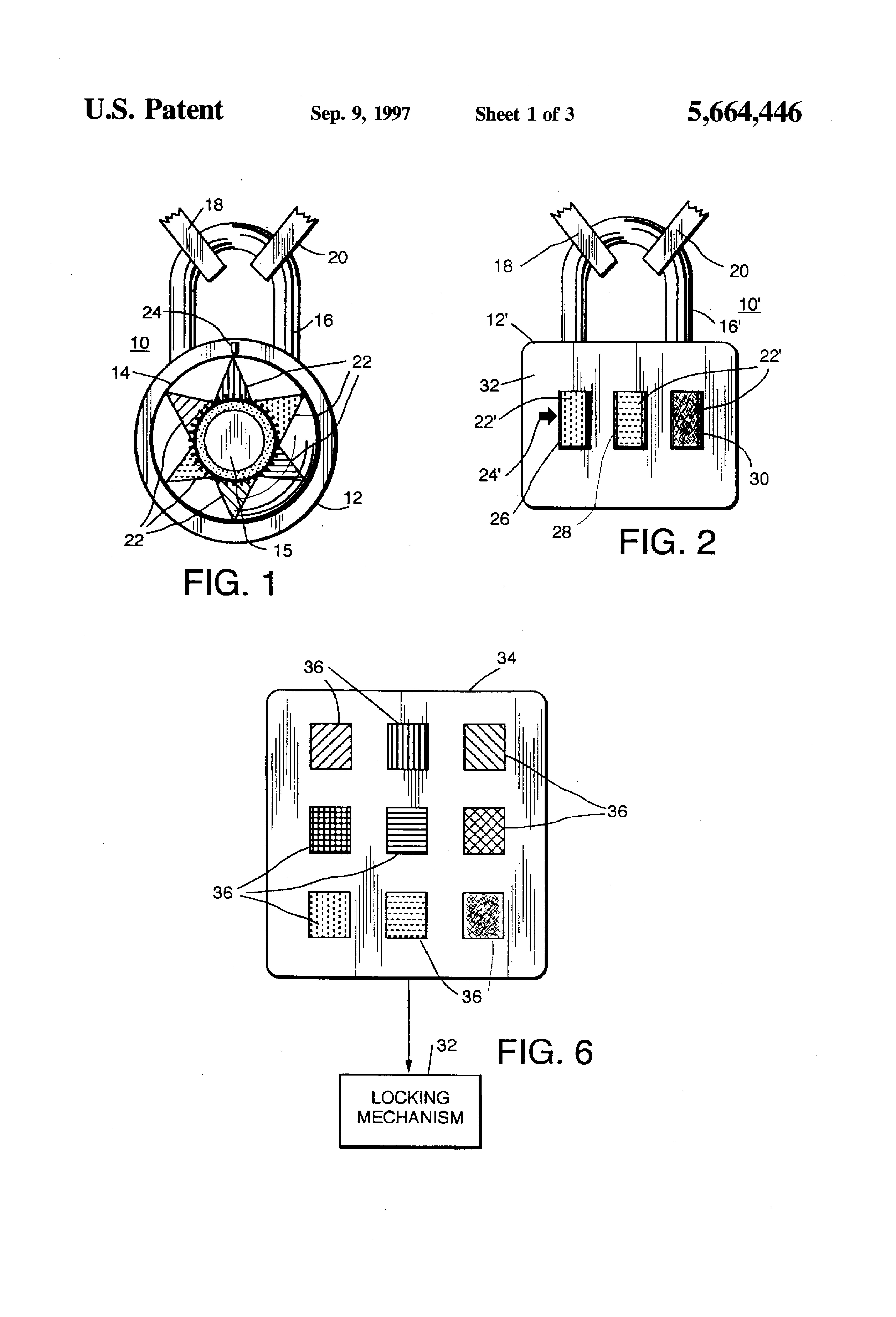
Patent 5664446

Inventor: John H. Kusmiss

View on USPTO / Google Patents ↗
Patent # 5664446
Issue Date 1996-02-26
Inventor John H. Kusmiss
Assigned To JOHN H KUSMISS TRUST DATED MAY 5 2008
Type Combo

Patent Drawings

Patent Details

Patent Number 5664446
Issue Date 1996-02-26
Inventor John H. Kusmiss
Assigned To JOHN H KUSMISS TRUST DATED MAY 5 2008
Patent Type Combo
External Link https://patents.google.com/patent/US5664446/en ↗
↑ Back to Patent Database