Est. March 2001 ·
10,247
Listings on File
Antique Padlocks
A Virtual Repository · James Brady
Home
›
Patent Database
›
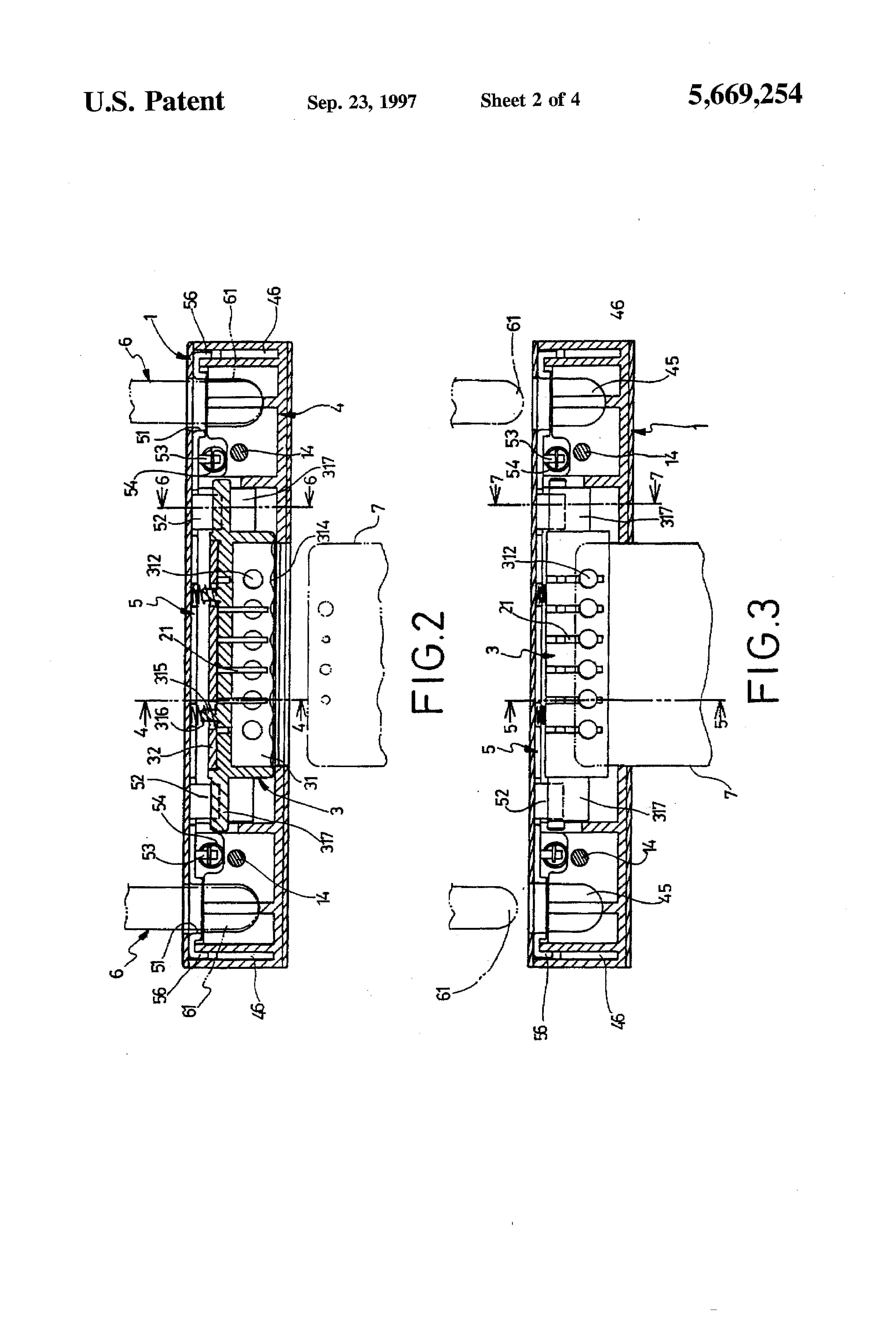
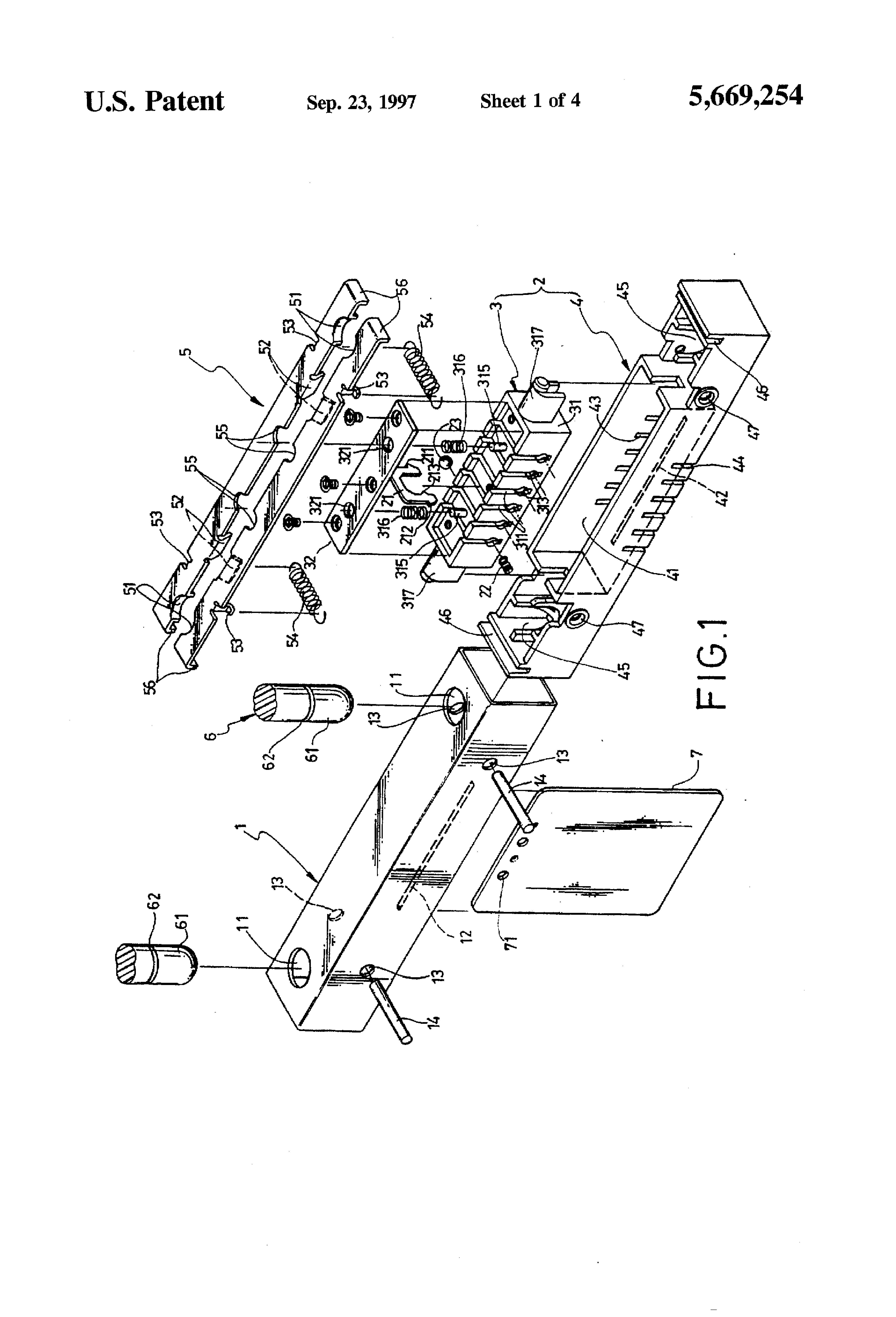
Patent 5669254
Padlock Patent — Keyed
Patent 5669254
Inventor:
Chi-Hou Lee
View on USPTO / Google Patents ↗
Patent #
5669254
Issue Date
1996-04-05
Inventor
Chi-Hou Lee
Assigned To
Simple Locksmith Co Ltd
Type
Keyed
Patent Drawings
Drawing 1
Drawing 2
Drawing 3
Patent Details
Patent Number
5669254
Issue Date
1996-04-05
Inventor
Chi-Hou Lee
Assigned To
Simple Locksmith Co Ltd
Patent Type
Keyed
External Link
https://patents.google.com/patent/US5669254/en ↗
← 567624
↑ Back to Patent Database
567624 →