Est. March 2001 ·
10,247
Listings on File
Antique Padlocks
A Virtual Repository · James Brady
Home
›
Patent Database
›
Patent 5587702
Padlock Patent — Keyed
Patent 5587702
Inventor:
Garth R. Chadfield
View on USPTO / Google Patents ↗
Patent #
5587702
Issue Date
1993-11-12
Inventor
Garth R. Chadfield
Type
Keyed
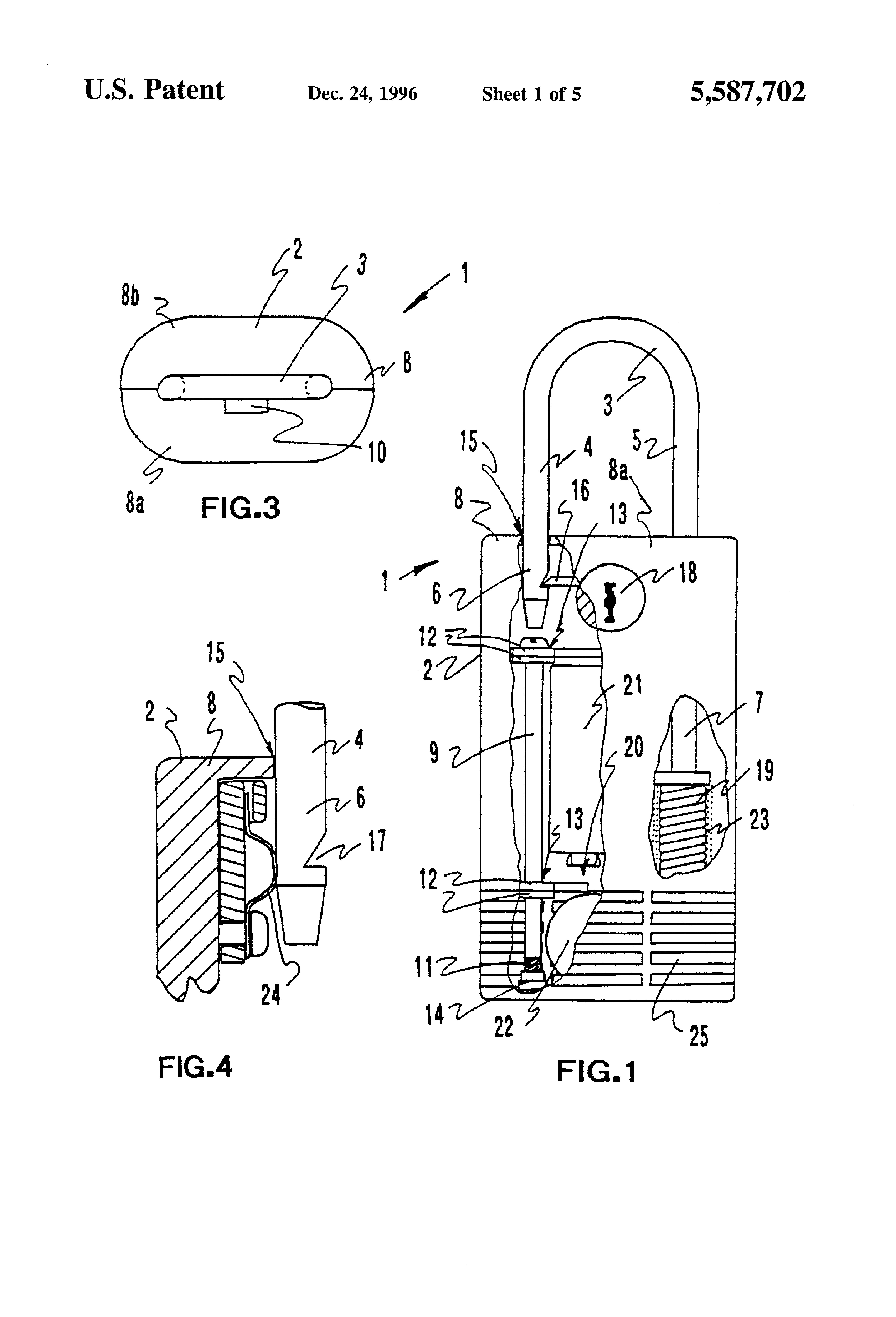
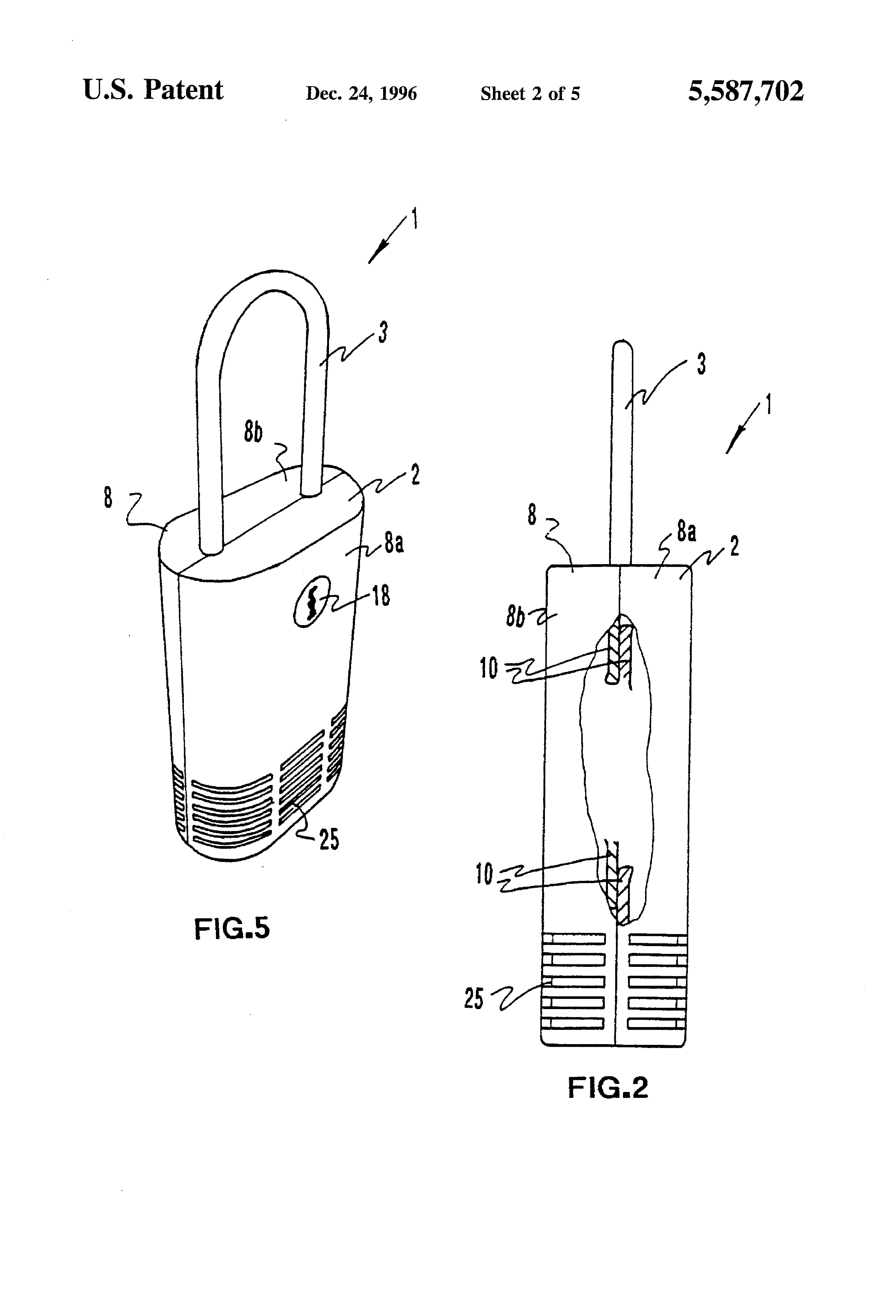
Patent Drawings
Drawing 1
Drawing 2
Drawing 3
Patent Details
Patent Number
5587702
Issue Date
1993-11-12
Inventor
Garth R. Chadfield
Patent Type
Keyed
External Link
https://patents.google.com/patent/US5587702/en ↗
← 5592837
↑ Back to Patent Database
5592837 →