Est. March 2001 ·
10,247
Listings on File
Antique Padlocks
A Virtual Repository · James Brady
Home
›
Patent Database
›
Patent 5592837
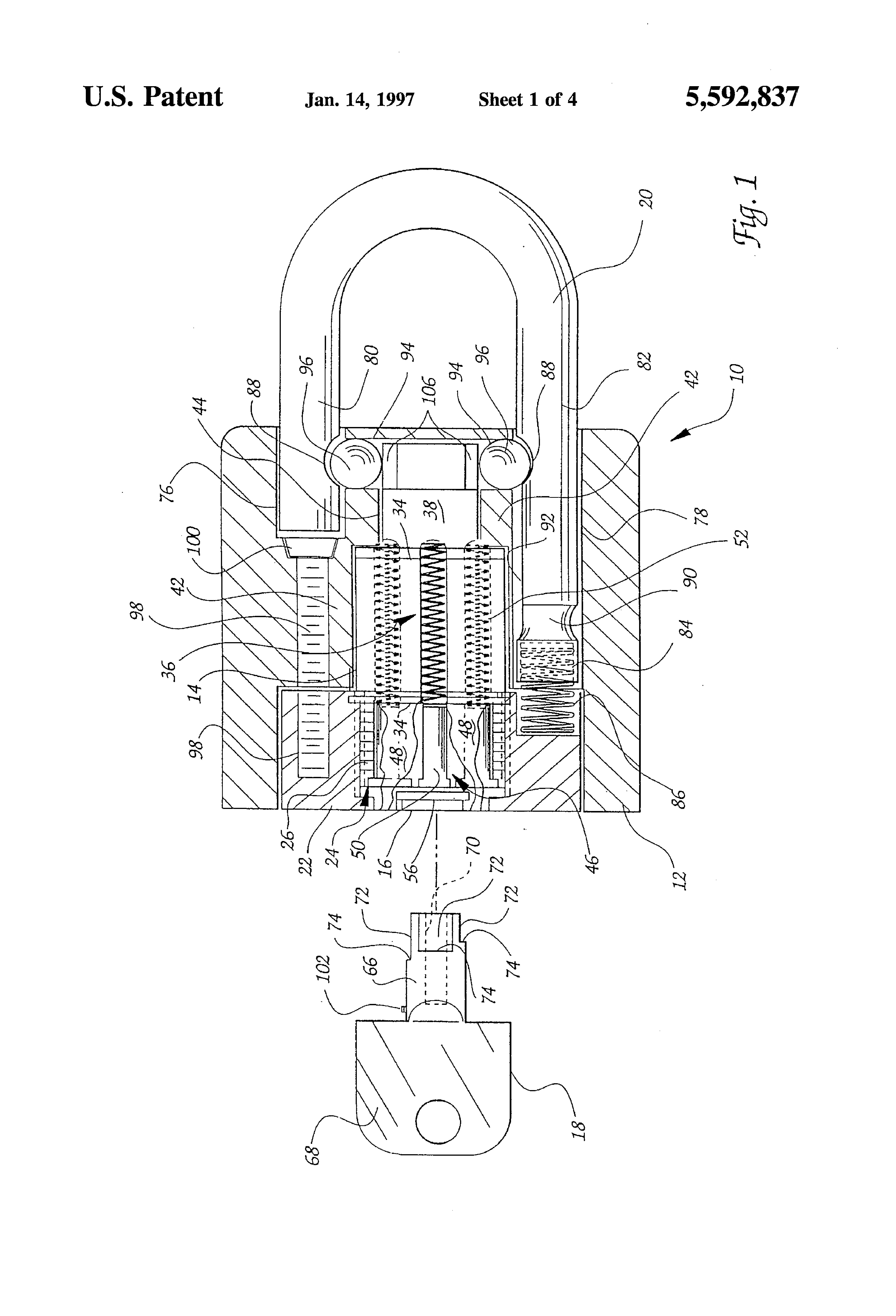
Padlock Patent — Keyed
Patent 5592837
Inventor:
Darryl G. McBride
View on USPTO / Google Patents ↗
Patent #
5592837
Issue Date
1995-09-11
Inventor
Darryl G. McBride
Assigned To
DARRYL G MCBRIDE
Type
Keyed
Patent Drawings
Drawing 1
Drawing 2
Drawing 3
Patent Details
Patent Number
5592837
Issue Date
1995-09-11
Inventor
Darryl G. McBride
Assigned To
DARRYL G MCBRIDE
Patent Type
Keyed
External Link
https://patents.google.com/patent/US5592837/en ↗
← 5609048
↑ Back to Patent Database
5609048 →