Est. March 2001 ·
10,247
Listings on File
Antique Padlocks
A Virtual Repository · James Brady
Home
›
Patent Database
›
Patent 5572890
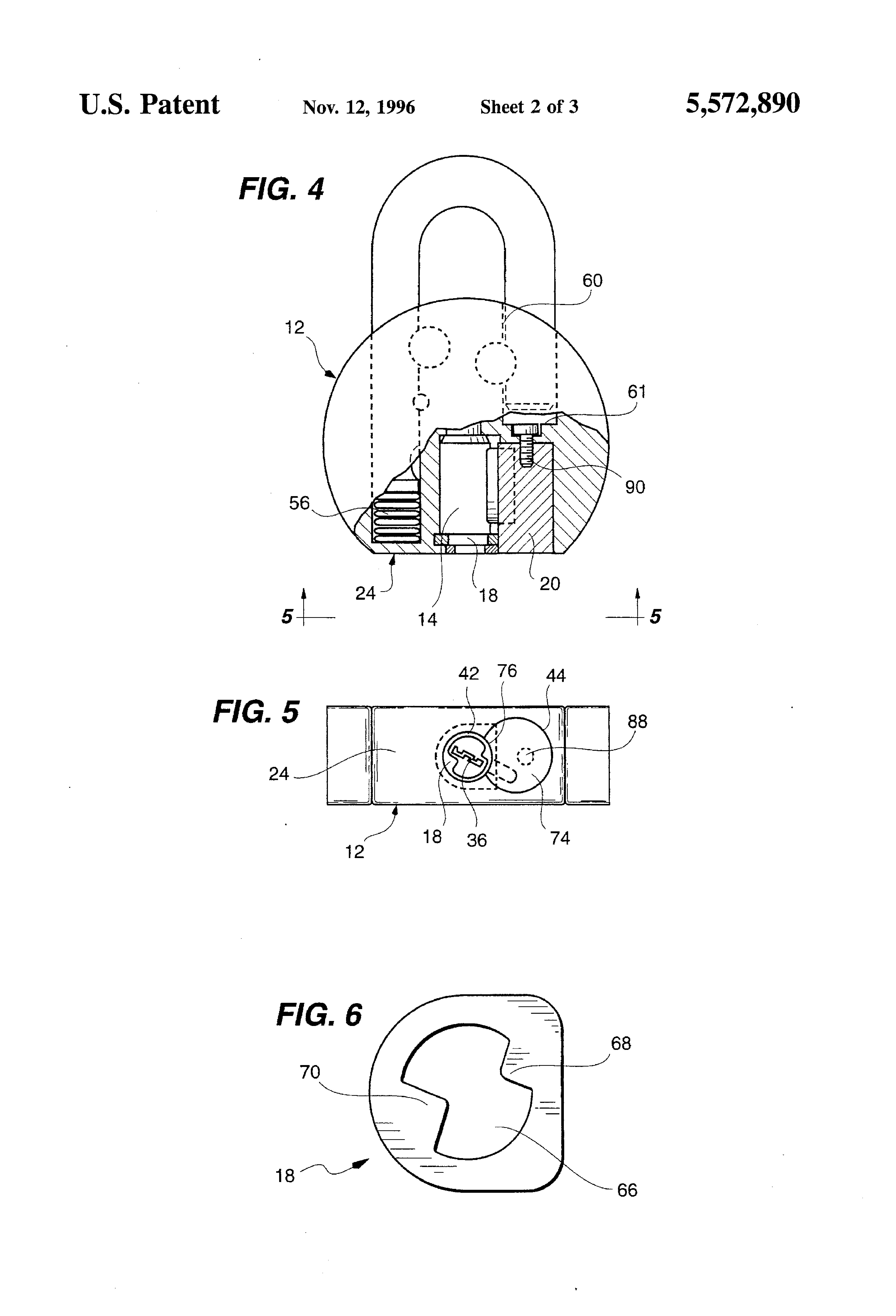
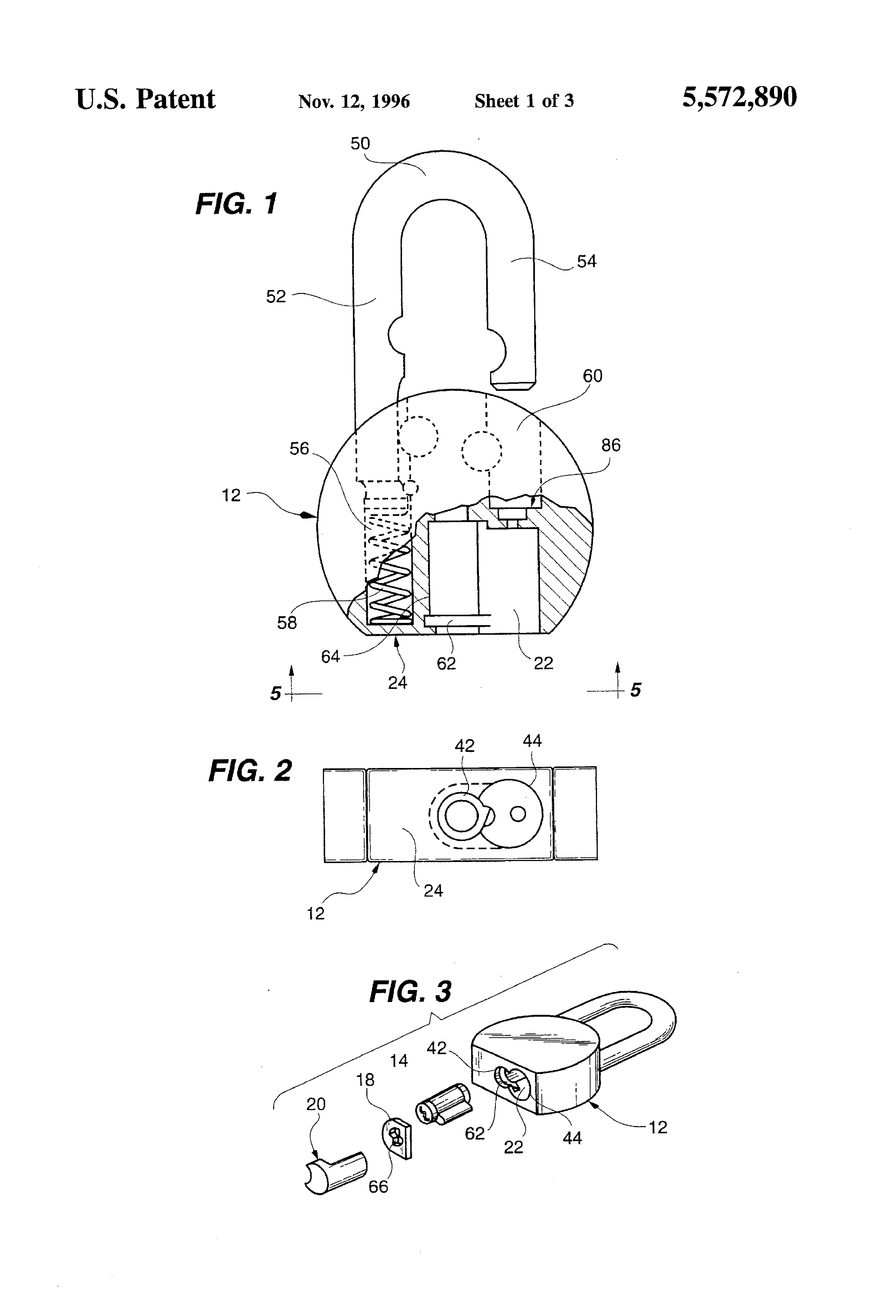
Padlock Patent — Keyed
Patent 5572890
Inventor:
Larry L. Carpenter
View on USPTO / Google Patents ↗
Patent #
5572890
Issue Date
1994-10-14
Inventor
Larry L. Carpenter
Assigned To
Master Lock Co LLC
Type
Keyed
Patent Drawings
Drawing 1
Drawing 2
Drawing 3
Patent Details
Patent Number
5572890
Issue Date
1994-10-14
Inventor
Larry L. Carpenter
Assigned To
Master Lock Co LLC
Patent Type
Keyed
External Link
https://patents.google.com/patent/US5572890/en ↗
← 5587702
↑ Back to Patent Database
5587702 →