Est. March 2001 ·
10,247
Listings on File
Antique Padlocks
A Virtual Repository · James Brady
Home
›
Patent Database
›
Patent 5540065
Padlock Patent — Combo
Patent 5540065
Inventor:
Philip W. Wyers
View on USPTO / Google Patents ↗
Patent #
5540065
Issue Date
1994-10-12
Inventor
Philip W. Wyers
Type
Combo
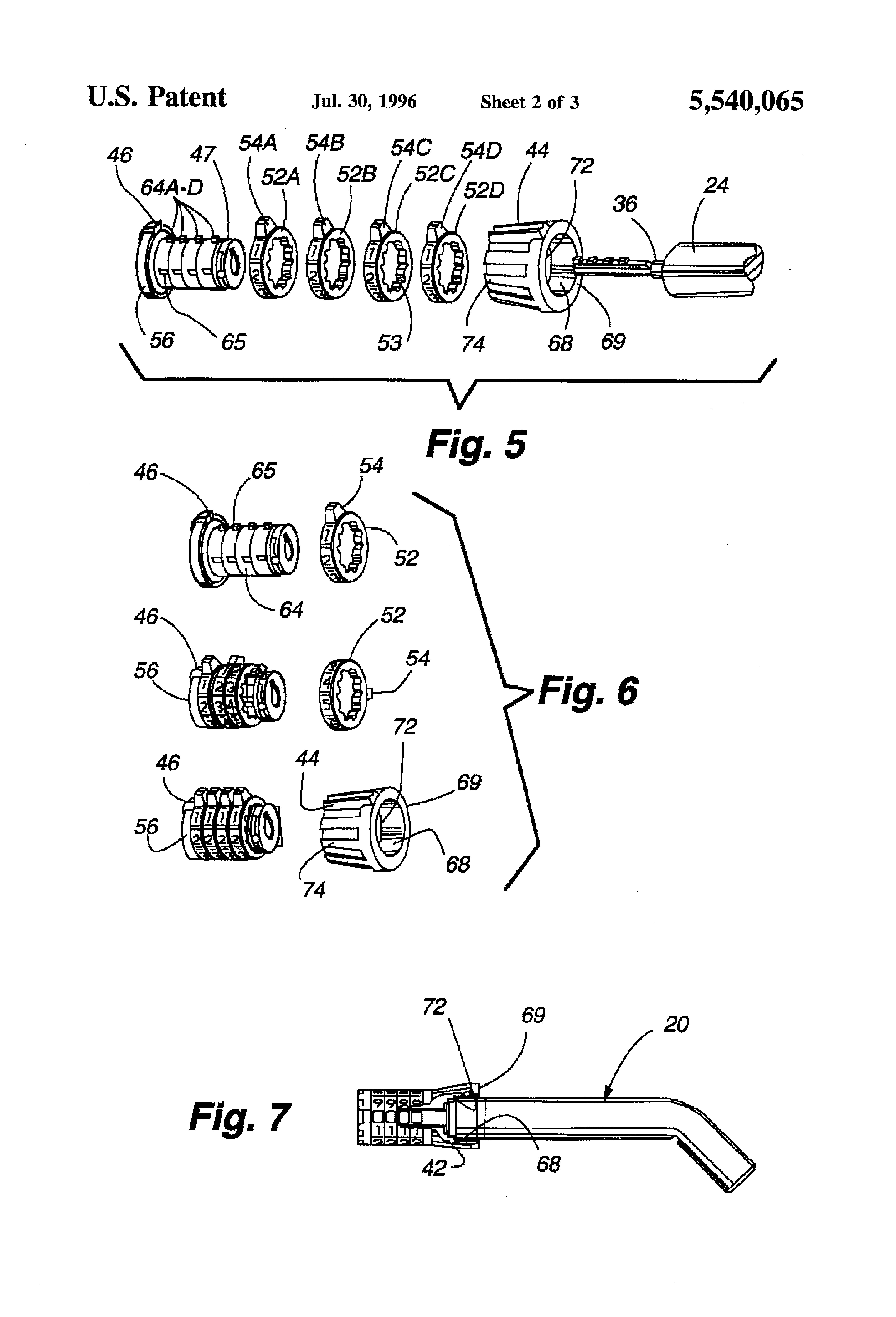
Patent Drawings
Drawing 1
Drawing 2
Drawing 3
Patent Details
Patent Number
5540065
Issue Date
1994-10-12
Inventor
Philip W. Wyers
Patent Type
Combo
External Link
https://patents.google.com/patent/US5540065/en ↗
← 5560232
↑ Back to Patent Database
5560232 →