Est. March 2001 ·
10,247
Listings on File
Antique Padlocks
A Virtual Repository · James Brady
Home
›
Patent Database
›
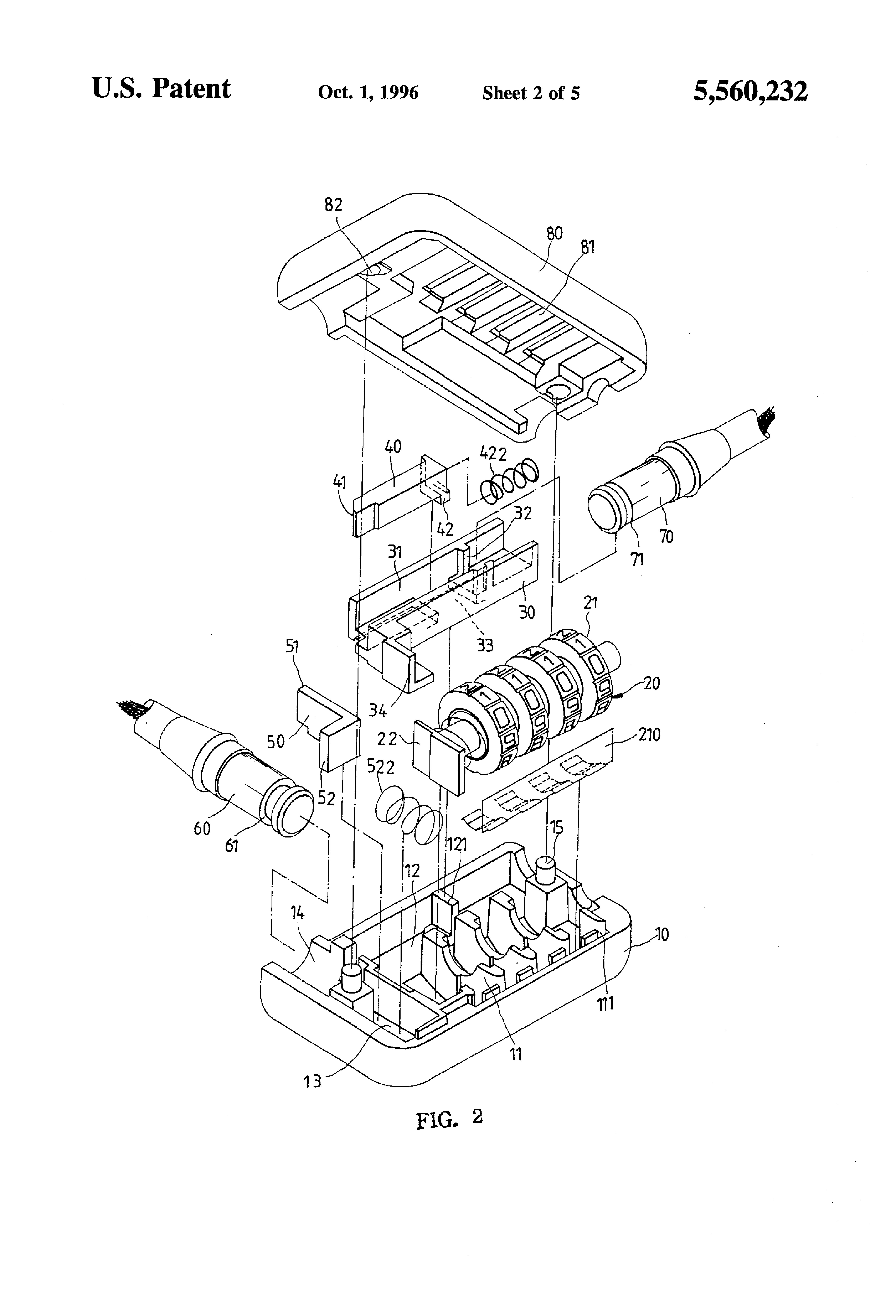
Patent 5560232
Padlock Patent — Combo
Patent 5560232
Inventor:
cheng jung Chen
View on USPTO / Google Patents ↗
Patent #
5560232
Issue Date
1995-04-18
Inventor
cheng jung Chen
Type
Combo
Patent Drawings
Drawing 1
Drawing 2
Drawing 3
Patent Details
Patent Number
5560232
Issue Date
1995-04-18
Inventor
cheng jung Chen
Patent Type
Combo
External Link
https://patents.google.com/patent/US5560232/en ↗
← 5568740
↑ Back to Patent Database
5568740 →