Est. March 2001  ·  10,247 Listings on File

Padlock Patent — Combo

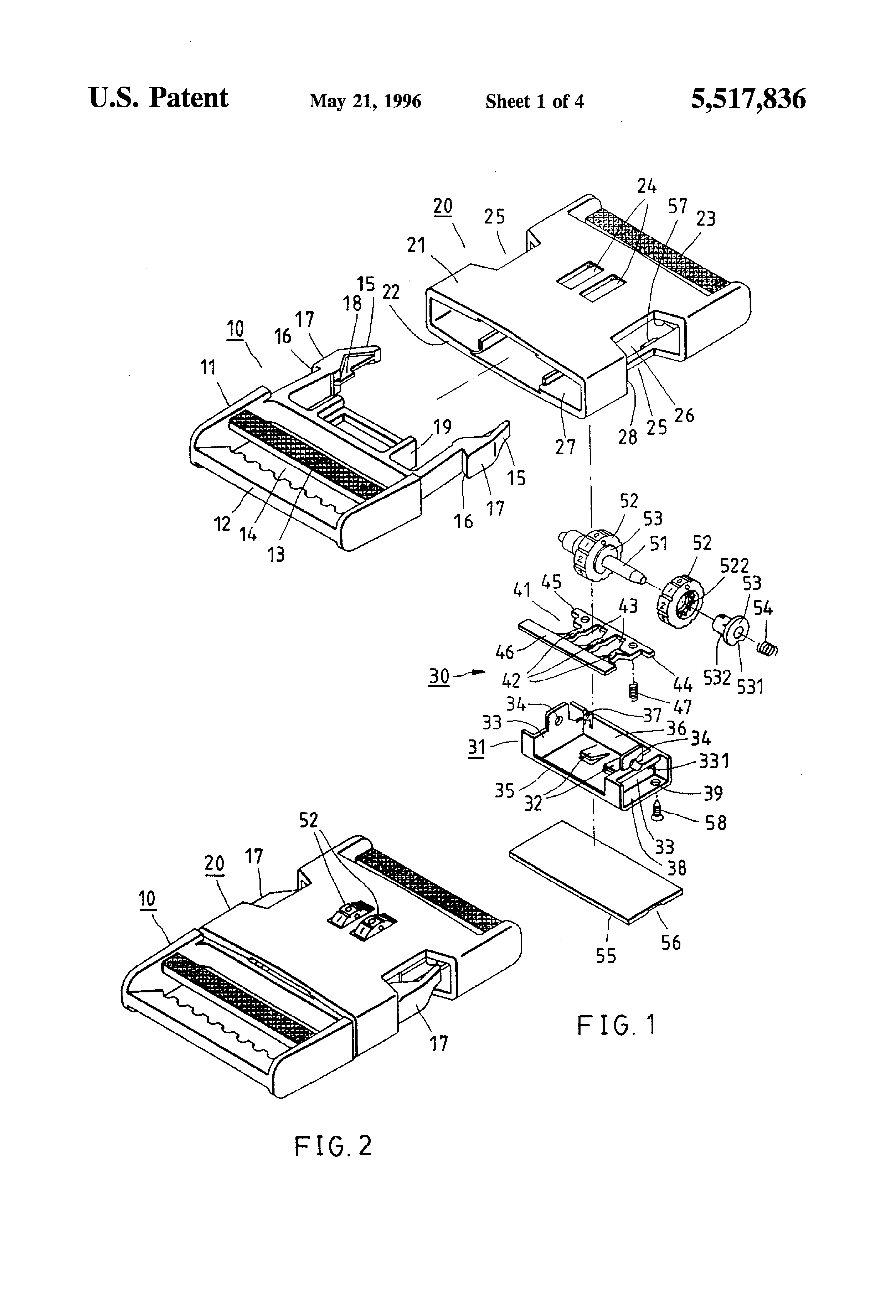
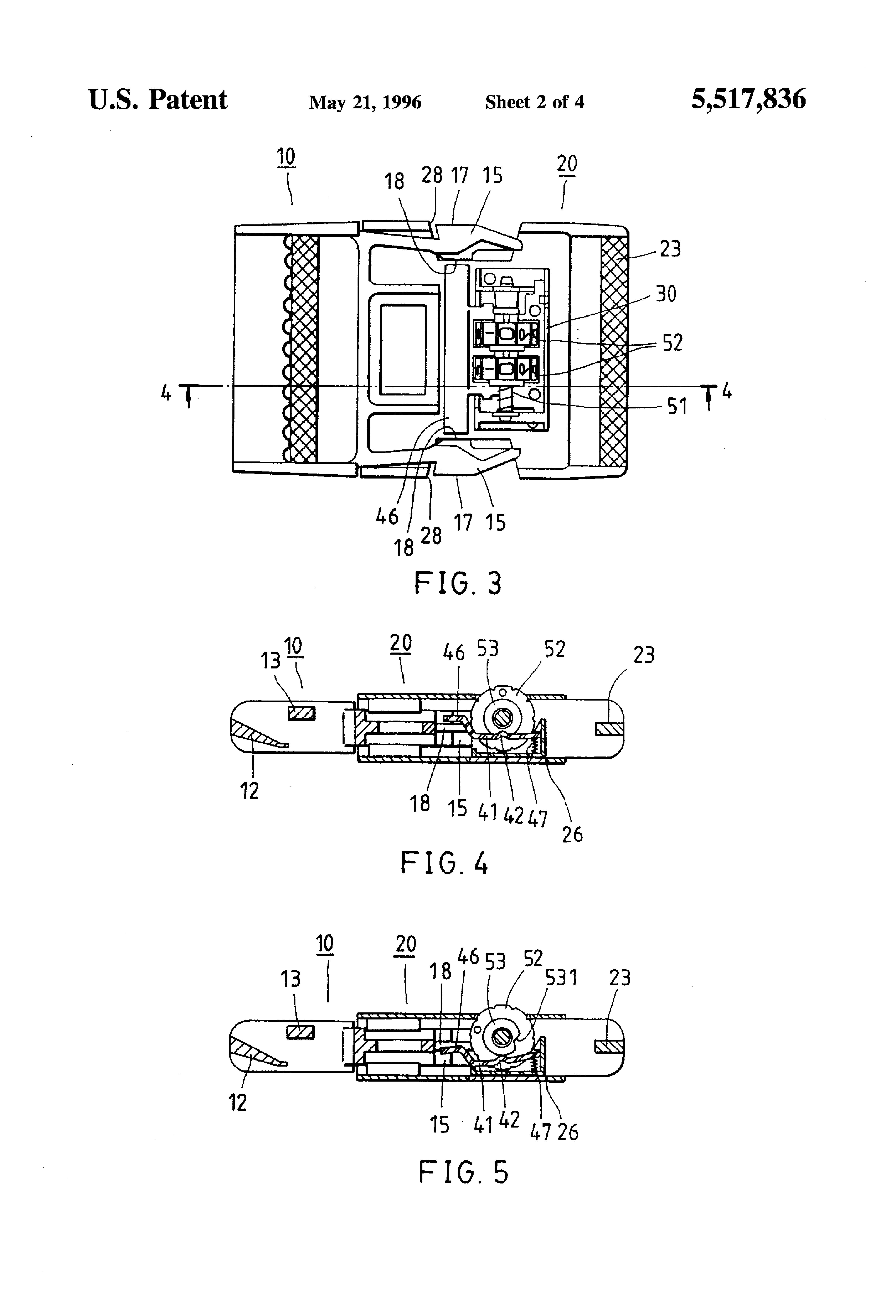
Patent 5517836

Inventor: Chih-Cheng Hong

View on USPTO / Google Patents ↗
Patent # 5517836
Issue Date 1995-05-12
Inventor Chih-Cheng Hong
Type Combo

Patent Drawings

Patent Details

Patent Number 5517836
Issue Date 1995-05-12
Inventor Chih-Cheng Hong
Patent Type Combo
External Link https://patents.google.com/patent/US5517836/en ↗
↑ Back to Patent Database