Est. March 2001 ·
10,247
Listings on File
Antique Padlocks
A Virtual Repository · James Brady
Home
›
Patent Database
›
Patent 5520032
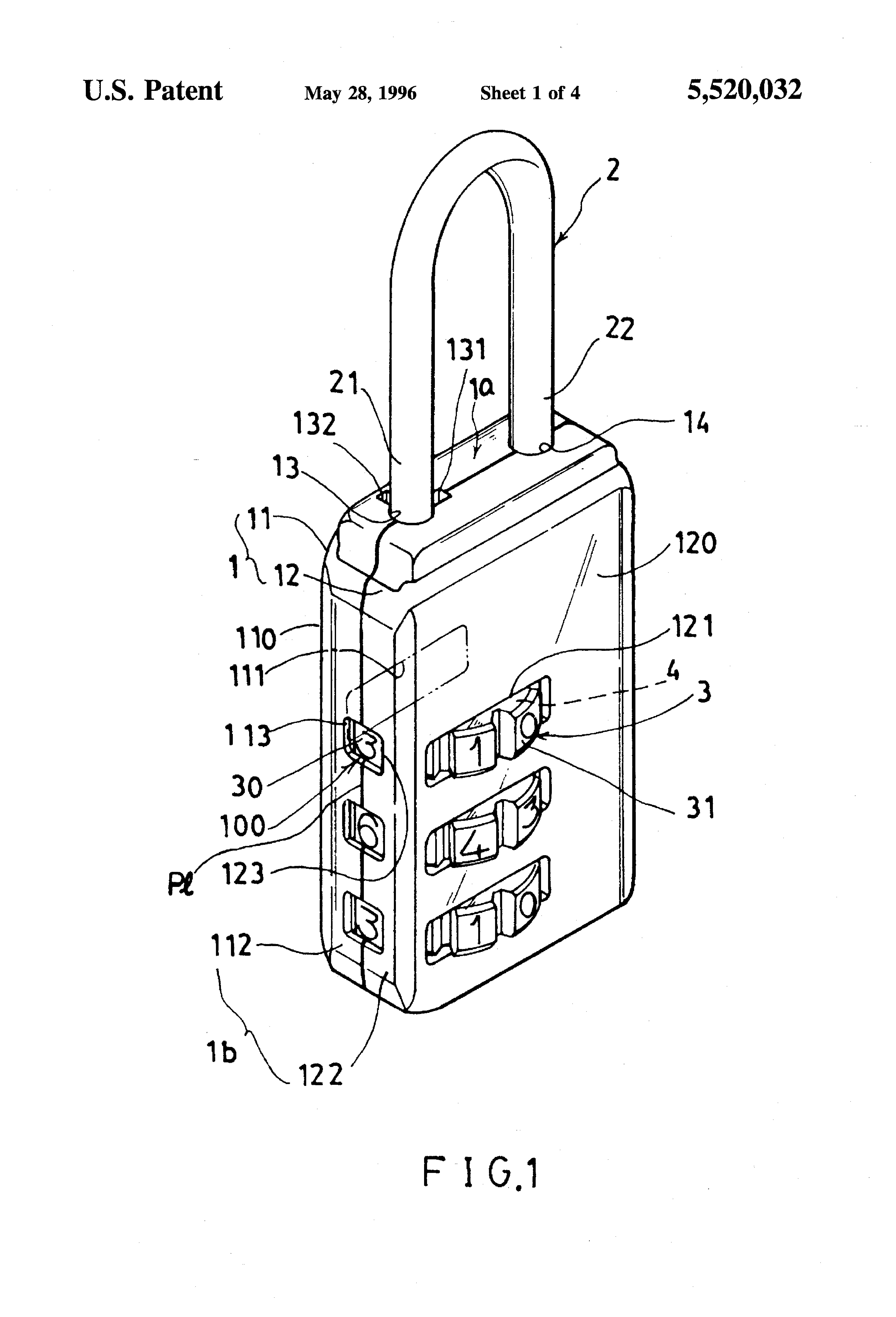
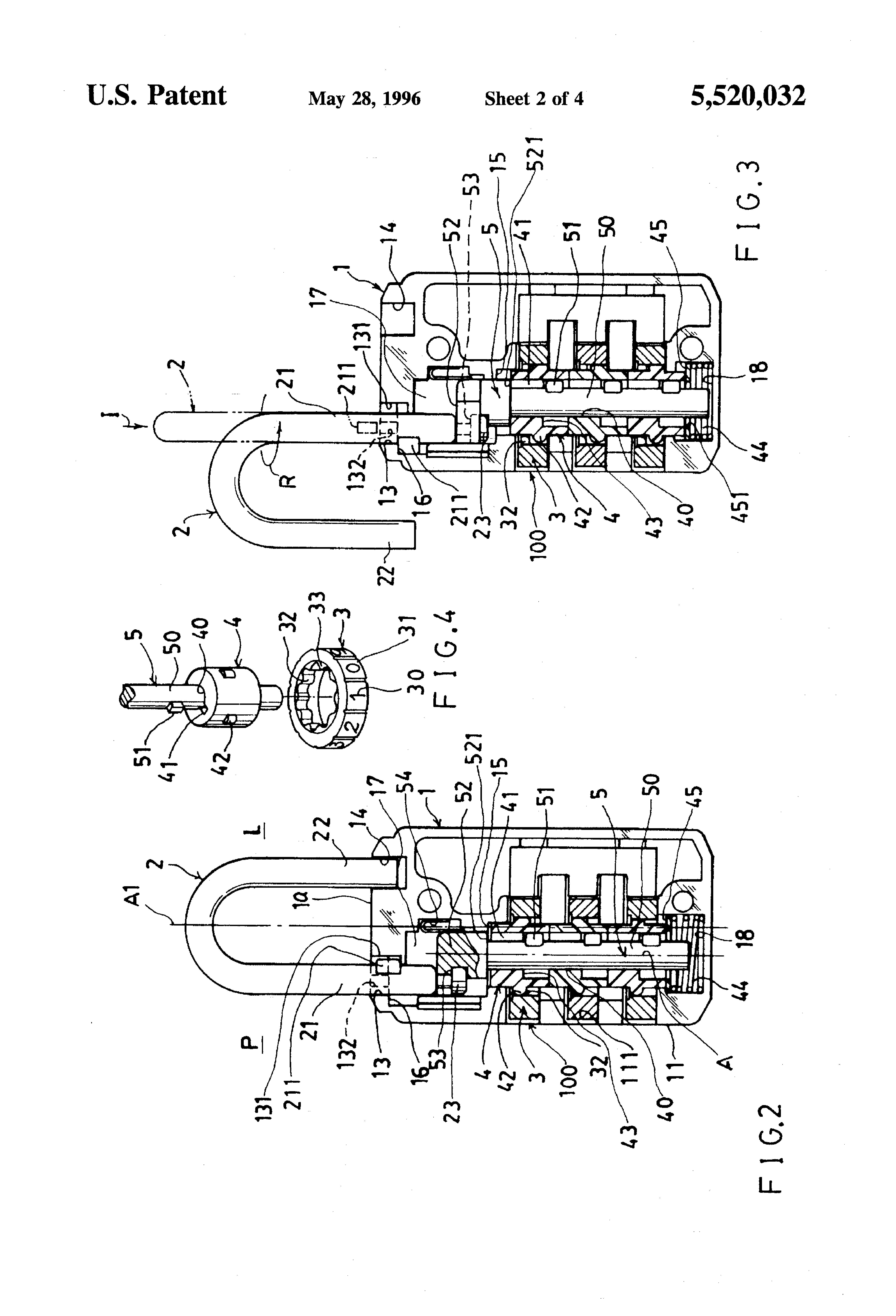
Padlock Patent — Combo
Patent 5520032
Inventor:
Chong-Kuan Ling
View on USPTO / Google Patents ↗
Patent #
5520032
Issue Date
1994-12-16
Inventor
Chong-Kuan Ling
Type
Combo
Patent Drawings
Drawing 1
Drawing 2
Drawing 3
Patent Details
Patent Number
5520032
Issue Date
1994-12-16
Inventor
Chong-Kuan Ling
Patent Type
Combo
External Link
https://patents.google.com/patent/US5520032/en ↗
← 5522243
↑ Back to Patent Database
5522243 →