Est. March 2001  ·  10,247 Listings on File

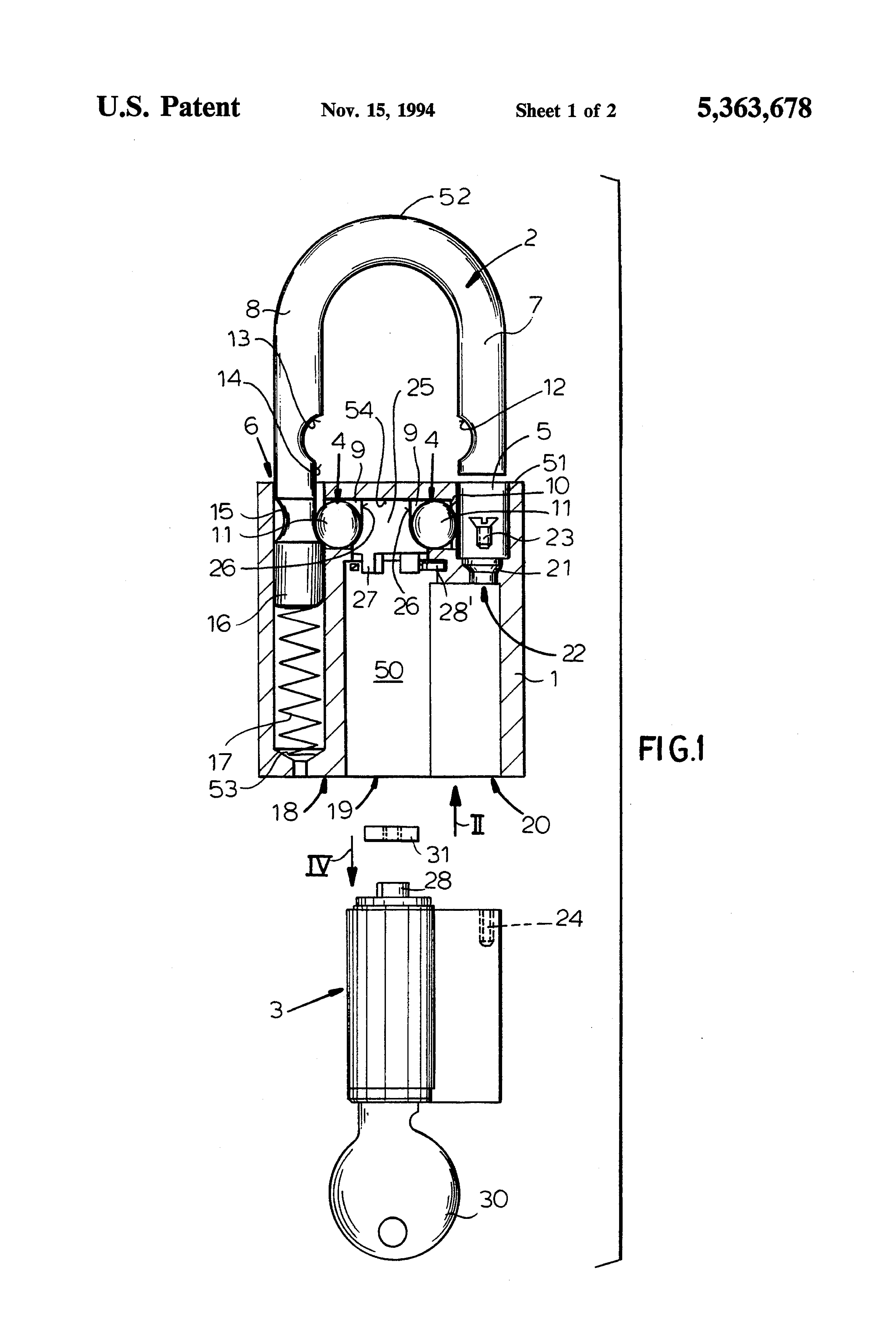
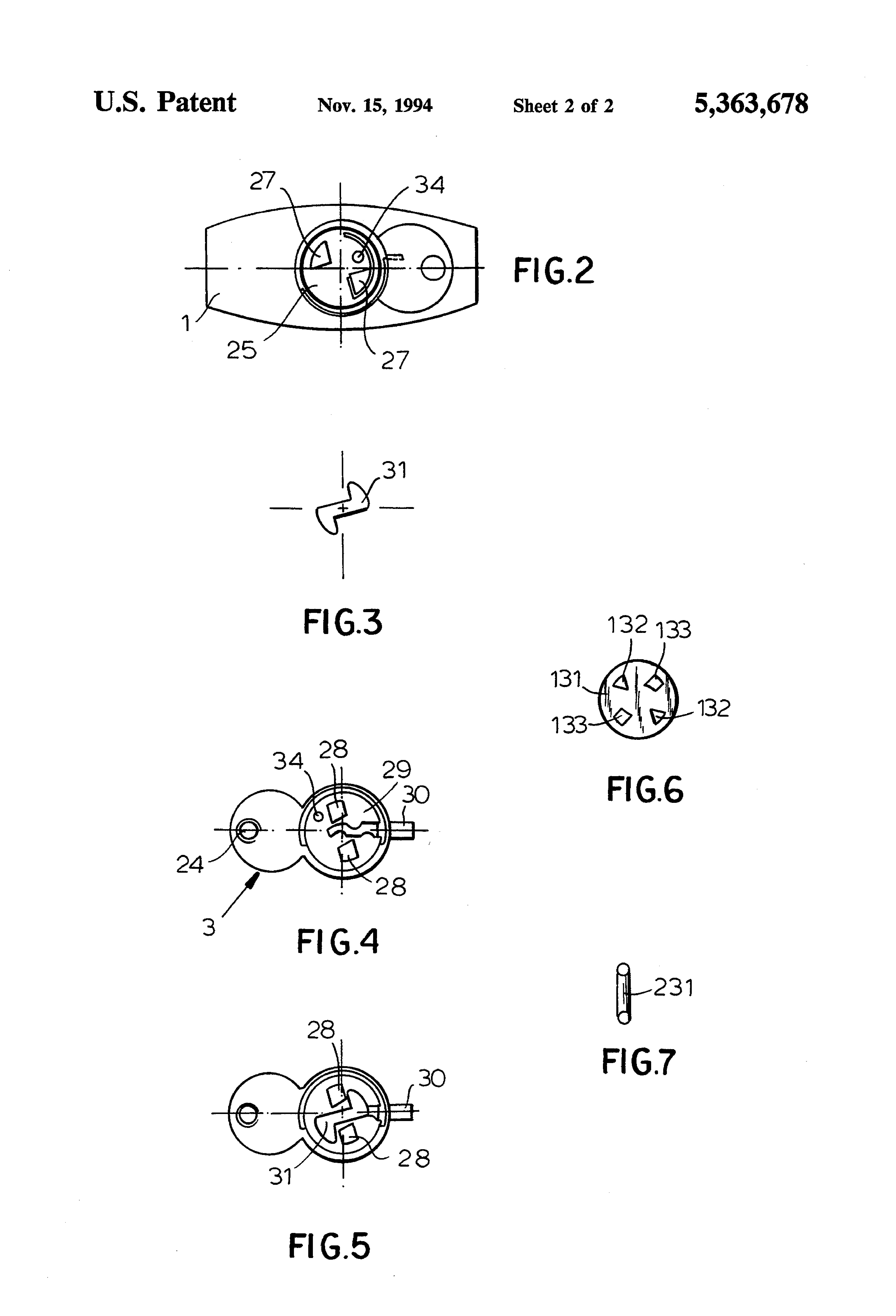
Padlock Patent — Keyed

Patent 5363678

Inventor: Gerhard Meckbach

View on USPTO / Google Patents ↗
Patent # 5363678
Issue Date 1993-04-09
Inventor Gerhard Meckbach
Assigned To ABUS August Bremicker Soehne KG
Type Keyed

Patent Drawings

Patent Details

Patent Number 5363678
Issue Date 1993-04-09
Inventor Gerhard Meckbach
Assigned To ABUS August Bremicker Soehne KG
Patent Type Keyed
External Link https://patents.google.com/patent/US5363678/en ↗
↑ Back to Patent Database