Est. March 2001 ·
10,247
Listings on File
Antique Padlocks
A Virtual Repository · James Brady
Home
›
Patent Database
›
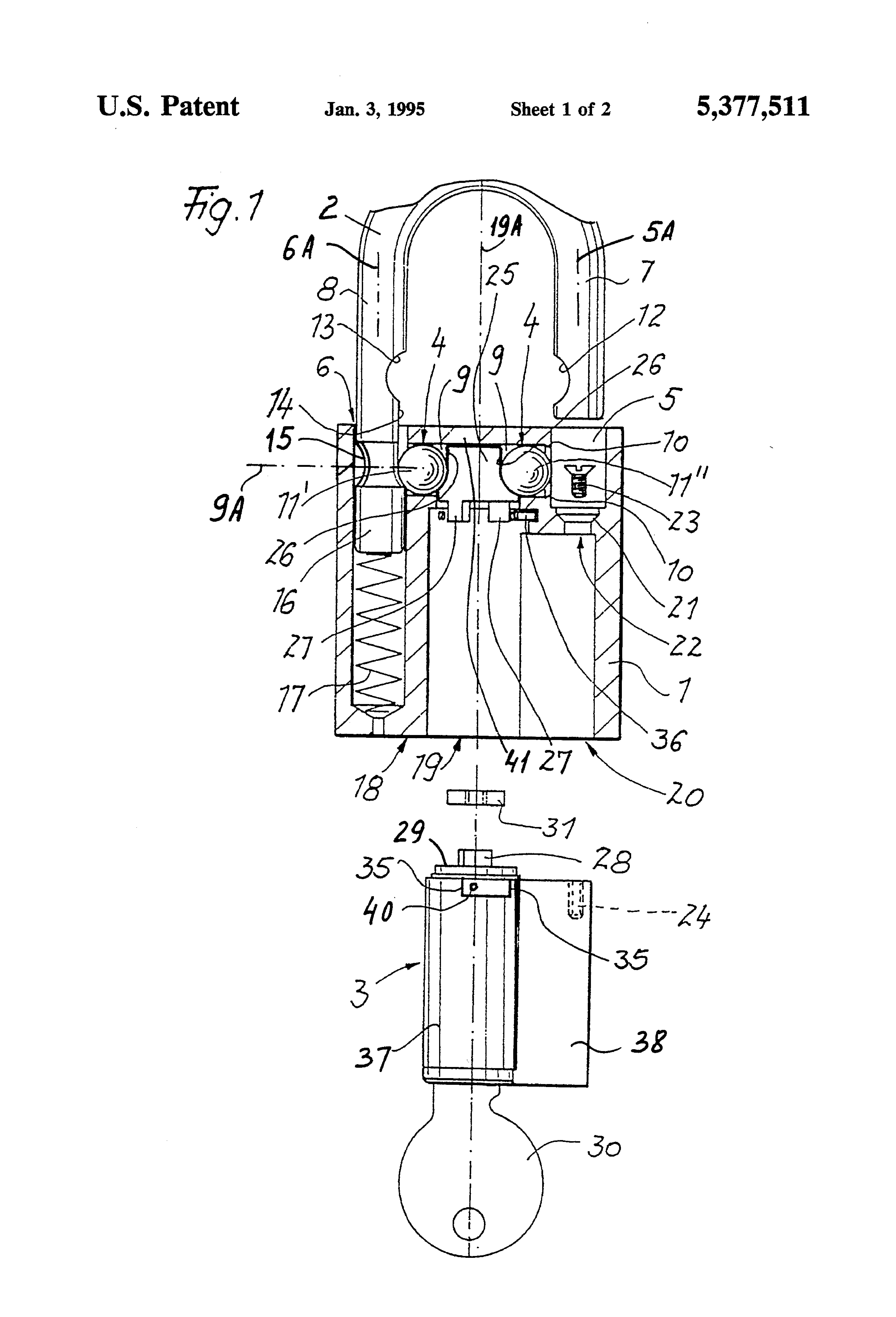
Patent 5377511
Padlock Patent — Keyed
Patent 5377511
Inventor:
Gerhard Meckbach
View on USPTO / Google Patents ↗
Patent #
5377511
Issue Date
1993-09-24
Inventor
Gerhard Meckbach
Assigned To
ABUS August Bremicker Soehne KG
Type
Keyed
Patent Drawings
Drawing 1
Drawing 2
Drawing 3
Patent Details
Patent Number
5377511
Issue Date
1993-09-24
Inventor
Gerhard Meckbach
Assigned To
ABUS August Bremicker Soehne KG
Patent Type
Keyed
External Link
https://patents.google.com/patent/US5377511/en ↗
← 5394711
↑ Back to Patent Database
5394711 →