Est. March 2001 ·
10,247
Listings on File
Antique Padlocks
A Virtual Repository · James Brady
Home
›
Patent Database
›
Patent 5359867
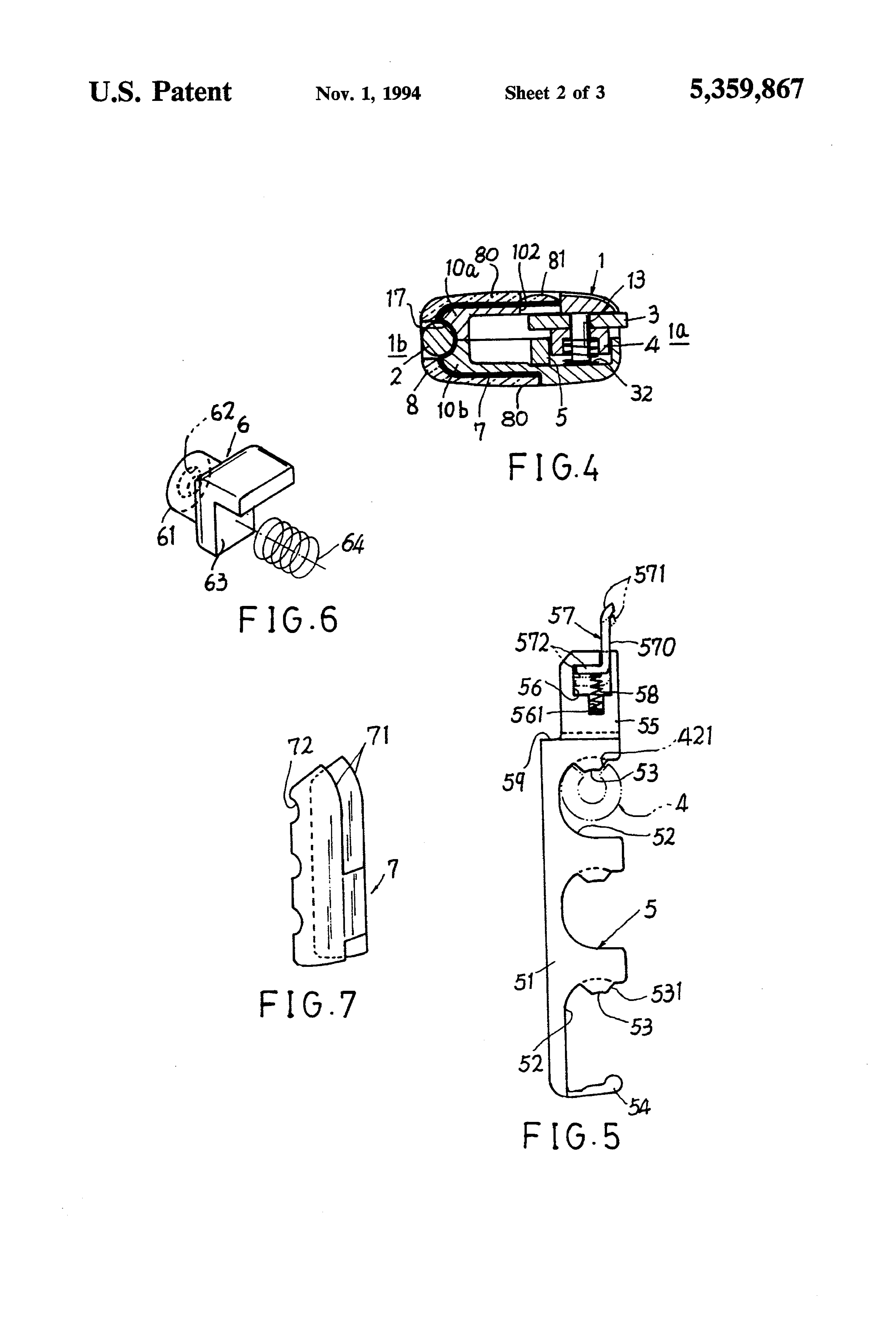
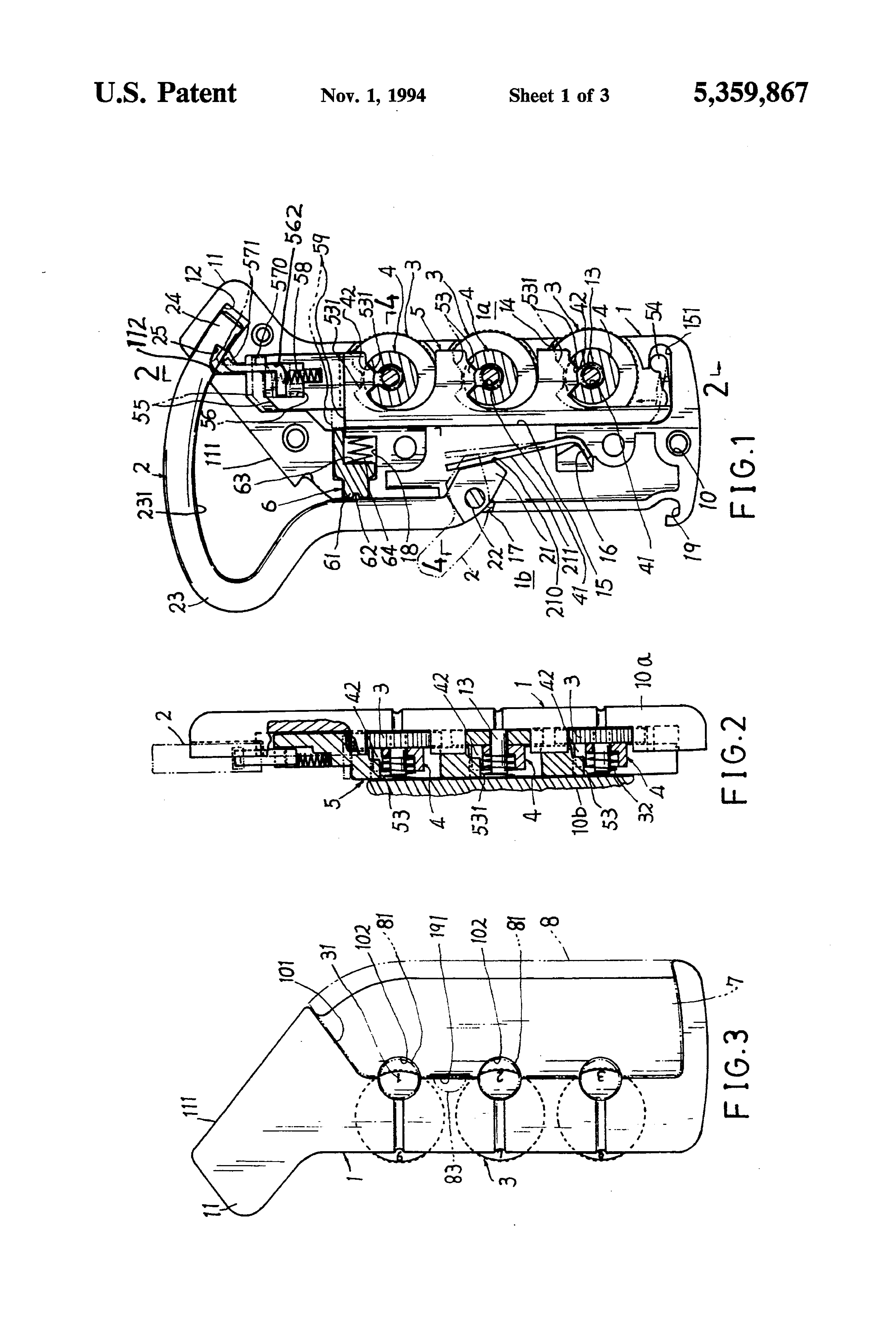
Padlock Patent — Combo
Patent 5359867
Inventor:
Chong-Kuan Ling
View on USPTO / Google Patents ↗
Patent #
5359867
Issue Date
1992-09-25
Inventor
Chong-Kuan Ling
Assigned To
Samsonite Corp
Type
Combo
Patent Drawings
Drawing 1
Drawing 2
Drawing 3
Patent Details
Patent Number
5359867
Issue Date
1992-09-25
Inventor
Chong-Kuan Ling
Assigned To
Samsonite Corp
Patent Type
Combo
External Link
https://patents.google.com/patent/US5359867/en ↗
← 5363678
↑ Back to Patent Database
5363678 →