Est. March 2001 ·
10,247
Listings on File
Antique Padlocks
A Virtual Repository · James Brady
Home
›
Patent Database
›
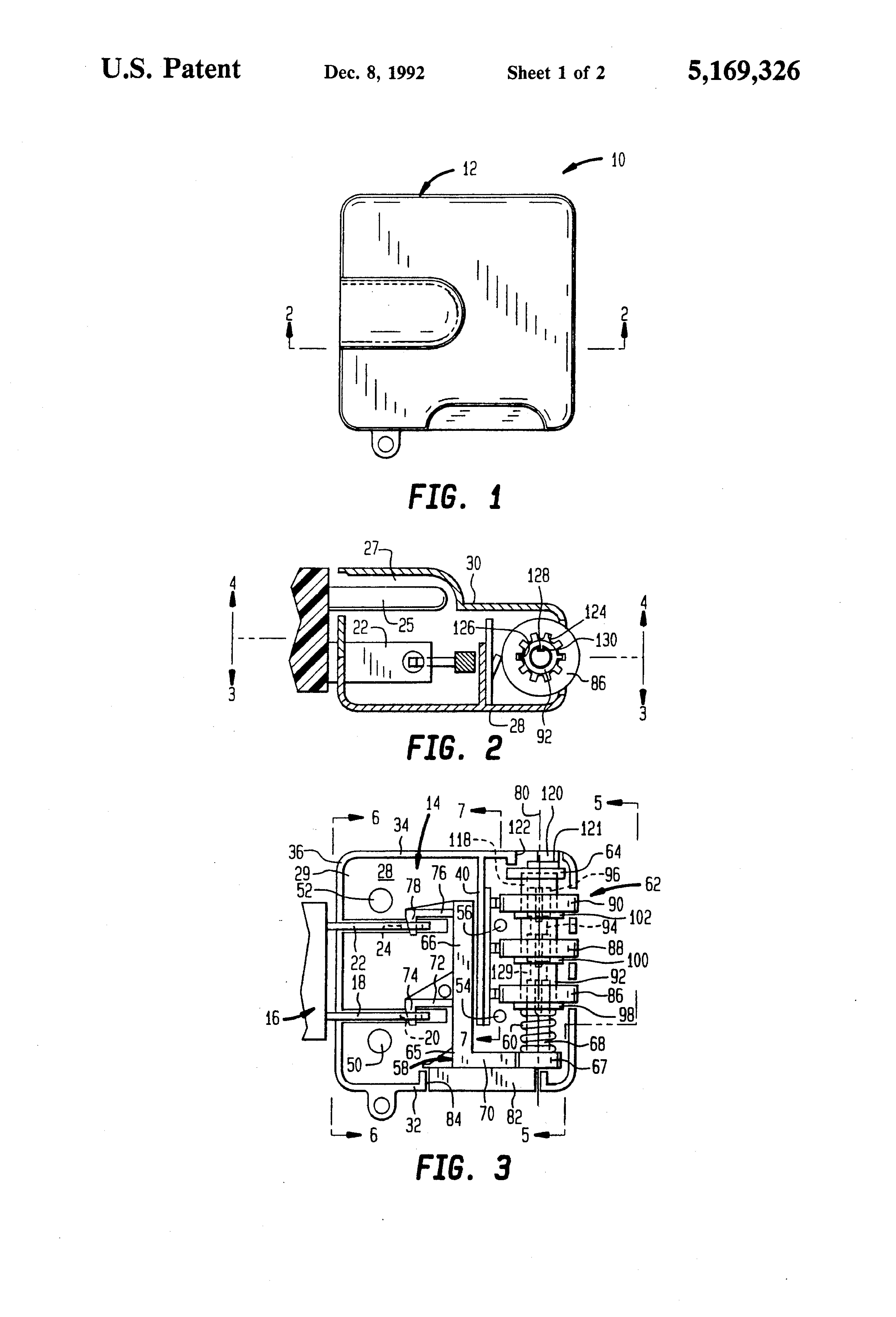
Patent 5169326
Padlock Patent — Combo
Patent 5169326
Inventor:
Theodore J. Werner
View on USPTO / Google Patents ↗
Patent #
5169326
Issue Date
1992-02-03
Inventor
Theodore J. Werner
Assigned To
United States Marketing Corp
Type
Combo
Patent Drawings
Drawing 1
Drawing 2
Drawing 3
Patent Details
Patent Number
5169326
Issue Date
1992-02-03
Inventor
Theodore J. Werner
Assigned To
United States Marketing Corp
Patent Type
Combo
External Link
https://patents.google.com/patent/US5169326/en ↗
← 5170650
↑ Back to Patent Database
5170650 →