Est. March 2001 ·
10,247
Listings on File
Antique Padlocks
A Virtual Repository · James Brady
Home
›
Patent Database
›
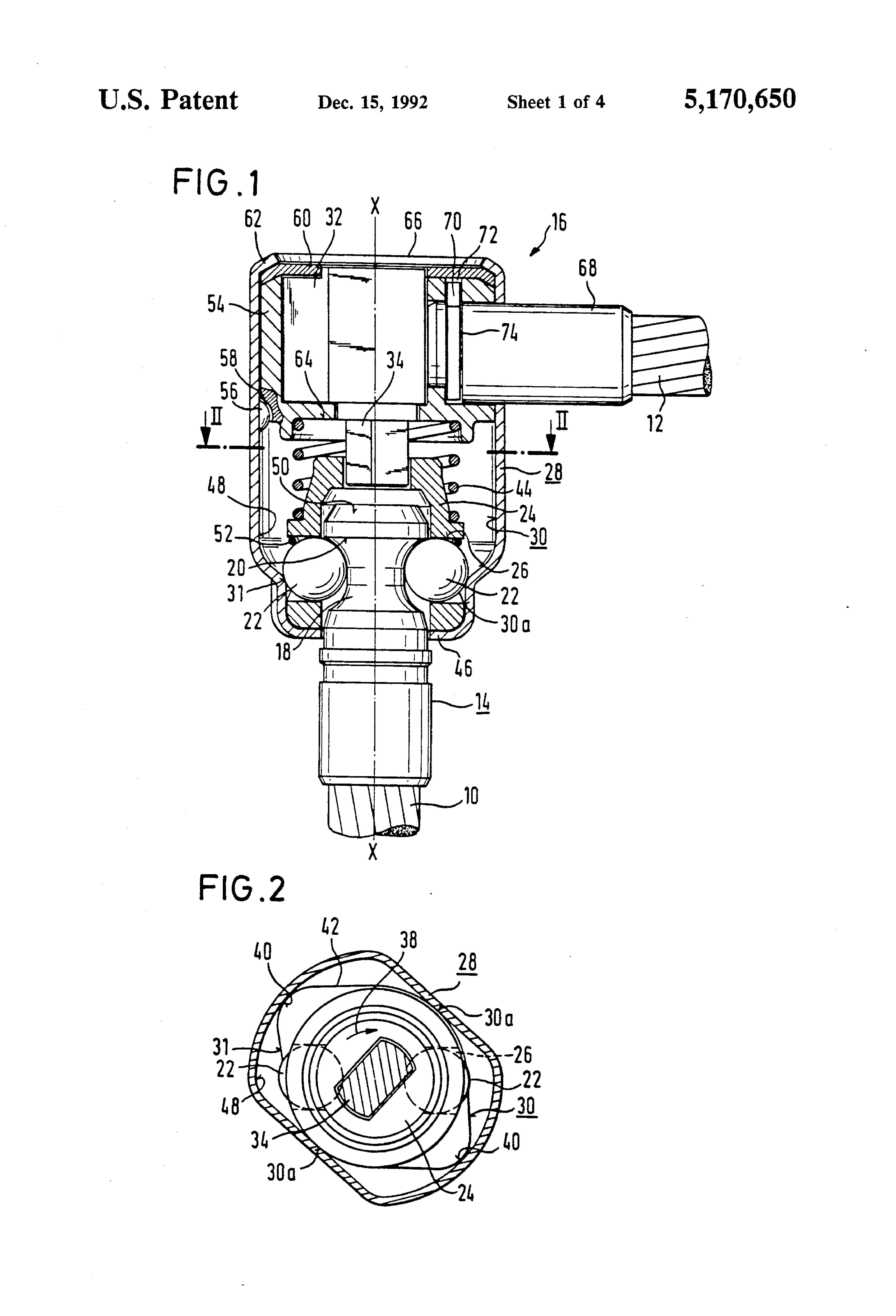
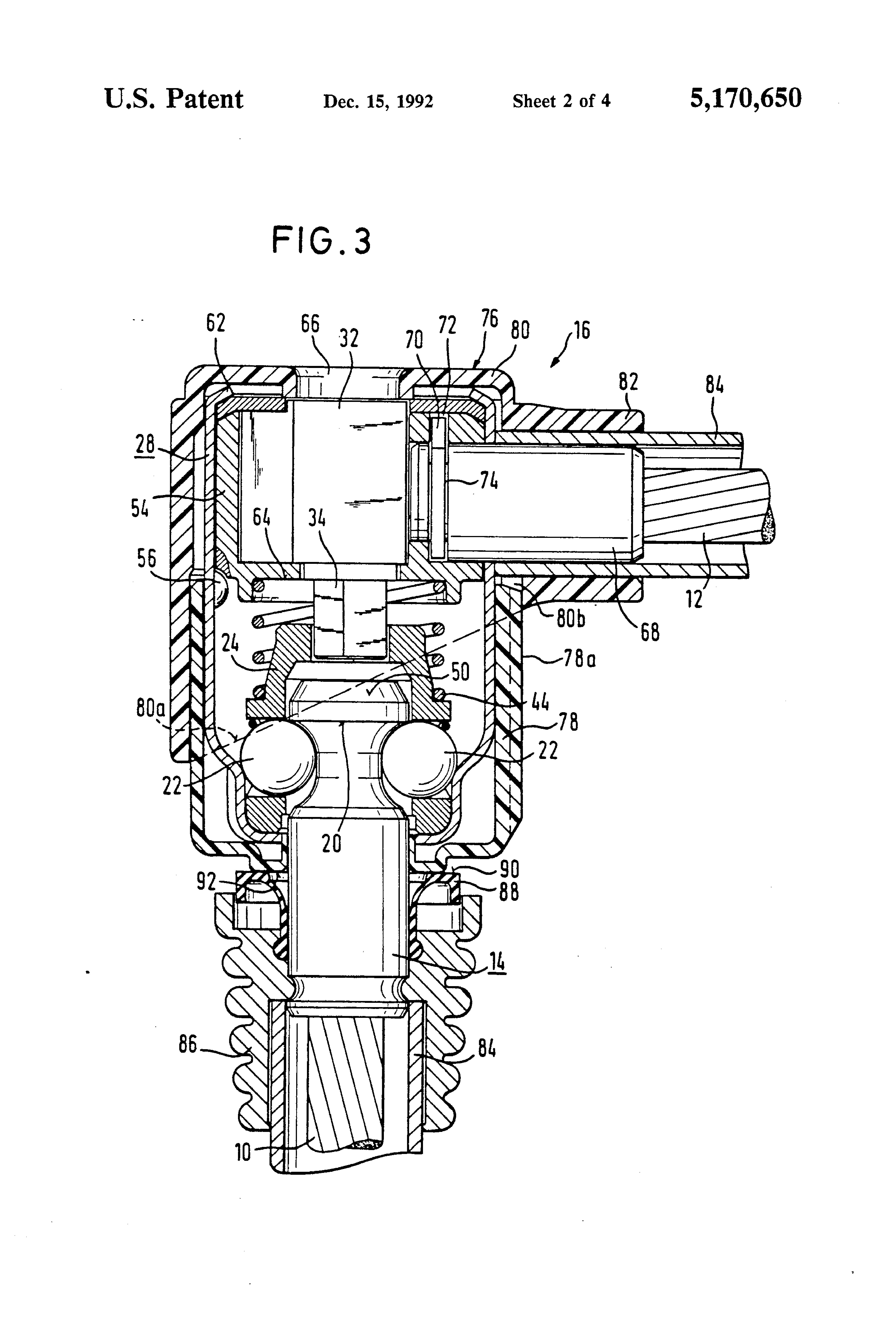
Patent 5170650
Padlock Patent — Keyed
Patent 5170650
Inventor:
Ludger Kortenbrede
View on USPTO / Google Patents ↗
Patent #
5170650
Issue Date
1990-08-28
Inventor
Ludger Kortenbrede
Assigned To
Trelock GmbH
Type
Keyed
Patent Drawings
Drawing 1
Drawing 2
Drawing 3
Patent Details
Patent Number
5170650
Issue Date
1990-08-28
Inventor
Ludger Kortenbrede
Assigned To
Trelock GmbH
Patent Type
Keyed
External Link
https://patents.google.com/patent/US5170650/en ↗
← 5174136
↑ Back to Patent Database
5174136 →