Est. March 2001  ·  10,247 Listings on File

Padlock Patent — Combo

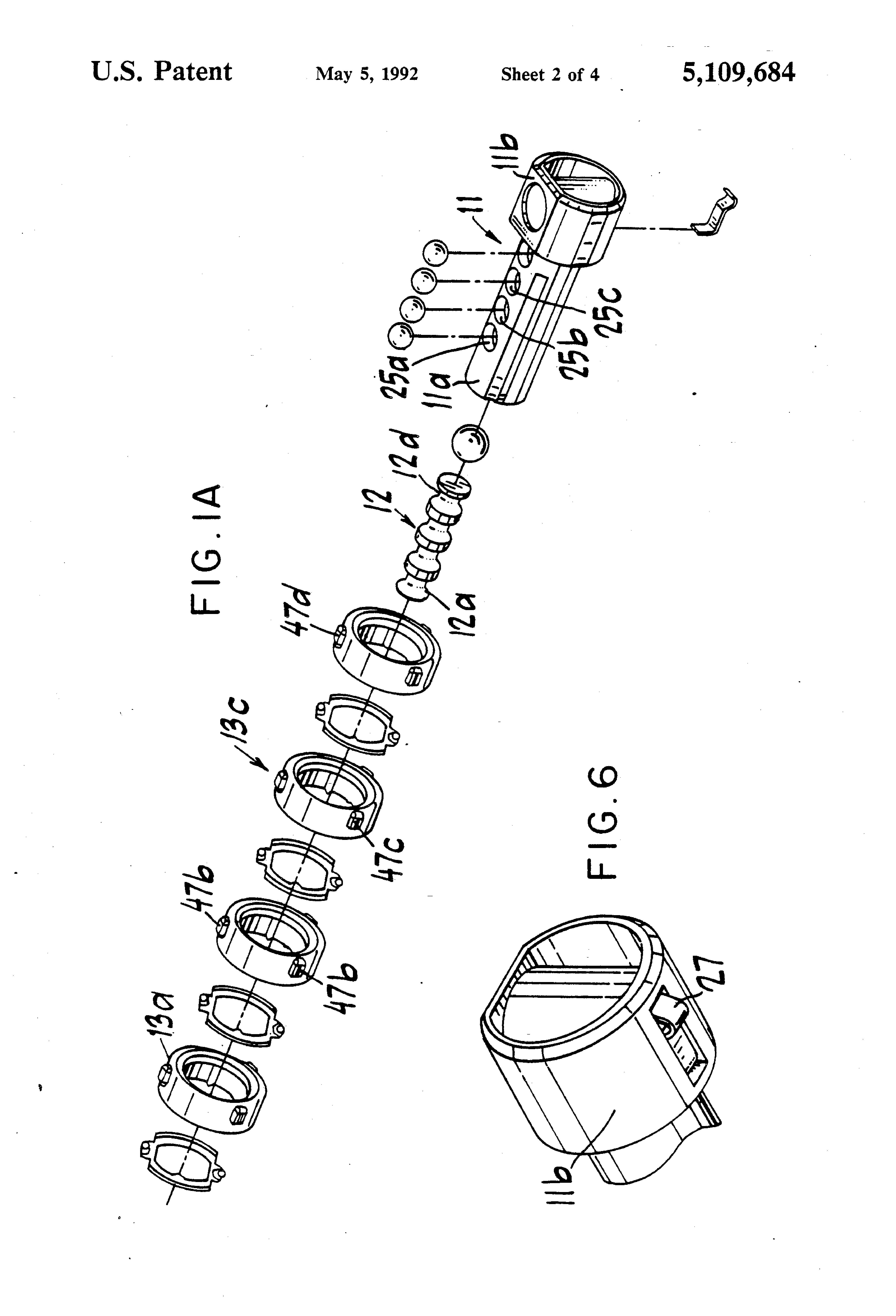
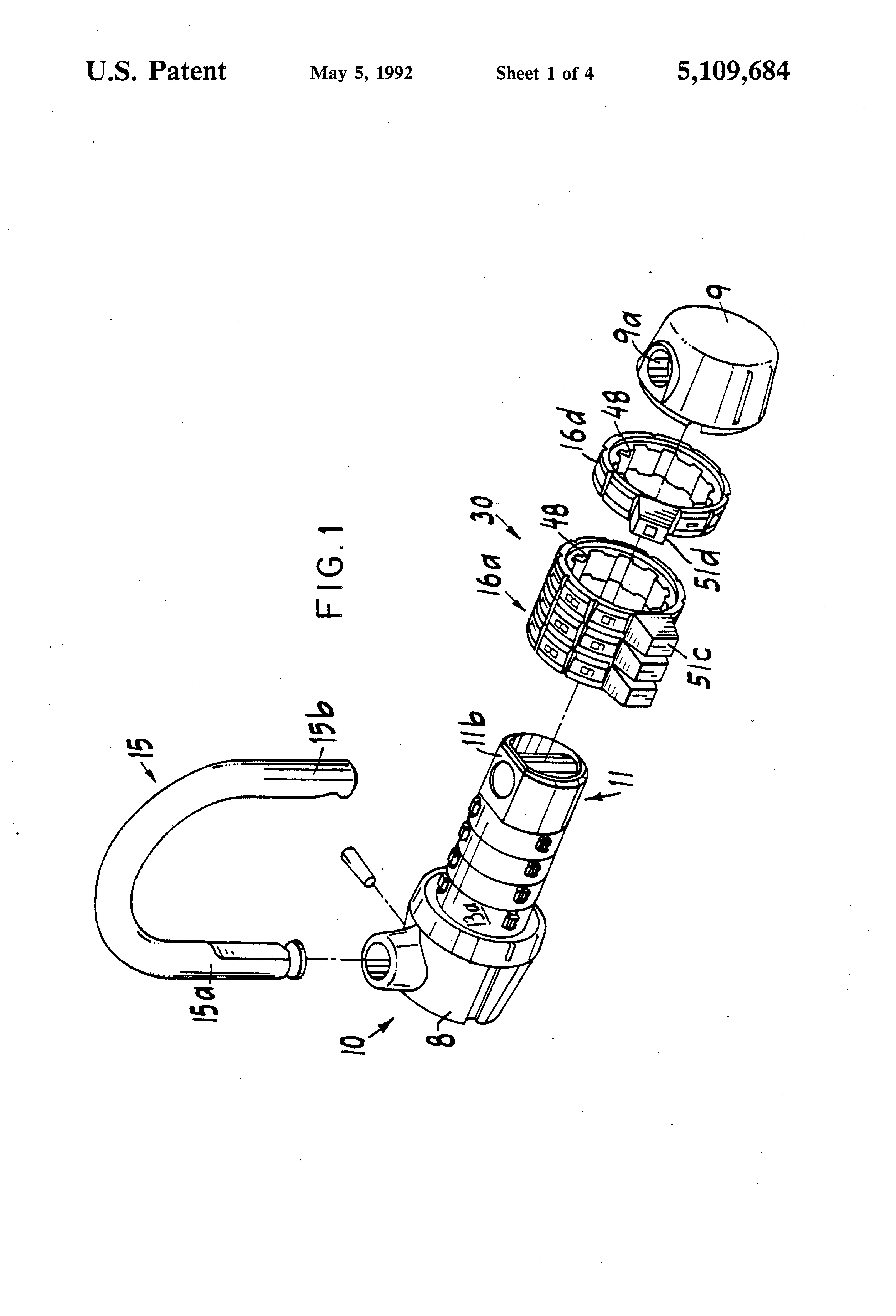
Patent 5109684

Inventor: Kenneth N. Grandy, Sr.

View on USPTO / Google Patents ↗
Patent # 5109684
Issue Date 1991-04-18
Inventor Kenneth N. Grandy, Sr.
Assigned To Master Lock Co LLC
Type Combo

Patent Drawings

Patent Details

Patent Number 5109684
Issue Date 1991-04-18
Inventor Kenneth N. Grandy, Sr.
Assigned To Master Lock Co LLC
Patent Type Combo
External Link https://patents.google.com/patent/US5109684/en ↗
↑ Back to Patent Database