Est. March 2001 ·
10,247
Listings on File
Antique Padlocks
A Virtual Repository · James Brady
Home
›
Patent Database
›
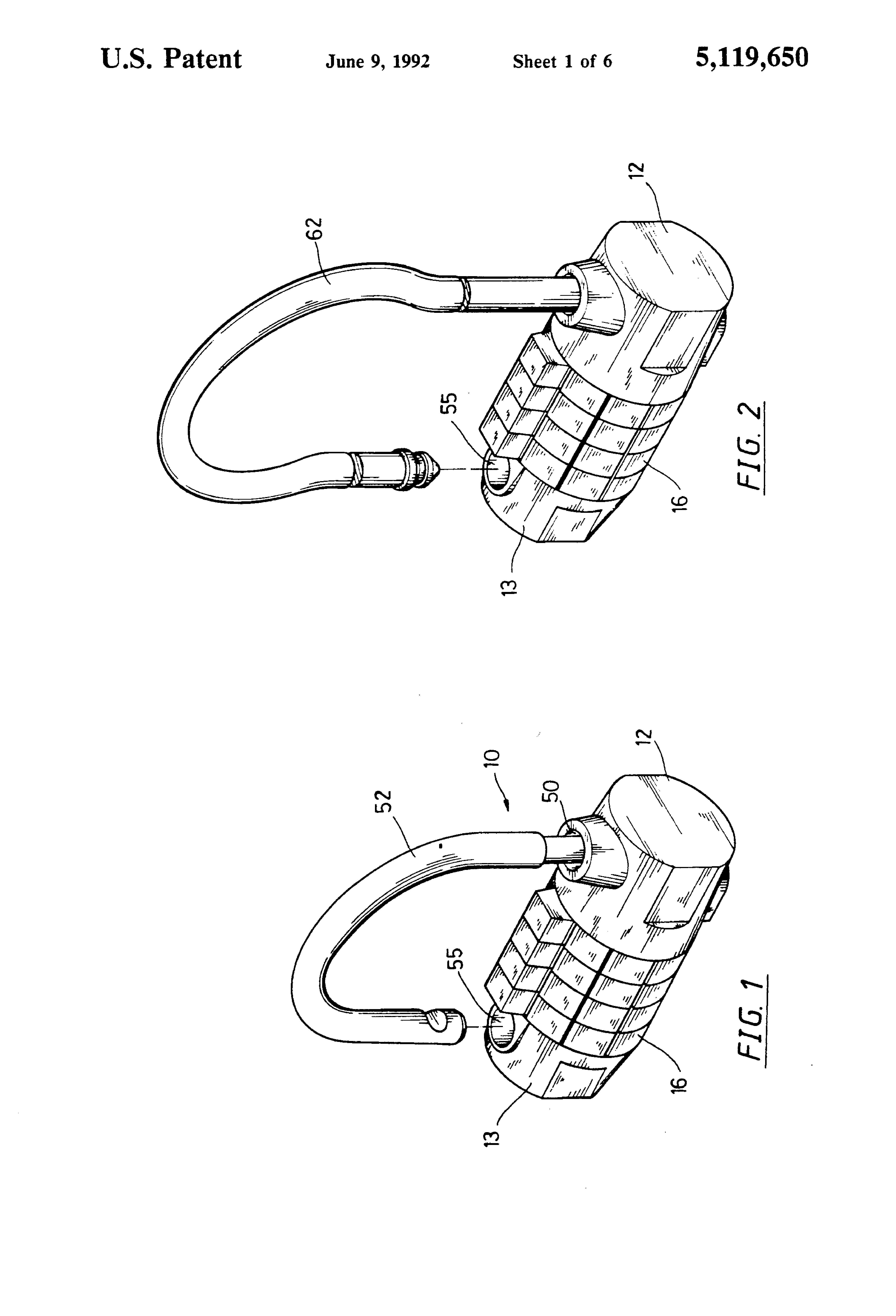
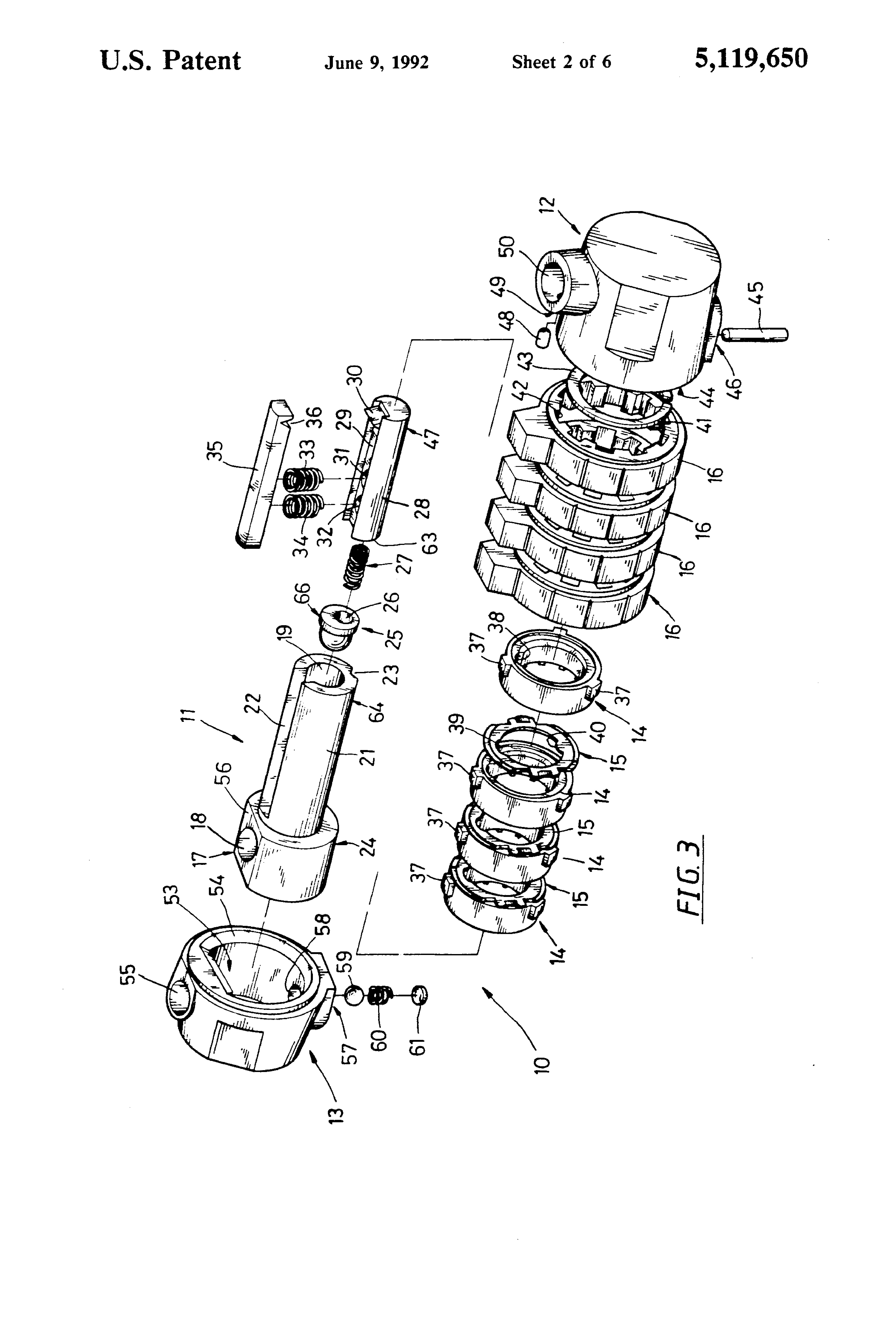
Patent 5119650
Padlock Patent — Combo
Patent 5119650
Inventor:
Tzung-I Lo
View on USPTO / Google Patents ↗
Patent #
5119650
Issue Date
1991-08-28
Inventor
Tzung-I Lo
Type
Combo
Patent Drawings
Drawing 1
Drawing 2
Drawing 3
Patent Details
Patent Number
5119650
Issue Date
1991-08-28
Inventor
Tzung-I Lo
Patent Type
Combo
External Link
https://patents.google.com/patent/US5119650/en ↗
← 5123267
↑ Back to Patent Database
5123267 →