Est. March 2001  ·  10,247 Listings on File

Padlock Patent — Combo

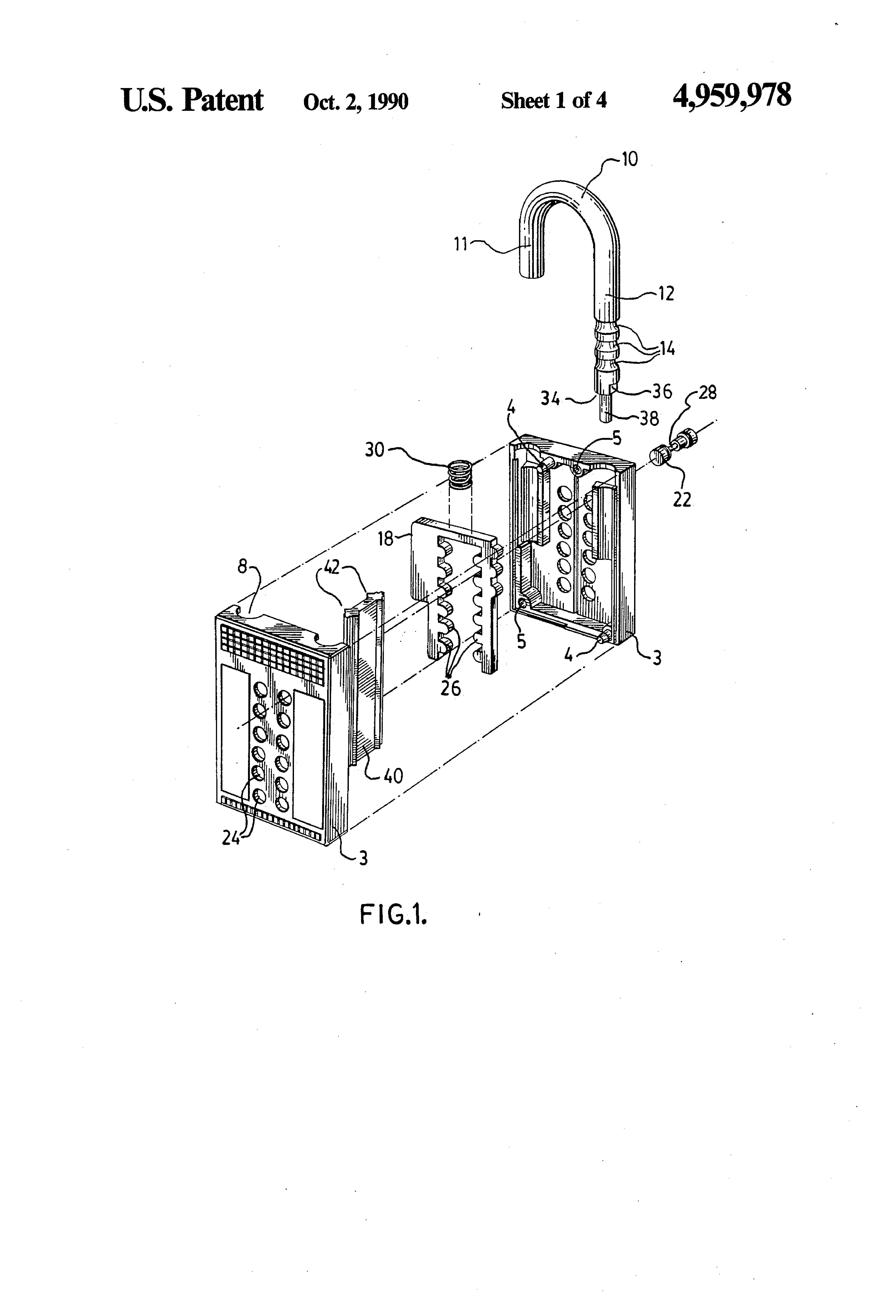
Patent 4959978

Inventor: Mitchell G. Cappell

View on USPTO / Google Patents ↗
Patent # 4959978
Issue Date 1989-10-20
Inventor Mitchell G. Cappell
Type Combo

Patent Drawings

Patent Details

Patent Number 4959978
Issue Date 1989-10-20
Inventor Mitchell G. Cappell
Patent Type Combo
External Link https://patents.google.com/patent/US4959978/en ↗
↑ Back to Patent Database