Est. March 2001 ·
10,247
Listings on File
Antique Padlocks
A Virtual Repository · James Brady
Home
›
Patent Database
›
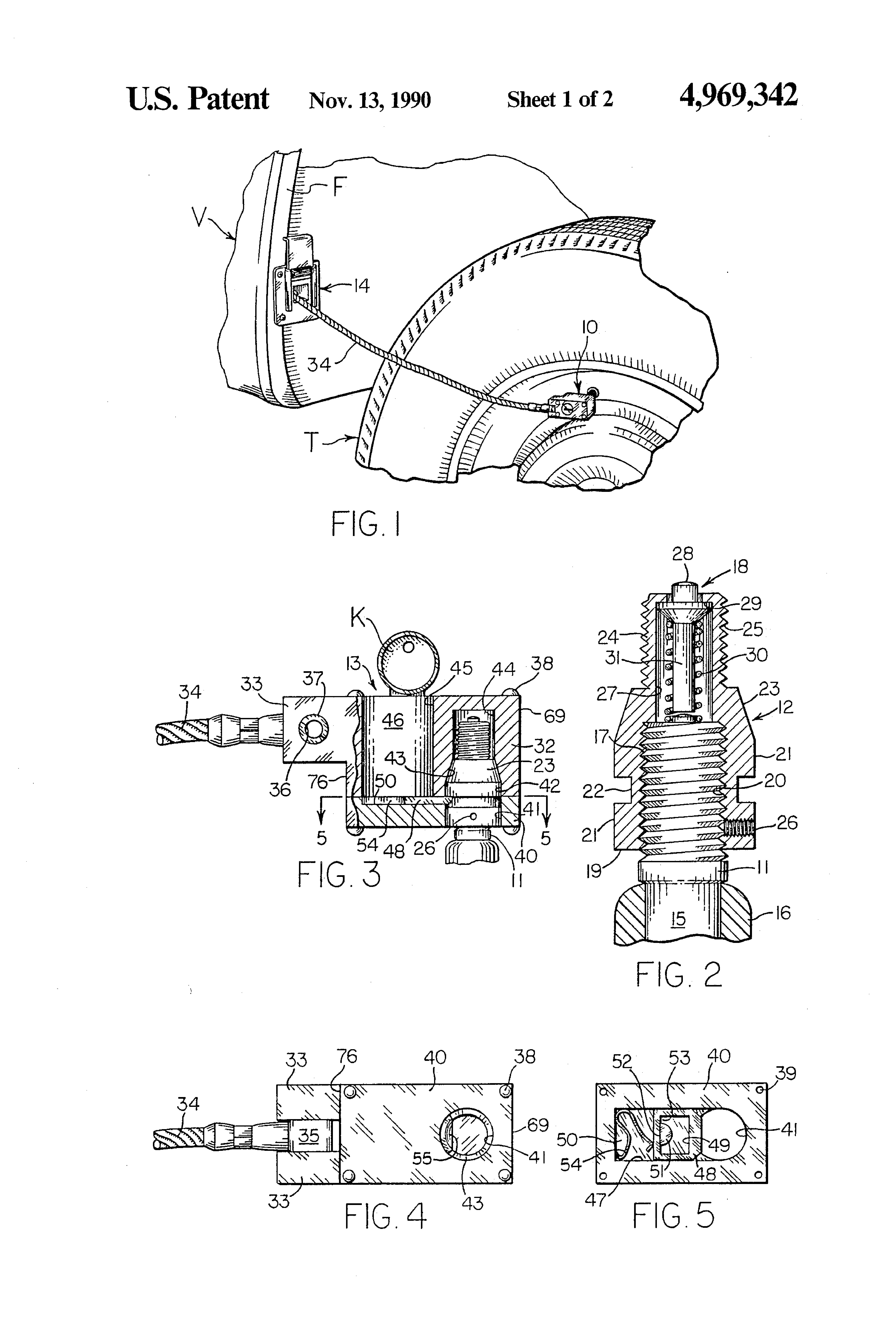
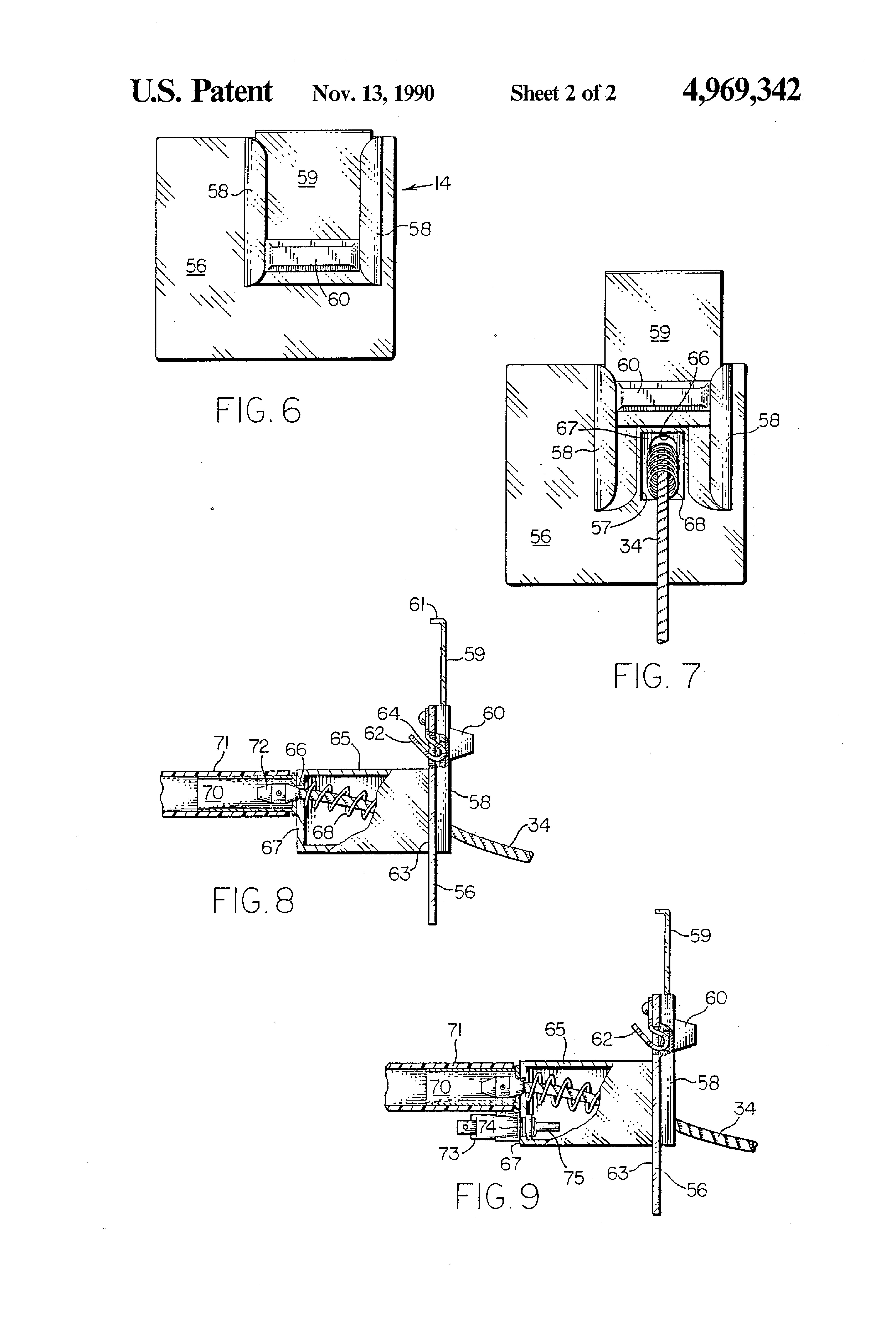
Patent 4969342
Padlock Patent — Keyed
Patent 4969342
Inventor:
David P. Marchiori
View on USPTO / Google Patents ↗
Patent #
4969342
Issue Date
1989-09-05
Inventor
David P. Marchiori
Type
Keyed
Patent Drawings
Drawing 1
Drawing 2
Drawing 3
Patent Details
Patent Number
4969342
Issue Date
1989-09-05
Inventor
David P. Marchiori
Patent Type
Keyed
External Link
https://patents.google.com/patent/US4969342/en ↗
← 4970881
↑ Back to Patent Database
4970881 →