Est. March 2001 ·
10,247
Listings on File
Antique Padlocks
A Virtual Repository · James Brady
Home
›
Patent Database
›
Patent 4955932
Padlock Patent — Keyed
Patent 4955932
Inventor:
Anatoly Kofman
View on USPTO / Google Patents ↗
Patent #
4955932
Issue Date
1990-04-02
Inventor
Anatoly Kofman
Type
Keyed
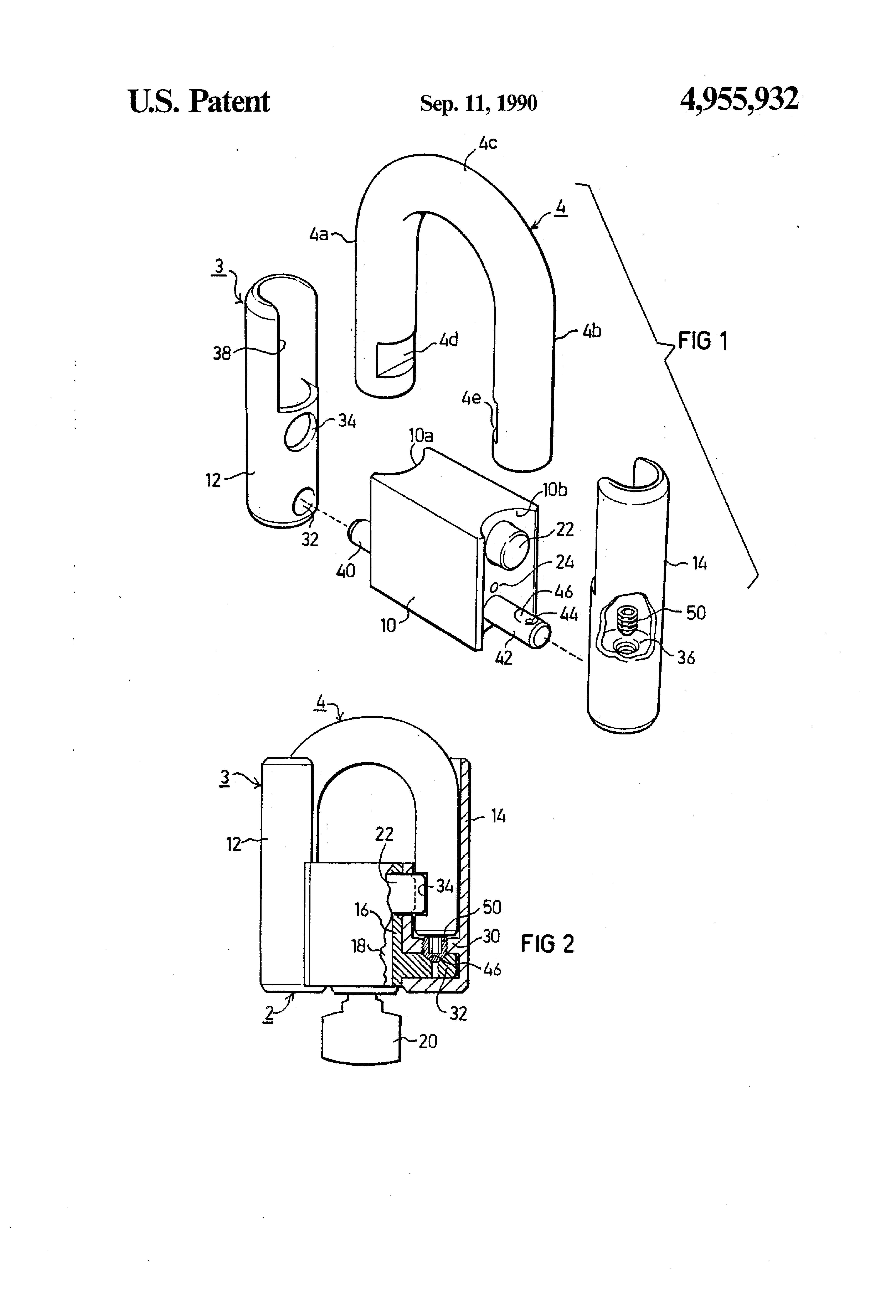
Patent Drawings
Drawing 1
Drawing 2
Drawing 3
Patent Details
Patent Number
4955932
Issue Date
1990-04-02
Inventor
Anatoly Kofman
Patent Type
Keyed
External Link
https://patents.google.com/patent/US4955932/en ↗
← 4959978
↑ Back to Patent Database
4959978 →