Est. March 2001  ·  10,247 Listings on File

Padlock Patent — Keyed

Patent 4905486

Inventor: Paul Appelbaum

View on USPTO / Google Patents ↗
Patent # 4905486
Issue Date 1989-01-30
Inventor Paul Appelbaum
Type Keyed

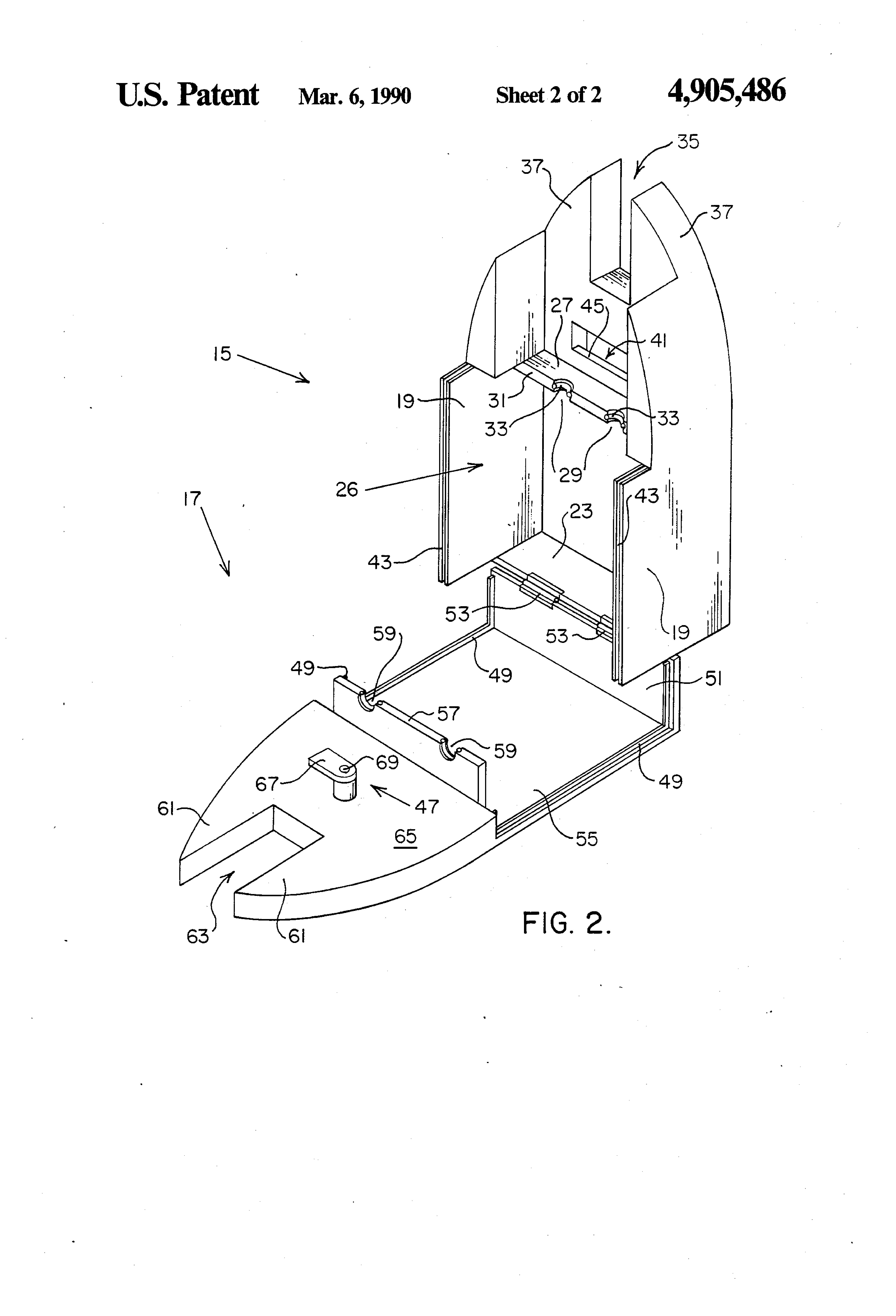
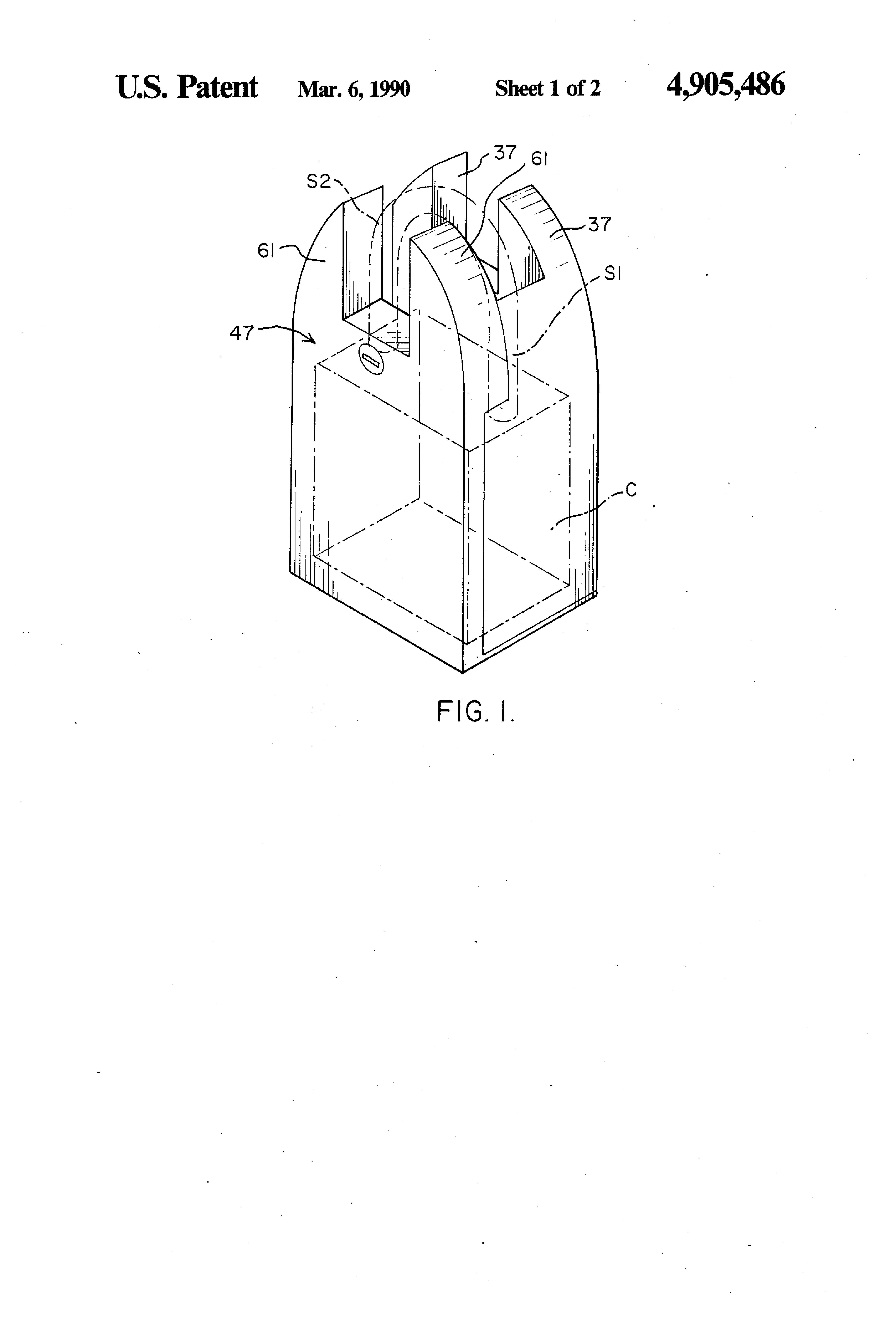
Patent Drawings

Patent Details

Patent Number 4905486
Issue Date 1989-01-30
Inventor Paul Appelbaum
Patent Type Keyed
External Link https://patents.google.com/patent/US4905486/en ↗
↑ Back to Patent Database