Est. March 2001 ·
10,247
Listings on File
Antique Padlocks
A Virtual Repository · James Brady
Home
›
Patent Database
›
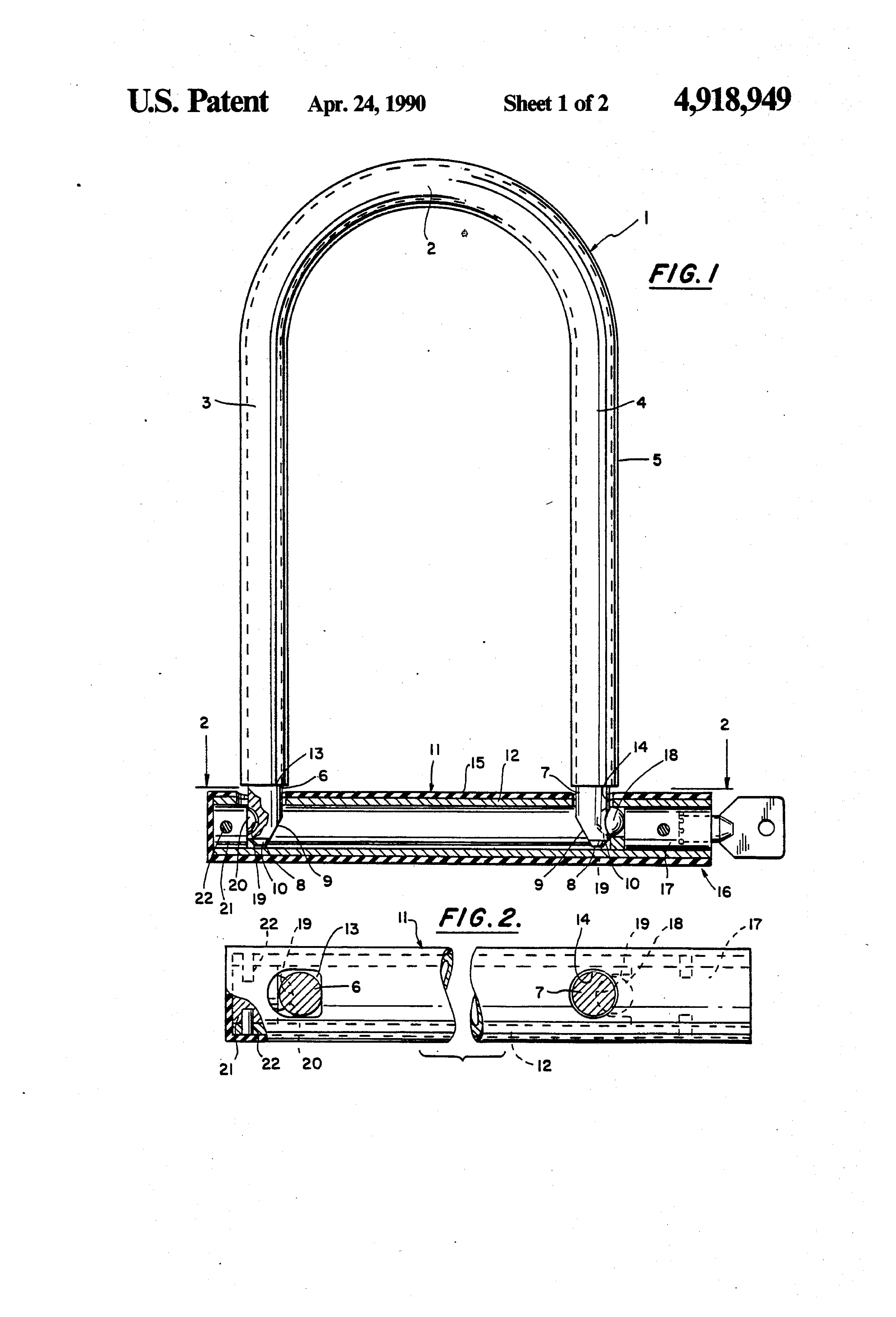
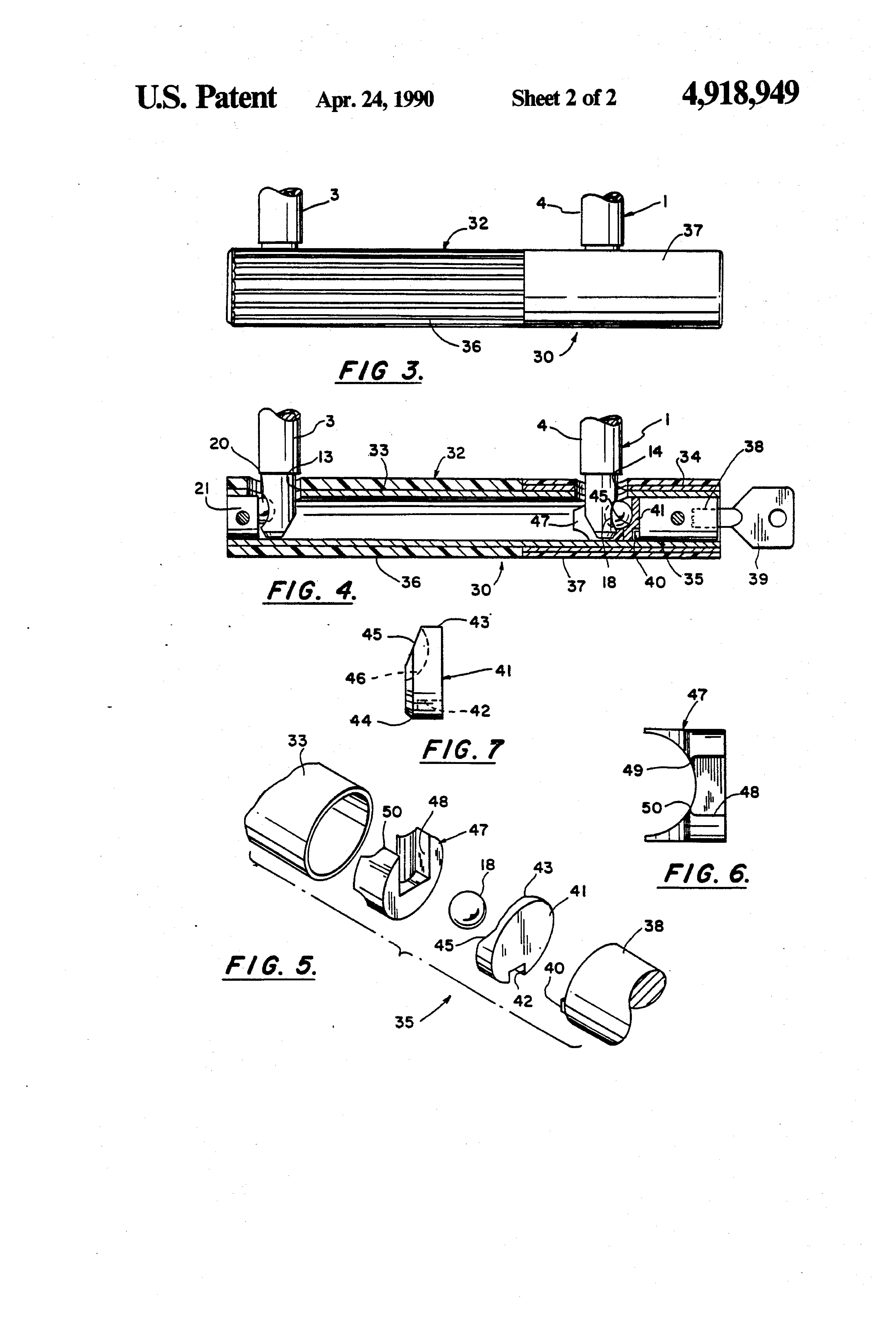
Patent 4918949
Padlock Patent — Keyed
Patent 4918949
Inventor:
Dixon Newbold
View on USPTO / Google Patents ↗
Patent #
4918949
Issue Date
1988-03-25
Inventor
Dixon Newbold
Assigned To
RHODE GEAR USA
Type
Keyed
Patent Drawings
Drawing 1
Drawing 2
Drawing 3
Patent Details
Patent Number
4918949
Issue Date
1988-03-25
Inventor
Dixon Newbold
Assigned To
RHODE GEAR USA
Patent Type
Keyed
External Link
https://patents.google.com/patent/US4918949/en ↗
← 4938039
↑ Back to Patent Database
4938039 →