Est. March 2001  ·  10,247 Listings on File

Padlock Patent — Combo

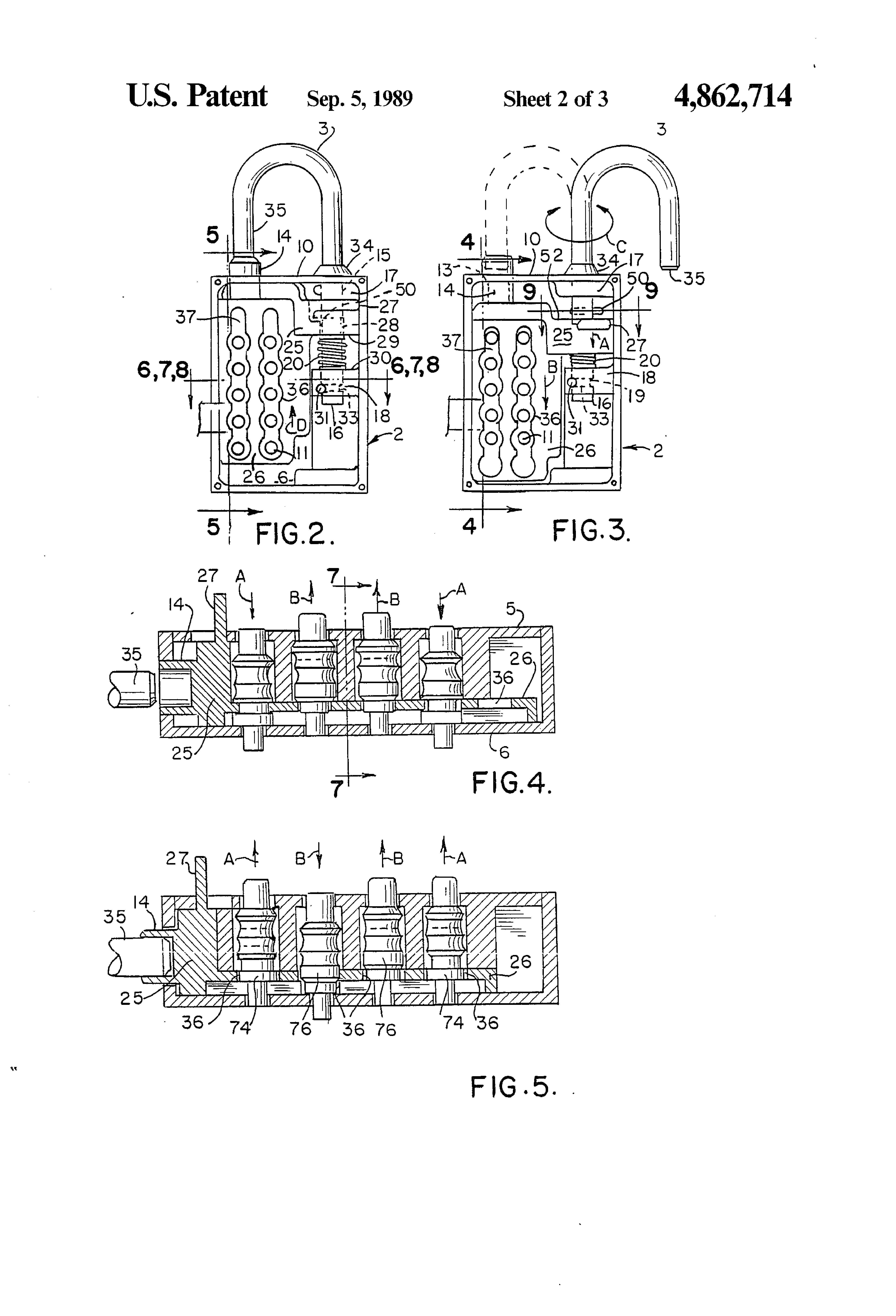
Patent 4862714

Inventor: Jewell A. Taylor

View on USPTO / Google Patents ↗
Patent # 4862714
Issue Date 1988-07-18
Inventor Jewell A. Taylor
Assigned To Stop Lock Inc
Type Combo

Patent Drawings

Patent Details

Patent Number 4862714
Issue Date 1988-07-18
Inventor Jewell A. Taylor
Assigned To Stop Lock Inc
Patent Type Combo
External Link https://patents.google.com/patent/US4862714/en ↗
↑ Back to Patent Database