Est. March 2001 ·
10,247
Listings on File
Antique Padlocks
A Virtual Repository · James Brady
Home
›
Patent Database
›
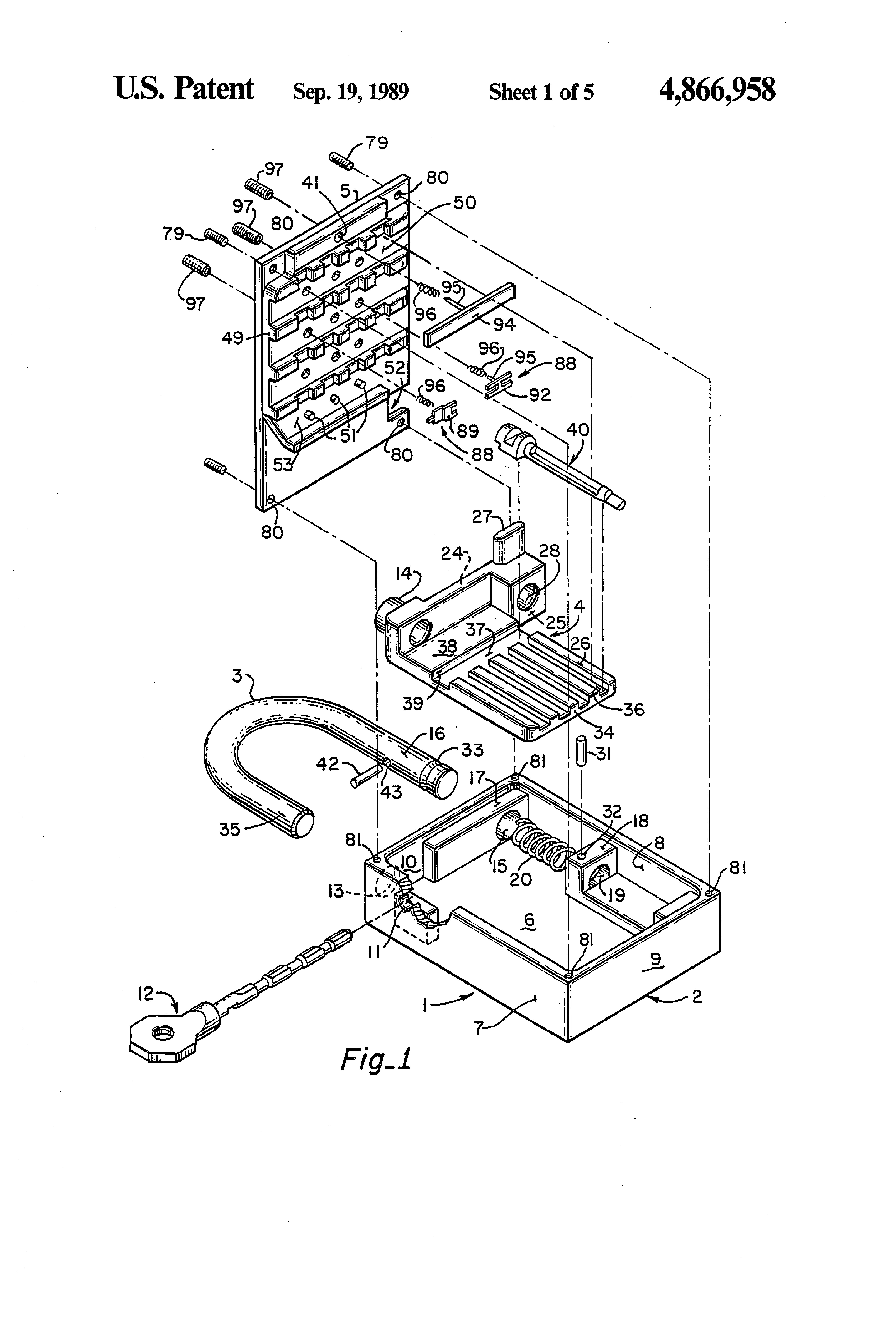
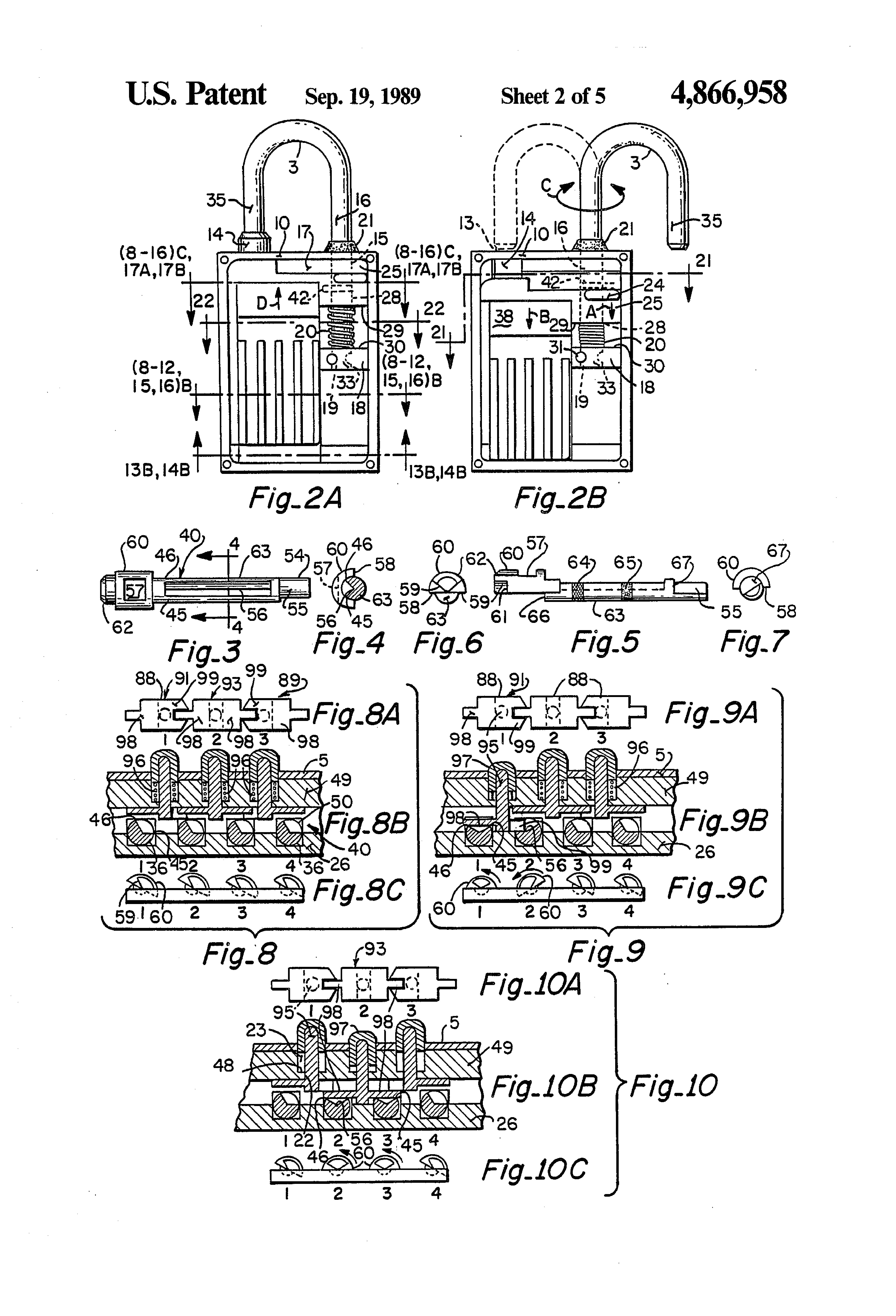
Patent 4866958
Padlock Patent — Combo
Patent 4866958
Inventor:
Robert J. Bretl
View on USPTO / Google Patents ↗
Patent #
4866958
Issue Date
1988-08-26
Inventor
Robert J. Bretl
Assigned To
Stop Lock Inc
Type
Combo
Patent Drawings
Drawing 1
Drawing 2
Drawing 3
Patent Details
Patent Number
4866958
Issue Date
1988-08-26
Inventor
Robert J. Bretl
Assigned To
Stop Lock Inc
Patent Type
Combo
External Link
https://patents.google.com/patent/US4866958/en ↗
← 4866959
↑ Back to Patent Database
4866959 →