Est. March 2001 ·
10,247
Listings on File
Antique Padlocks
A Virtual Repository · James Brady
Home
›
Patent Database
›
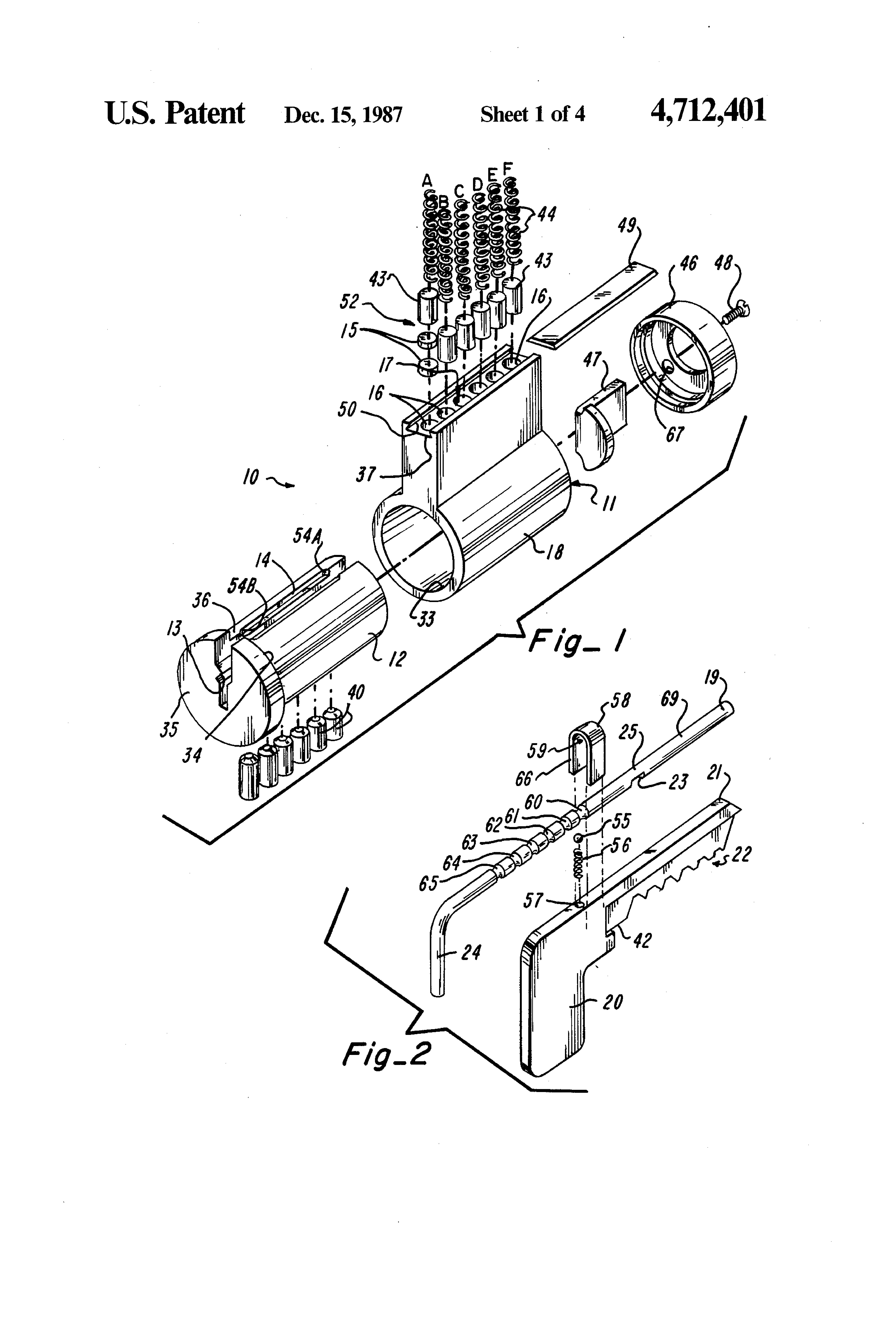
Patent 4712401
Padlock Patent — Keyed
Patent 4712401
Inventor:
Brian J. Monahan
View on USPTO / Google Patents ↗
Patent #
4712401
Issue Date
1986-07-02
Inventor
Brian J. Monahan
Type
Keyed
Patent Drawings
Drawing 1
Drawing 2
Drawing 3
Patent Details
Patent Number
4712401
Issue Date
1986-07-02
Inventor
Brian J. Monahan
Patent Type
Keyed
External Link
https://patents.google.com/patent/US4712401/en ↗
← 4718260
↑ Back to Patent Database
4718260 →