Est. March 2001  ·  10,247 Listings on File

Padlock Patent — Combo

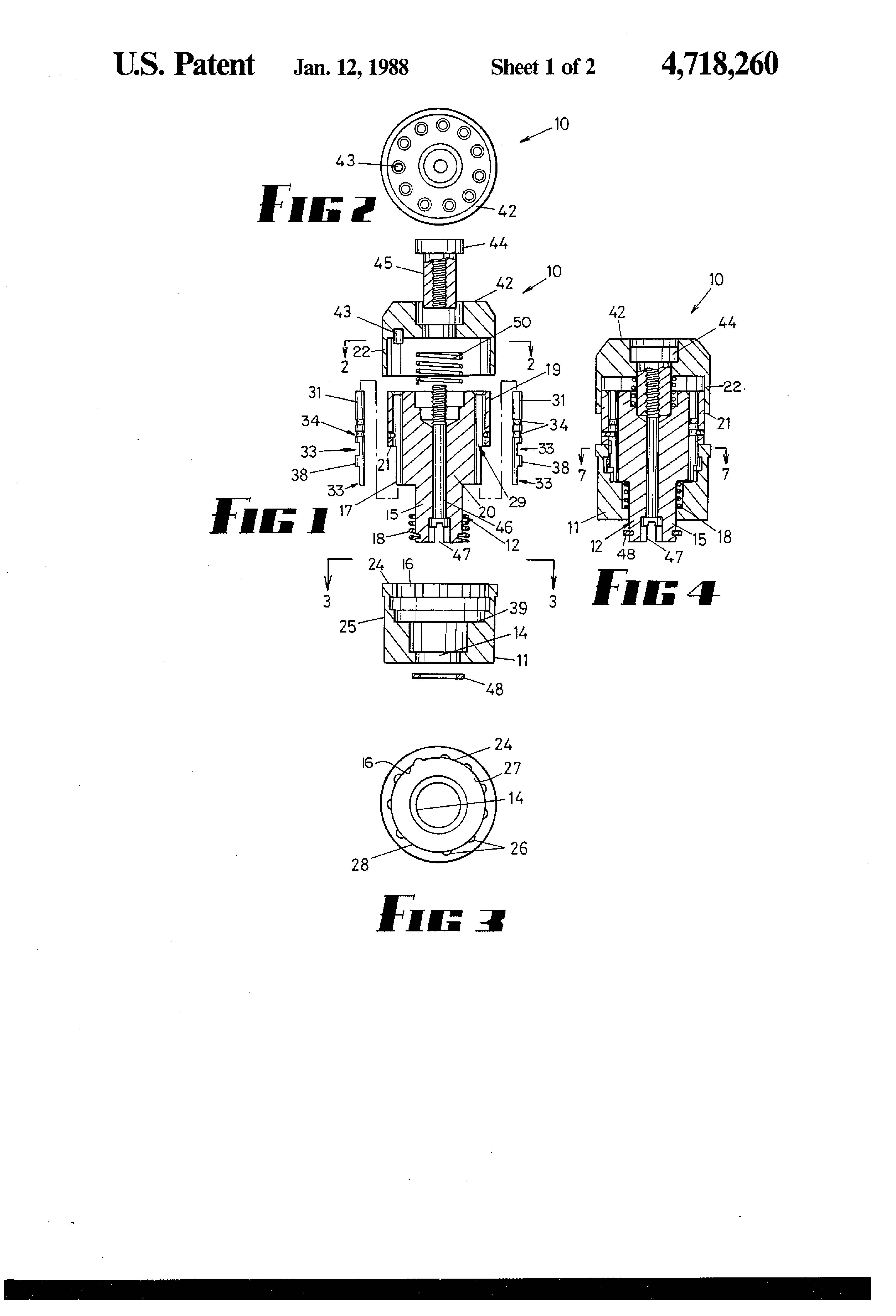
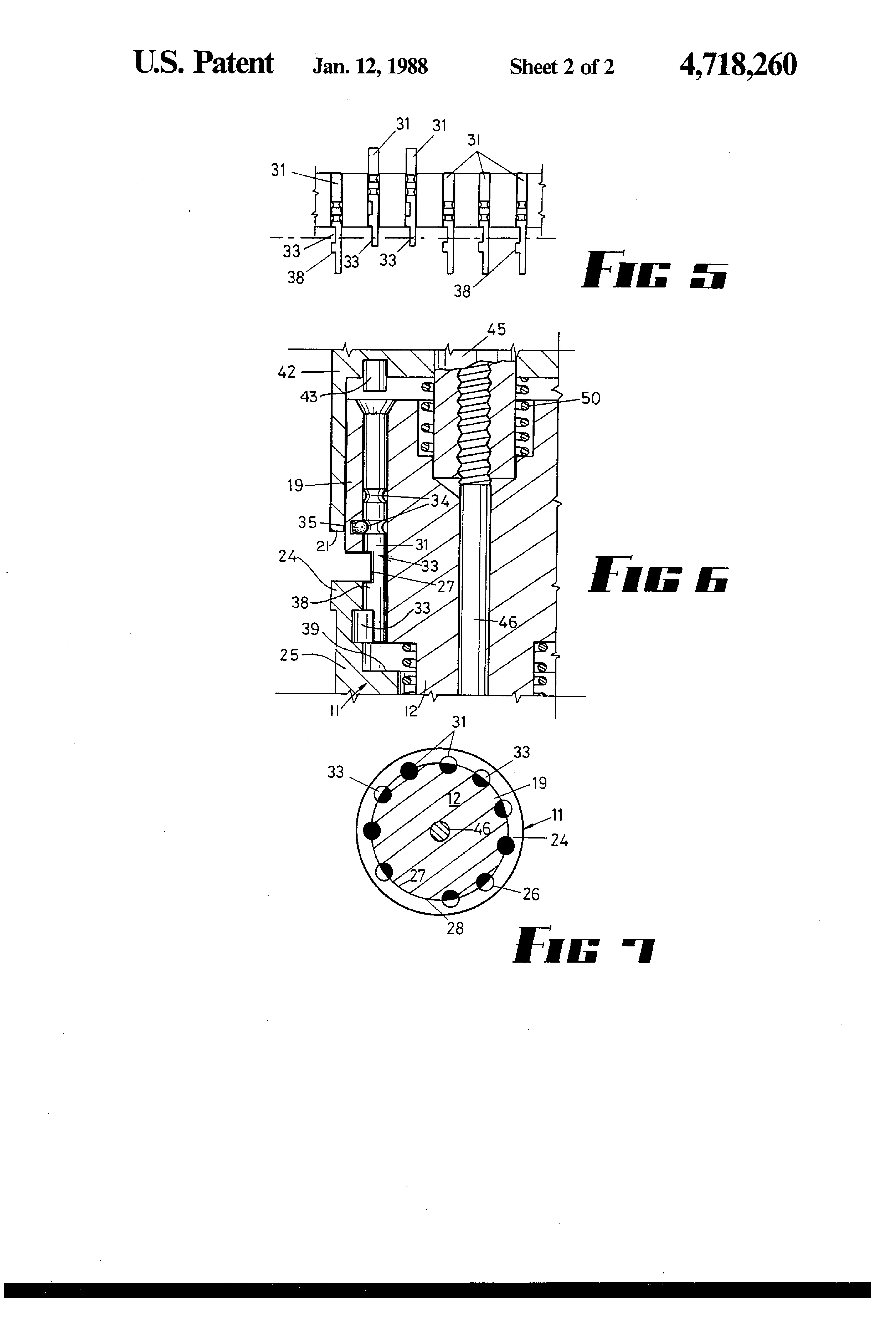
Patent 4718260

Inventor: Andrew R. Larking

View on USPTO / Google Patents ↗
Patent # 4718260
Issue Date 1984-11-23
Inventor Andrew R. Larking
Type Combo

Patent Drawings

Patent Details

Patent Number 4718260
Issue Date 1984-11-23
Inventor Andrew R. Larking
Patent Type Combo
External Link https://patents.google.com/patent/US4718260/en ↗
↑ Back to Patent Database