Est. March 2001  ·  10,246 Listings on File

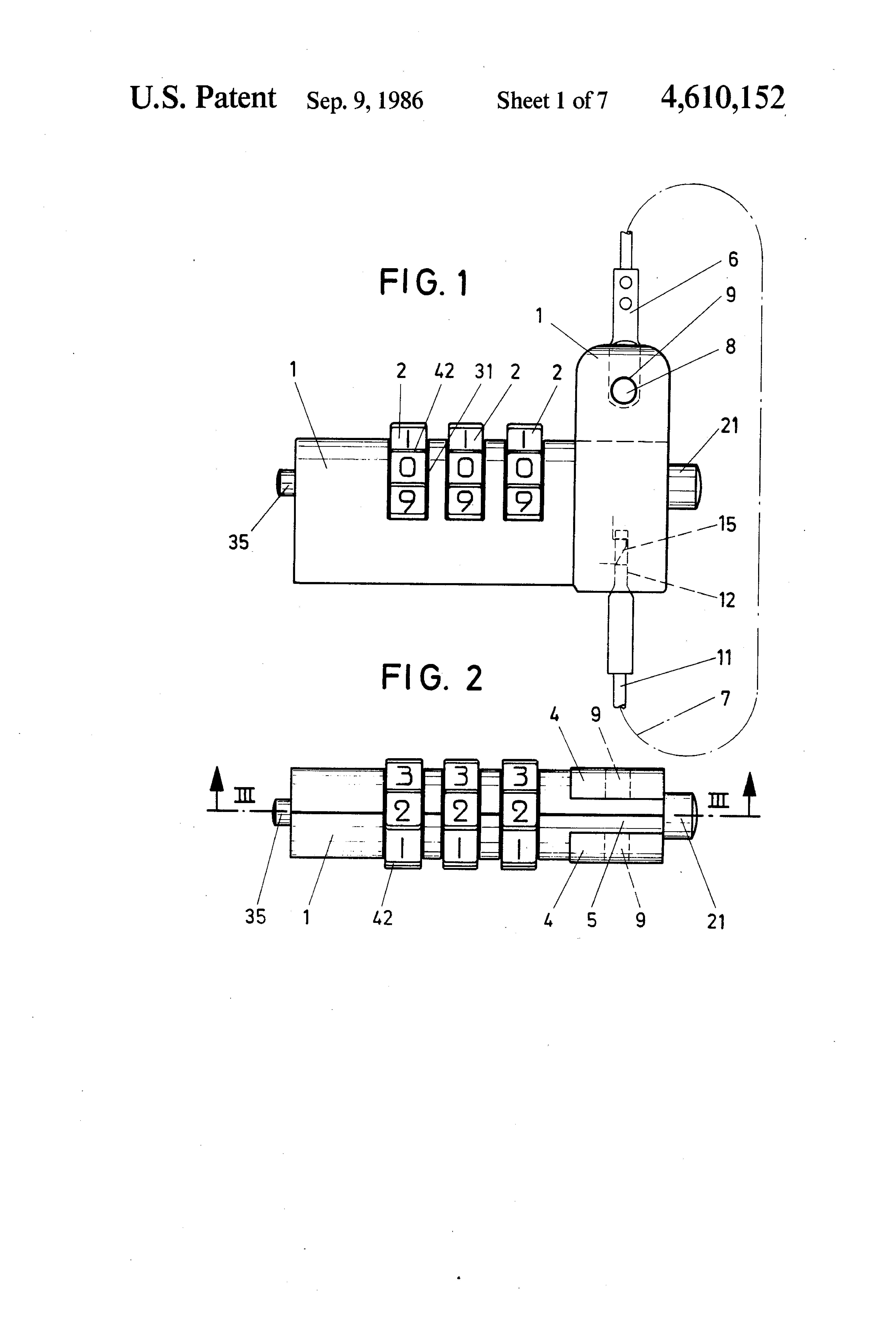
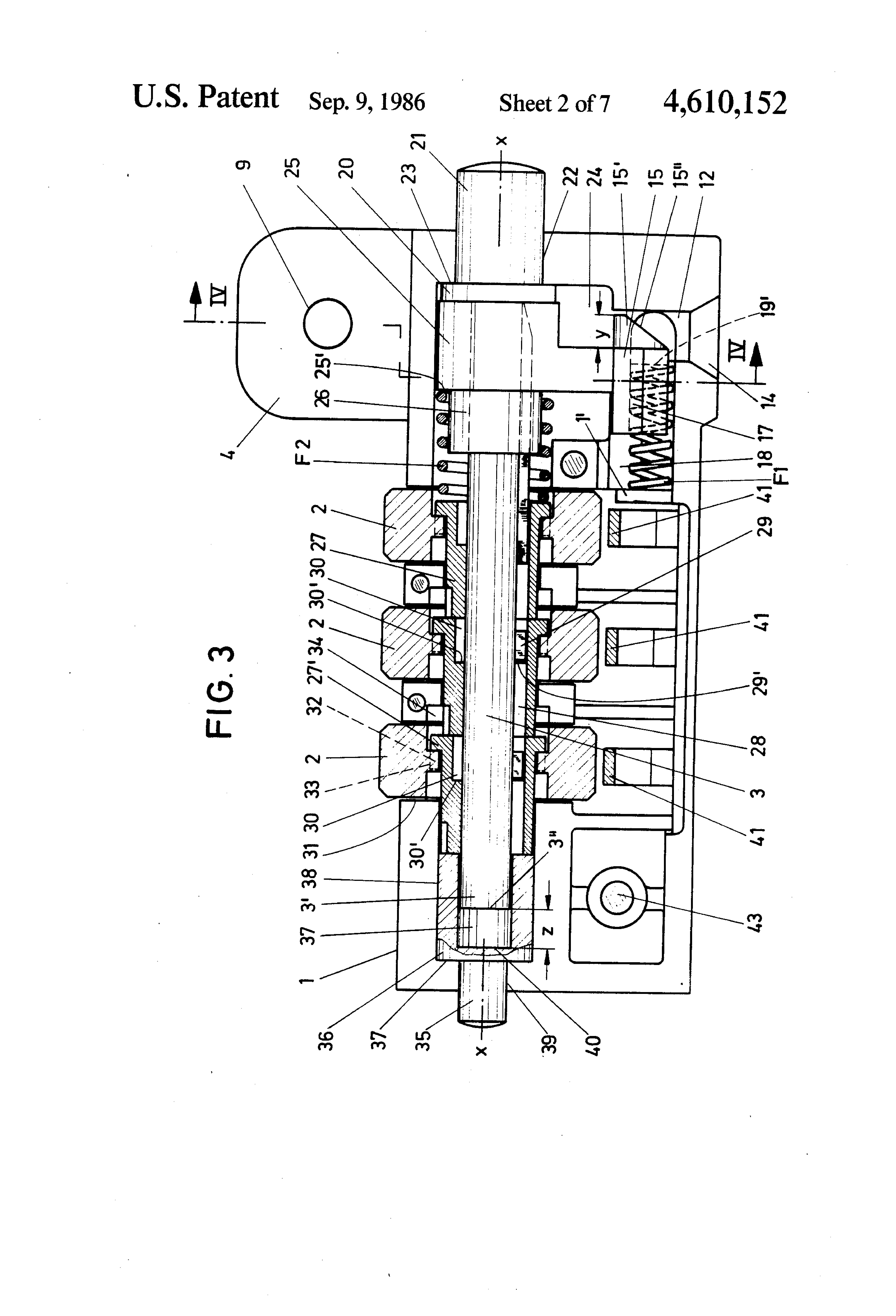
Padlock Patent — Combo

Patent 4610152

Inventor: Rudi H. Duringer

View on USPTO / Google Patents ↗
Patent # 4610152
Issue Date 1984-03-22
Inventor Rudi H. Duringer
Assigned To S Franzen Soehne GmbH
Type Combo

Patent Drawings

Patent Details

Patent Number 4610152
Issue Date 1984-03-22
Inventor Rudi H. Duringer
Assigned To S Franzen Soehne GmbH
Patent Type Combo
External Link https://patents.google.com/patent/US4610152/en ↗
↑ Back to Patent Database