Est. March 2001  ·  10,246 Listings on File

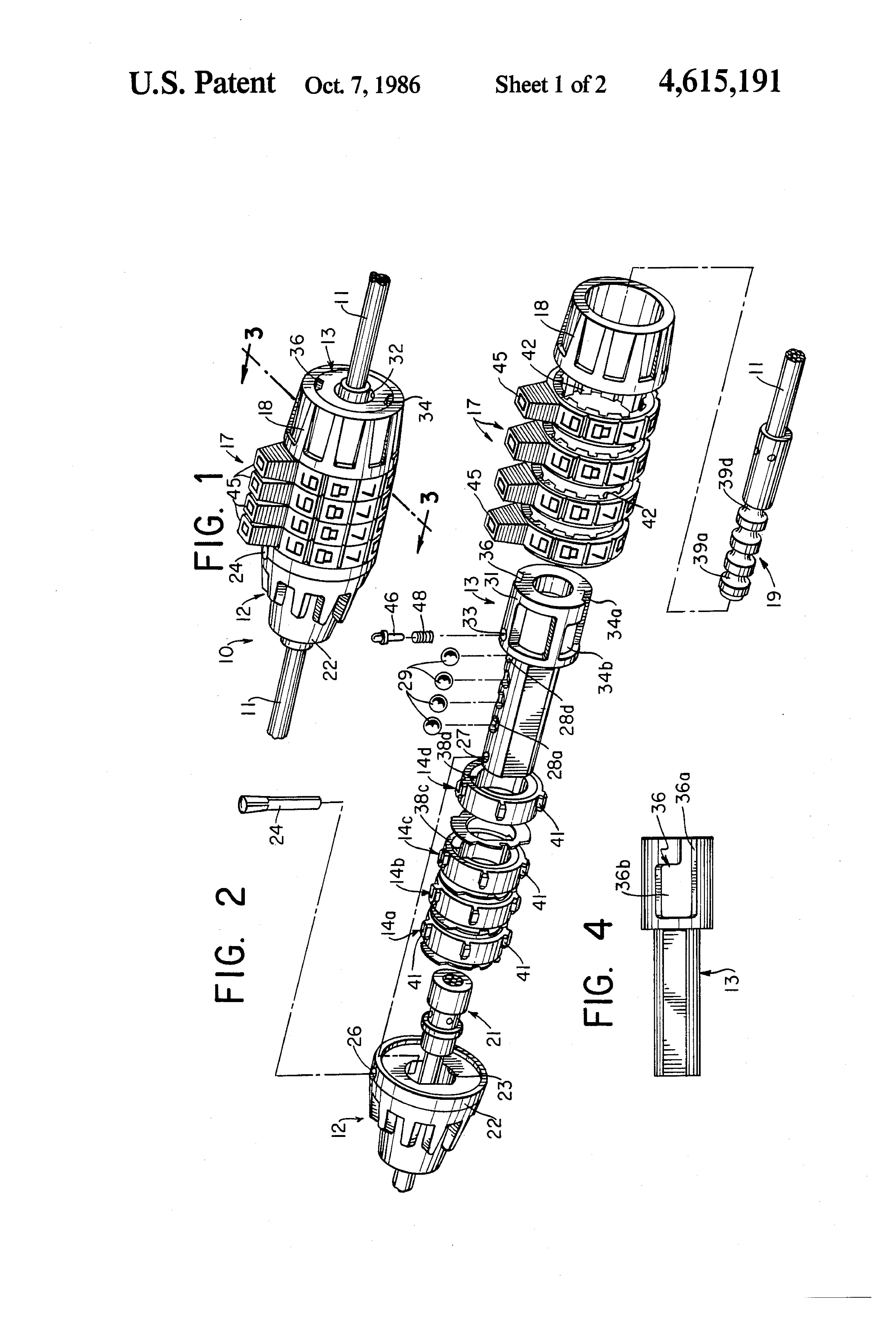
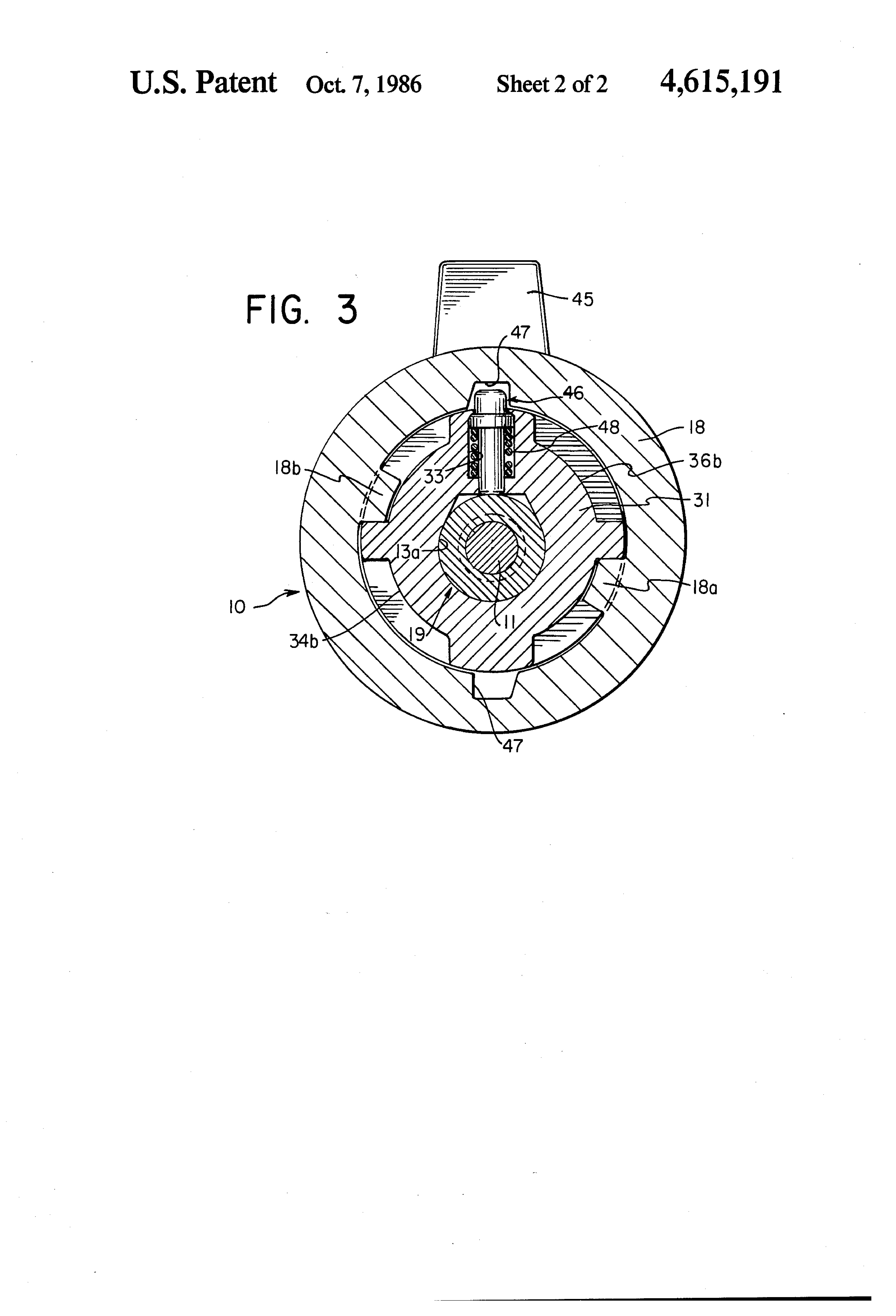
Padlock Patent — Combo

Patent 4615191

Inventor: Kenneth N. Grandy

View on USPTO / Google Patents ↗
Patent # 4615191
Issue Date 1985-02-11
Inventor Kenneth N. Grandy
Assigned To Master Lock Co LLC
Type Combo

Patent Drawings

Patent Details

Patent Number 4615191
Issue Date 1985-02-11
Inventor Kenneth N. Grandy
Assigned To Master Lock Co LLC
Patent Type Combo
External Link https://patents.google.com/patent/US4615191/en ↗
↑ Back to Patent Database