Est. March 2001 ·
10,246
Listings on File
Antique Padlocks
A Virtual Repository · James Brady
Home
›
Patent Database
›
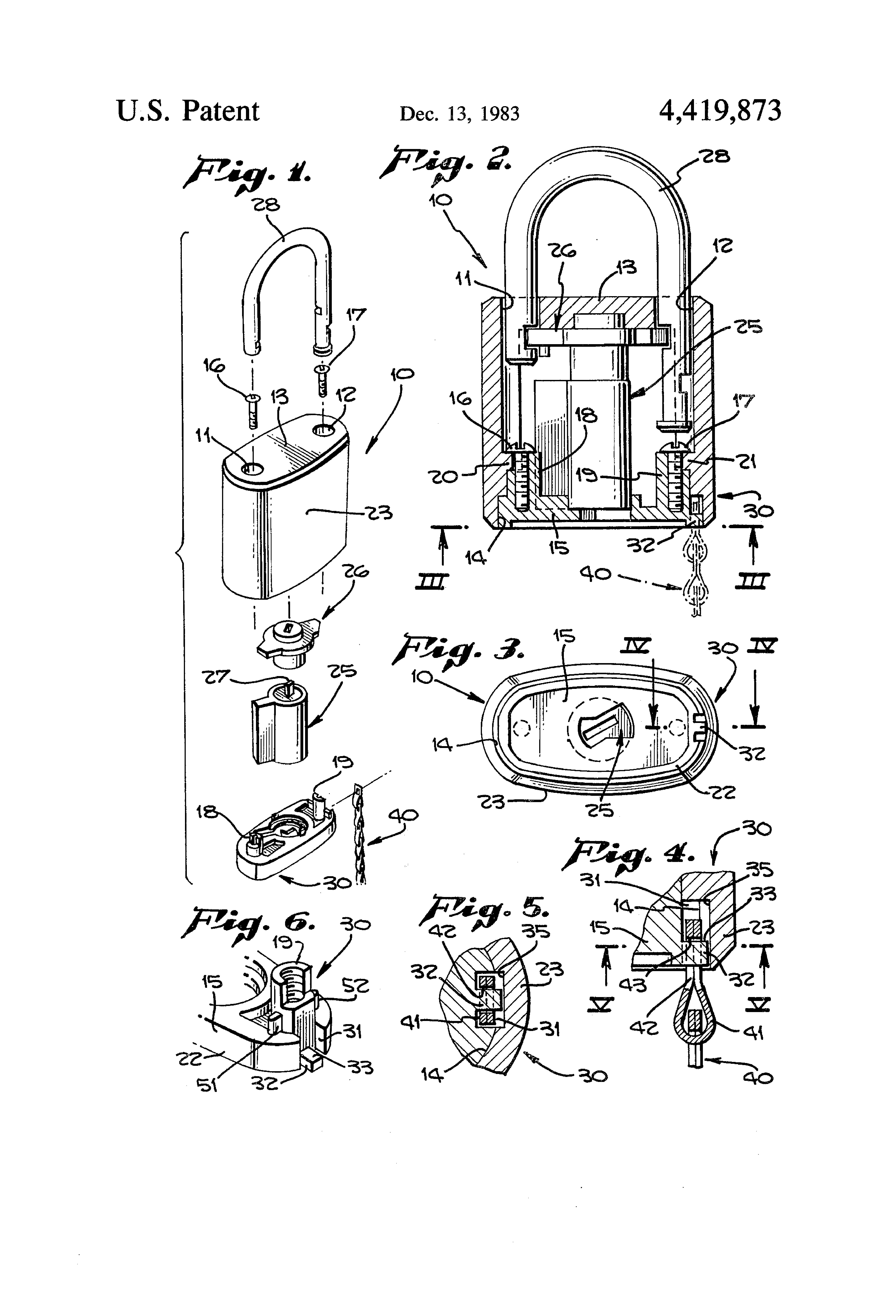
Patent 4419873
Padlock Patent — Keyed
Patent 4419873
Inventor:
Riley M. Sopko
View on USPTO / Google Patents ↗
Patent #
4419873
Issue Date
1981-06-29
Inventor
Riley M. Sopko
Type
Keyed
Patent Drawings
Drawing 1
Drawing 2
Drawing 3
Patent Details
Patent Number
4419873
Issue Date
1981-06-29
Inventor
Riley M. Sopko
Patent Type
Keyed
External Link
https://patents.google.com/patent/US4419873/en ↗
← 4422311
↑ Back to Patent Database
4422311 →