Est. March 2001 ·
10,246
Listings on File
Antique Padlocks
A Virtual Repository · James Brady
Home
›
Patent Database
›
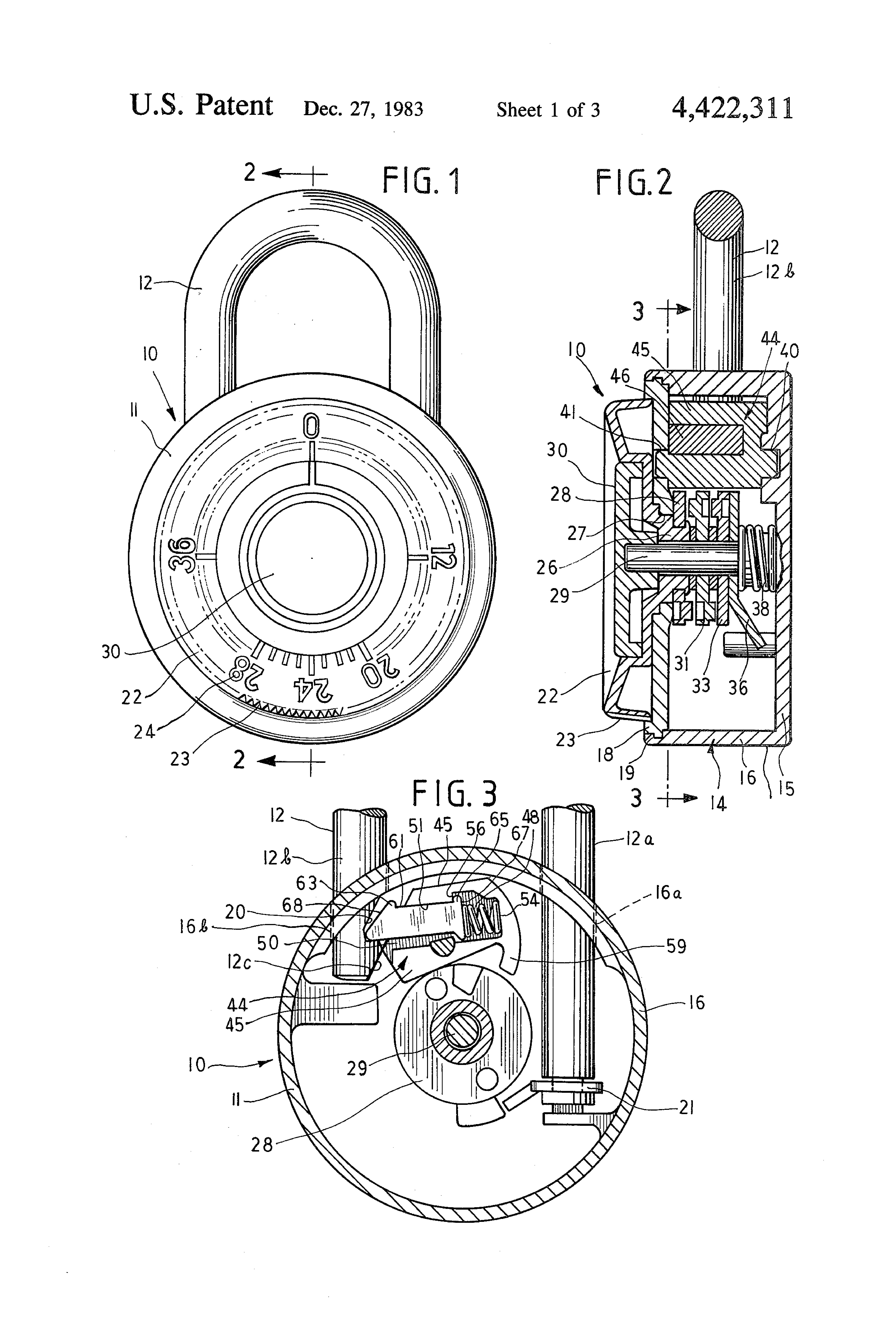
Patent 4422311
Padlock Patent — Combo
Patent 4422311
Inventor:
Herbert E. Zabel
View on USPTO / Google Patents ↗
Patent #
4422311
Issue Date
1982-04-08
Inventor
Herbert E. Zabel
Assigned To
SLAYMAKER Inc A WEST VIRGINIA CORP
Type
Combo
Patent Drawings
Drawing 1
Drawing 2
Drawing 3
Patent Details
Patent Number
4422311
Issue Date
1982-04-08
Inventor
Herbert E. Zabel
Assigned To
SLAYMAKER Inc A WEST VIRGINIA CORP
Patent Type
Combo
External Link
https://patents.google.com/patent/US4422311/en ↗
← 443261
↑ Back to Patent Database
443261 →