Est. March 2001 ·
10,246
Listings on File
Antique Padlocks
A Virtual Repository · James Brady
Home
›
Patent Database
›
Patent 4412437
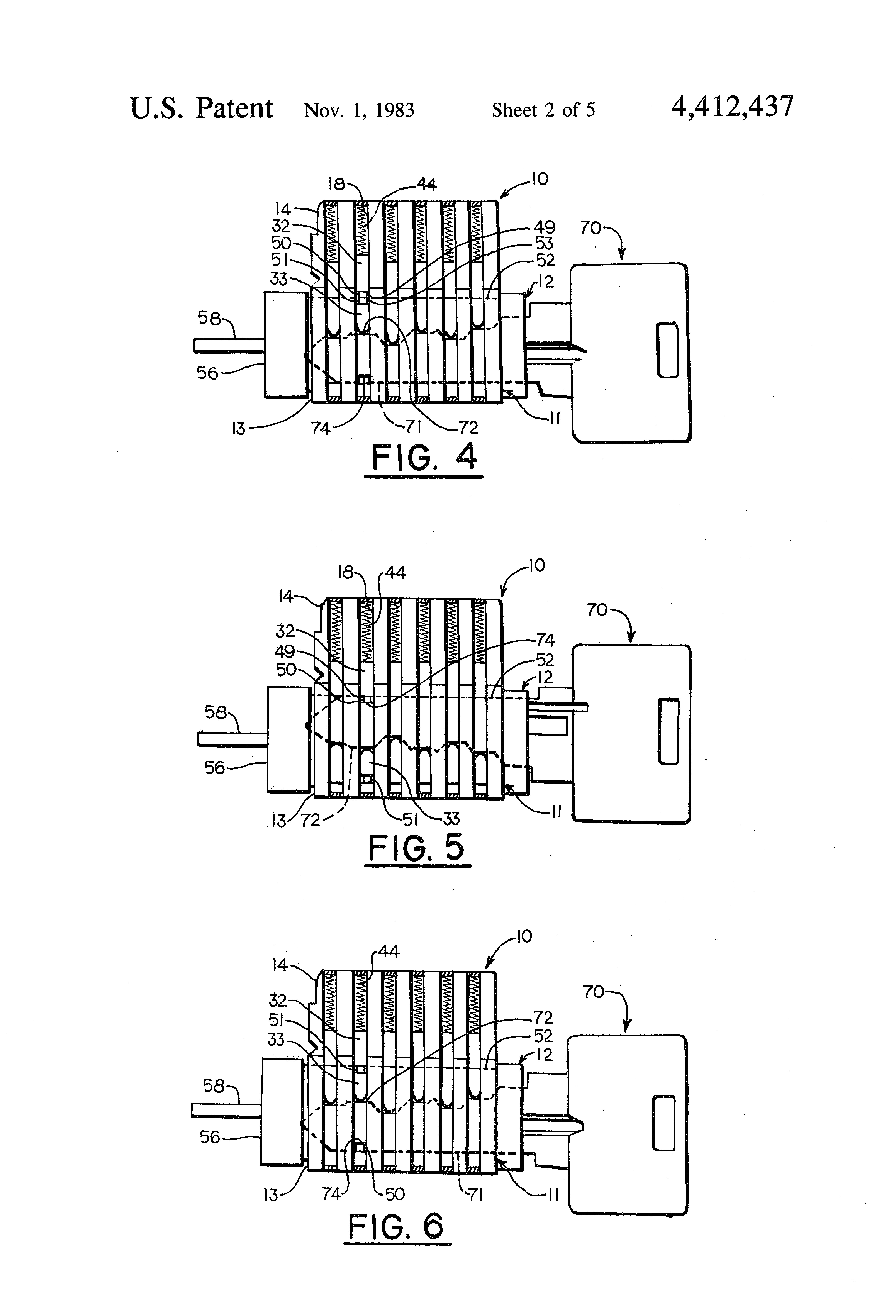
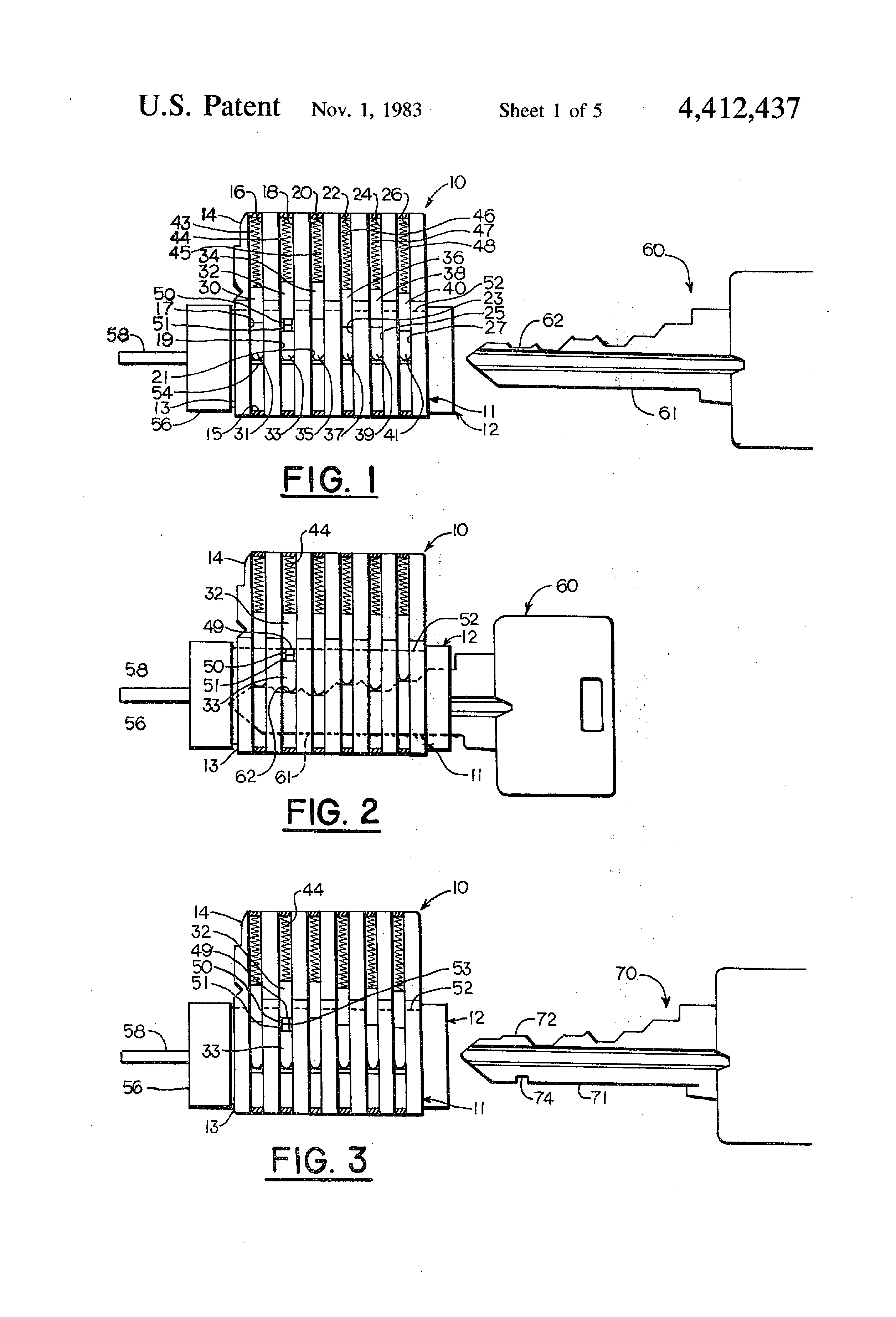
Padlock Patent — Keyed
Patent 4412437
Inventor:
Jerry R. Smith
View on USPTO / Google Patents ↗
Patent #
4412437
Issue Date
1982-09-23
Inventor
Jerry R. Smith
Assigned To
INNOVATIVE RESEARCH Corp A CORP OF CO
Type
Keyed
Patent Drawings
Drawing 1
Drawing 2
Drawing 3
Patent Details
Patent Number
4412437
Issue Date
1982-09-23
Inventor
Jerry R. Smith
Assigned To
INNOVATIVE RESEARCH Corp A CORP OF CO
Patent Type
Keyed
External Link
https://patents.google.com/patent/US4412437/en ↗
← 4419873
↑ Back to Patent Database
4419873 →