Est. March 2001  ·  10,246 Listings on File

Padlock Patent — Keyed

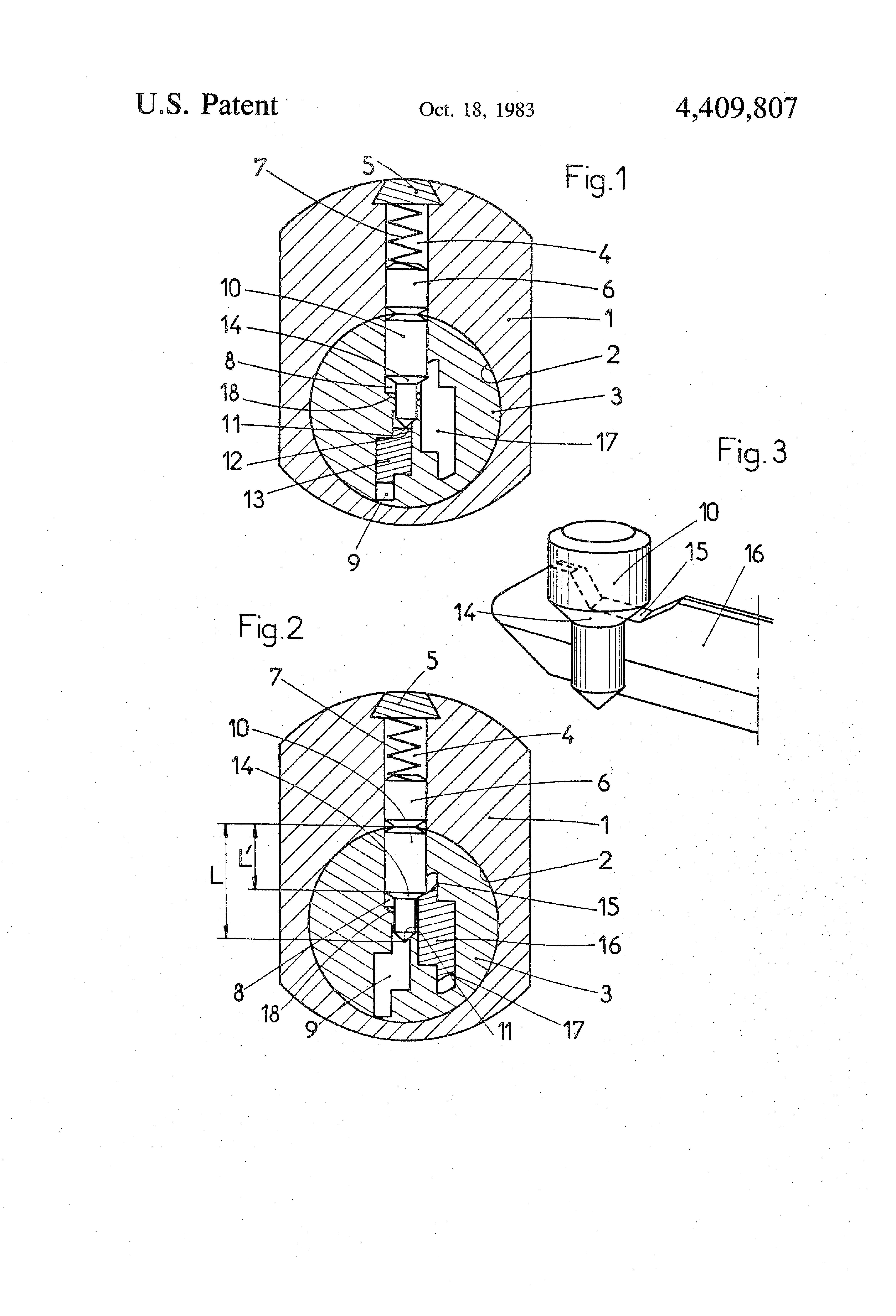
Patent 4409807

Inventor: Paul Lipschutz

View on USPTO / Google Patents ↗
Patent # 4409807
Issue Date 1981-07-13
Inventor Paul Lipschutz
Assigned To SODEX-MAGISTER D`EXPLOITATION DES BREVETS NEIMAN 12BIS Ste
Type Keyed

Patent Drawings

Patent Details

Patent Number 4409807
Issue Date 1981-07-13
Inventor Paul Lipschutz
Assigned To SODEX-MAGISTER D`EXPLOITATION DES BREVETS NEIMAN 12BIS Ste
Patent Type Keyed
External Link https://patents.google.com/patent/US4409807/en ↗
↑ Back to Patent Database