Est. March 2001 ·
10,246
Listings on File
Antique Padlocks
A Virtual Repository · James Brady
Home
›
Patent Database
›
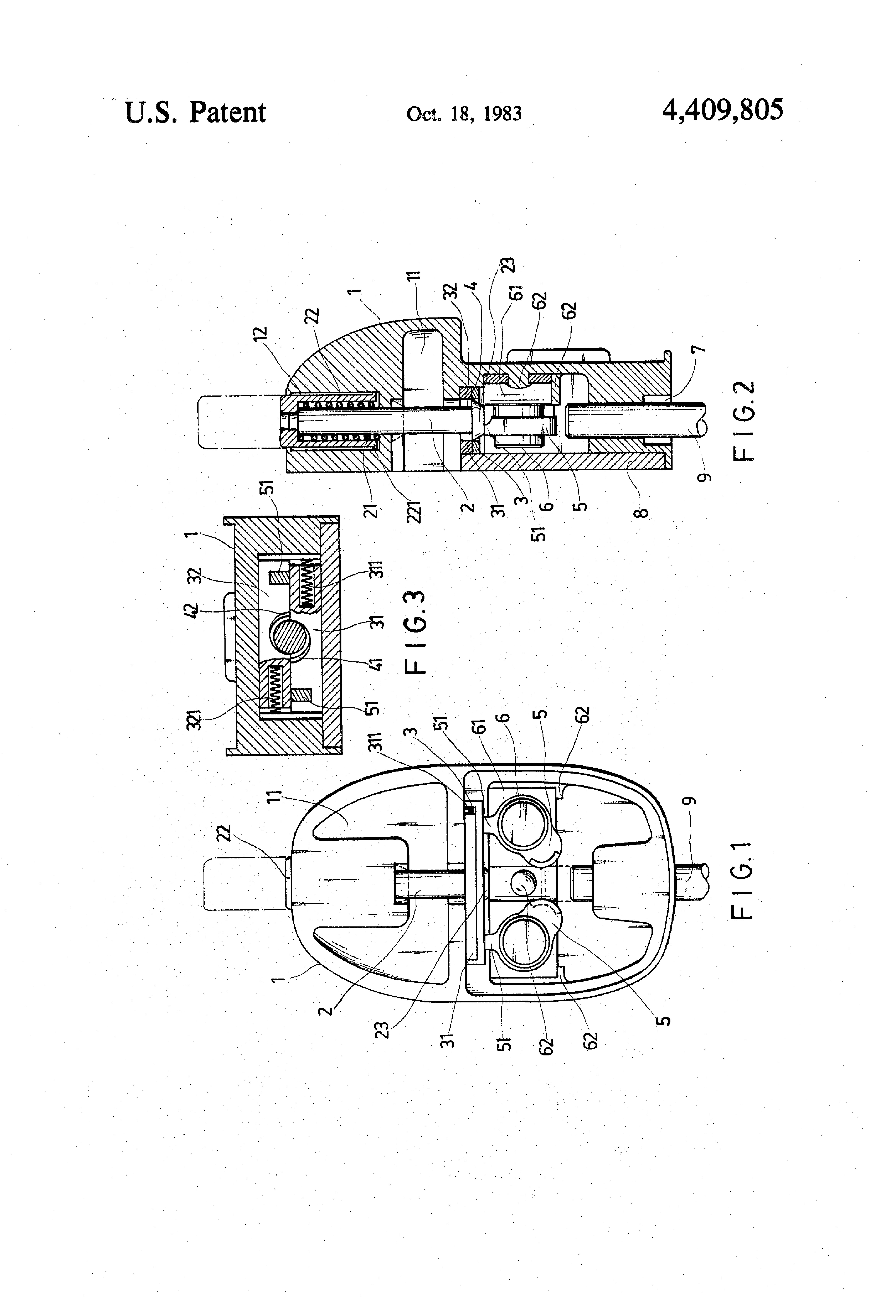
Patent 4409805
Padlock Patent — Keyed
Patent 4409805
Inventor:
Tzu-Cheng Wang
View on USPTO / Google Patents ↗
Patent #
4409805
Issue Date
1982-01-28
Inventor
Tzu-Cheng Wang
Type
Keyed
Patent Drawings
Drawing 1
Drawing 2
Drawing 3
Patent Details
Patent Number
4409805
Issue Date
1982-01-28
Inventor
Tzu-Cheng Wang
Patent Type
Keyed
External Link
https://patents.google.com/patent/US4409805/en ↗
← 4409807
↑ Back to Patent Database
4409807 →