Est. March 2001 ·
10,246
Listings on File
Antique Padlocks
A Virtual Repository · James Brady
Home
›
Patent Database
›
Patent 4404825
Padlock Patent — Keyed
Patent 4404825
Inventor:
David Dixon
View on USPTO / Google Patents ↗
Patent #
4404825
Issue Date
1981-05-12
Inventor
David Dixon
Assigned To
Yale Security Inc
Type
Keyed
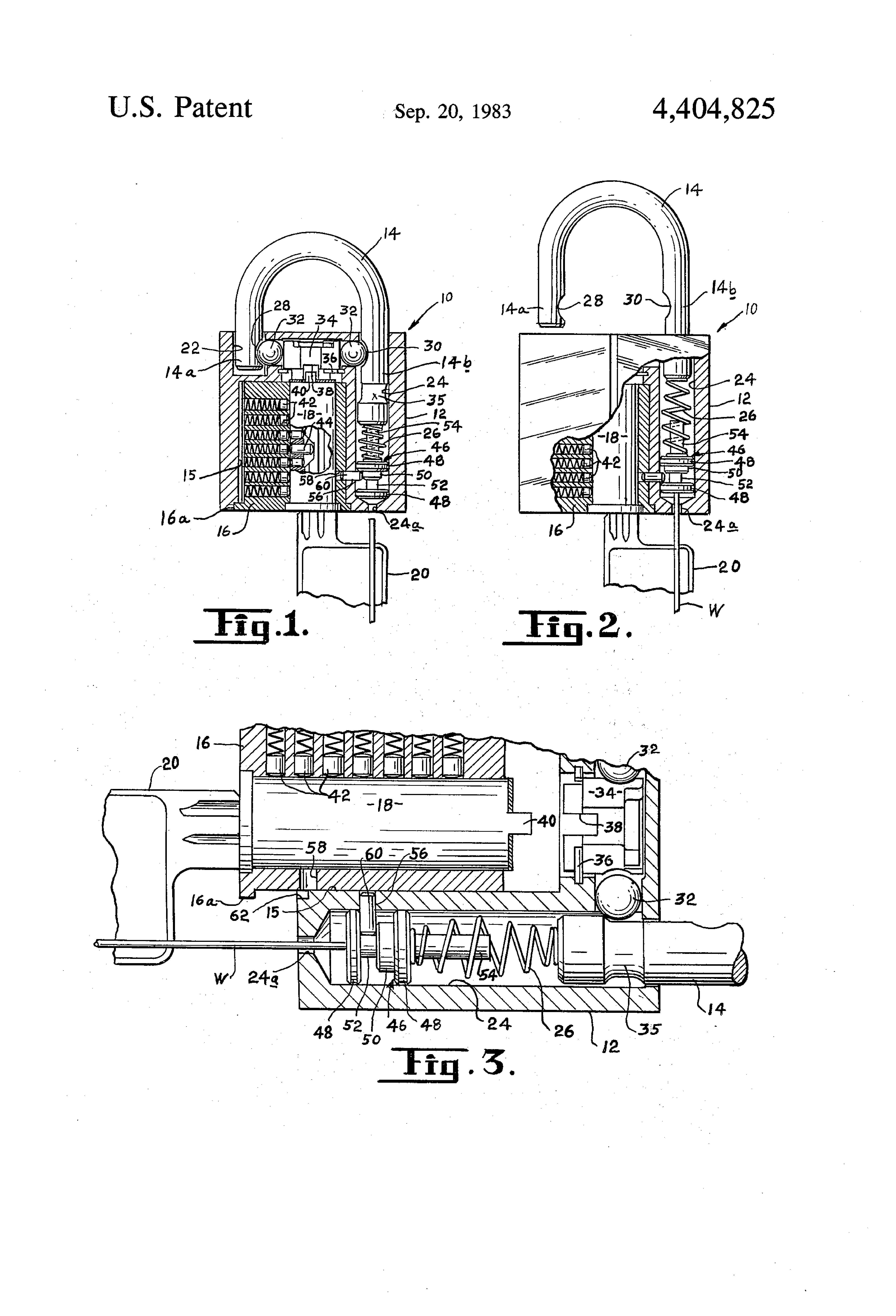
Patent Drawings
Drawing 1
Drawing 2
Drawing 3
Patent Details
Patent Number
4404825
Issue Date
1981-05-12
Inventor
David Dixon
Assigned To
Yale Security Inc
Patent Type
Keyed
External Link
https://patents.google.com/patent/US4404825/en ↗
← 4409805
↑ Back to Patent Database
4409805 →