Est. March 2001 ·
10,247
Listings on File
Antique Padlocks
A Virtual Repository · James Brady
Home
›
Patent Database
›
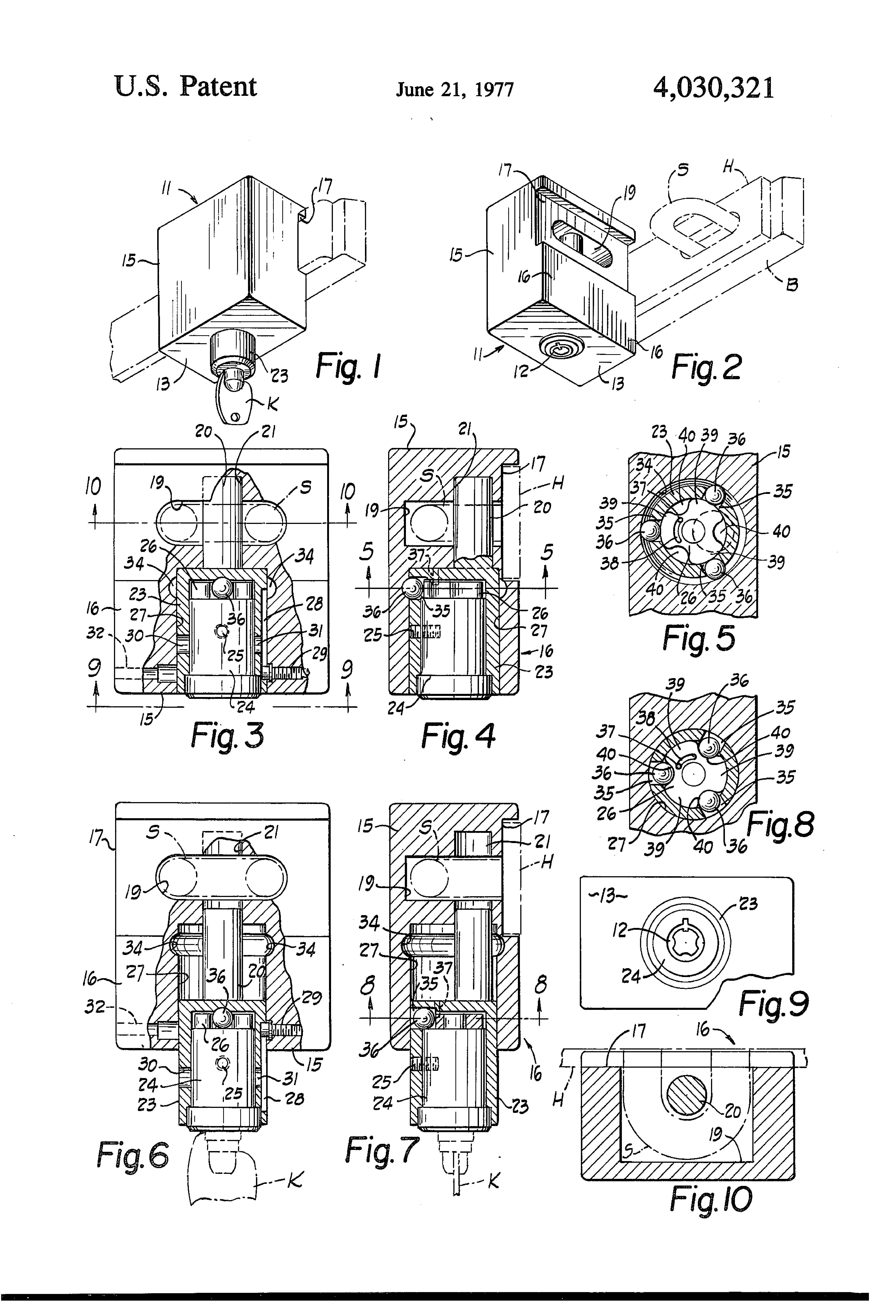
Patent 4030321
Padlock Patent — Keyed
Patent 4030321
Inventor:
David L. Kenyon
View on USPTO / Google Patents ↗
Patent #
4030321
Issue Date
1976-06-16
Inventor
David L. Kenyon
Type
Keyed
Patent Drawings
Drawing 1
Drawing 2
Drawing 3
Patent Details
Patent Number
4030321
Issue Date
1976-06-16
Inventor
David L. Kenyon
Patent Type
Keyed
External Link
https://patents.google.com/patent/US4030321/en ↗
← 4031719
↑ Back to Patent Database
4031719 →