Est. March 2001 ·
10,247
Listings on File
Antique Padlocks
A Virtual Repository · James Brady
Home
›
Patent Database
›
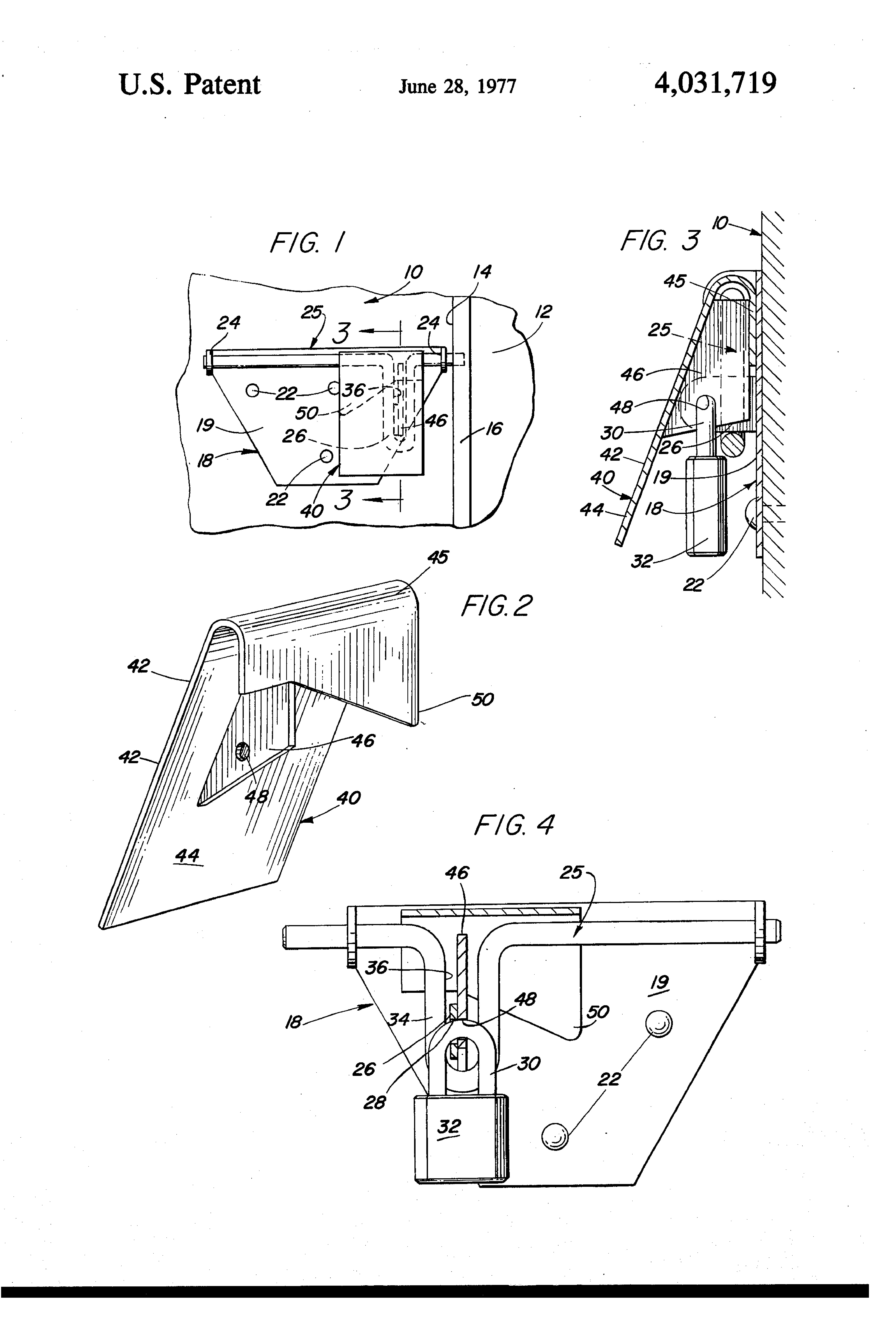
Patent 4031719
Padlock Patent — Keyed
Patent 4031719
Inventor:
Lawrence R. Klingler
View on USPTO / Google Patents ↗
Patent #
4031719
Issue Date
1976-10-08
Inventor
Lawrence R. Klingler
Type
Keyed
Patent Drawings
Drawing 1
Drawing 2
Drawing 3
Patent Details
Patent Number
4031719
Issue Date
1976-10-08
Inventor
Lawrence R. Klingler
Patent Type
Keyed
External Link
https://patents.google.com/patent/US4031719/en ↗
← 4033155
↑ Back to Patent Database
4033155 →