Est. March 2001 ·
10,247
Listings on File
Antique Padlocks
A Virtual Repository · James Brady
Home
›
Patent Database
›
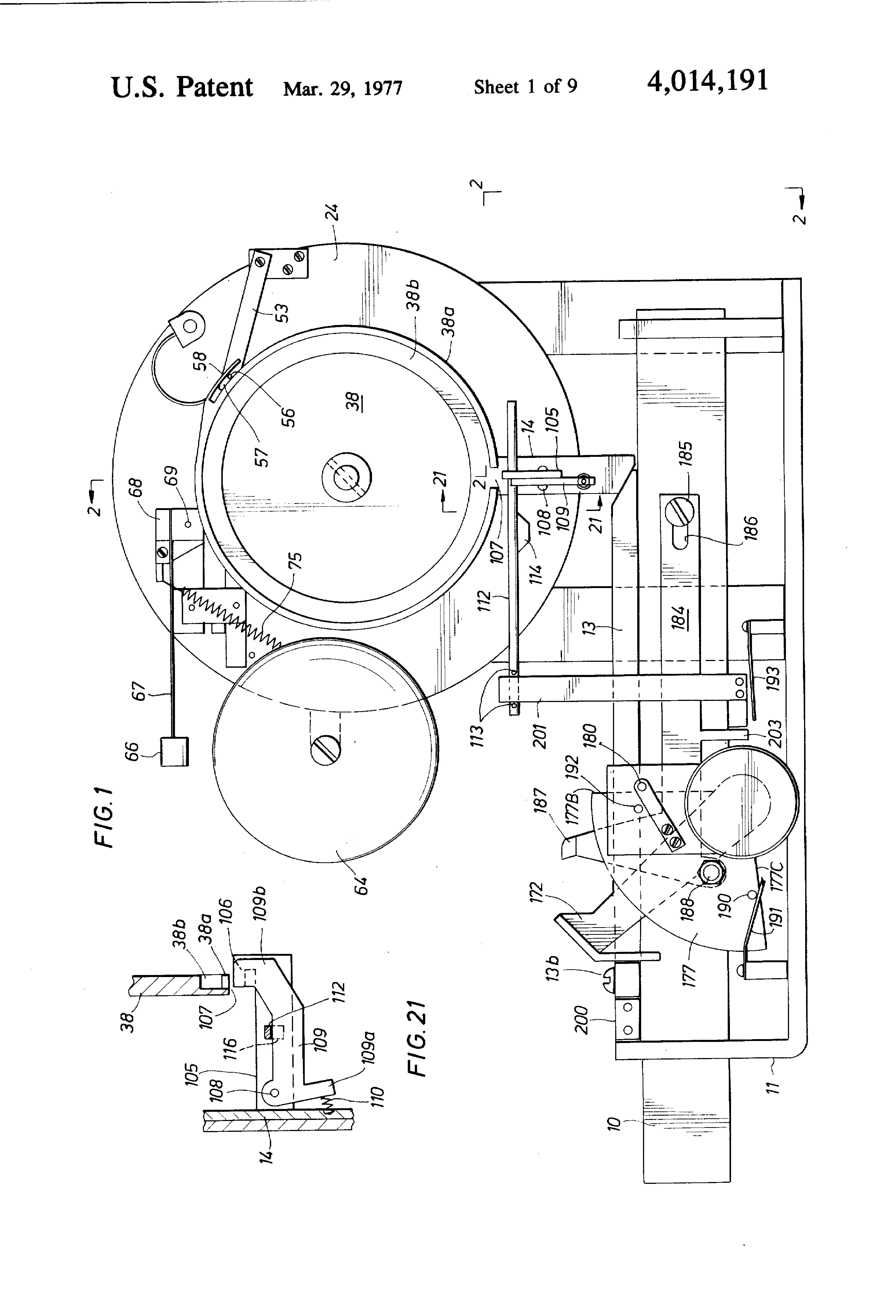
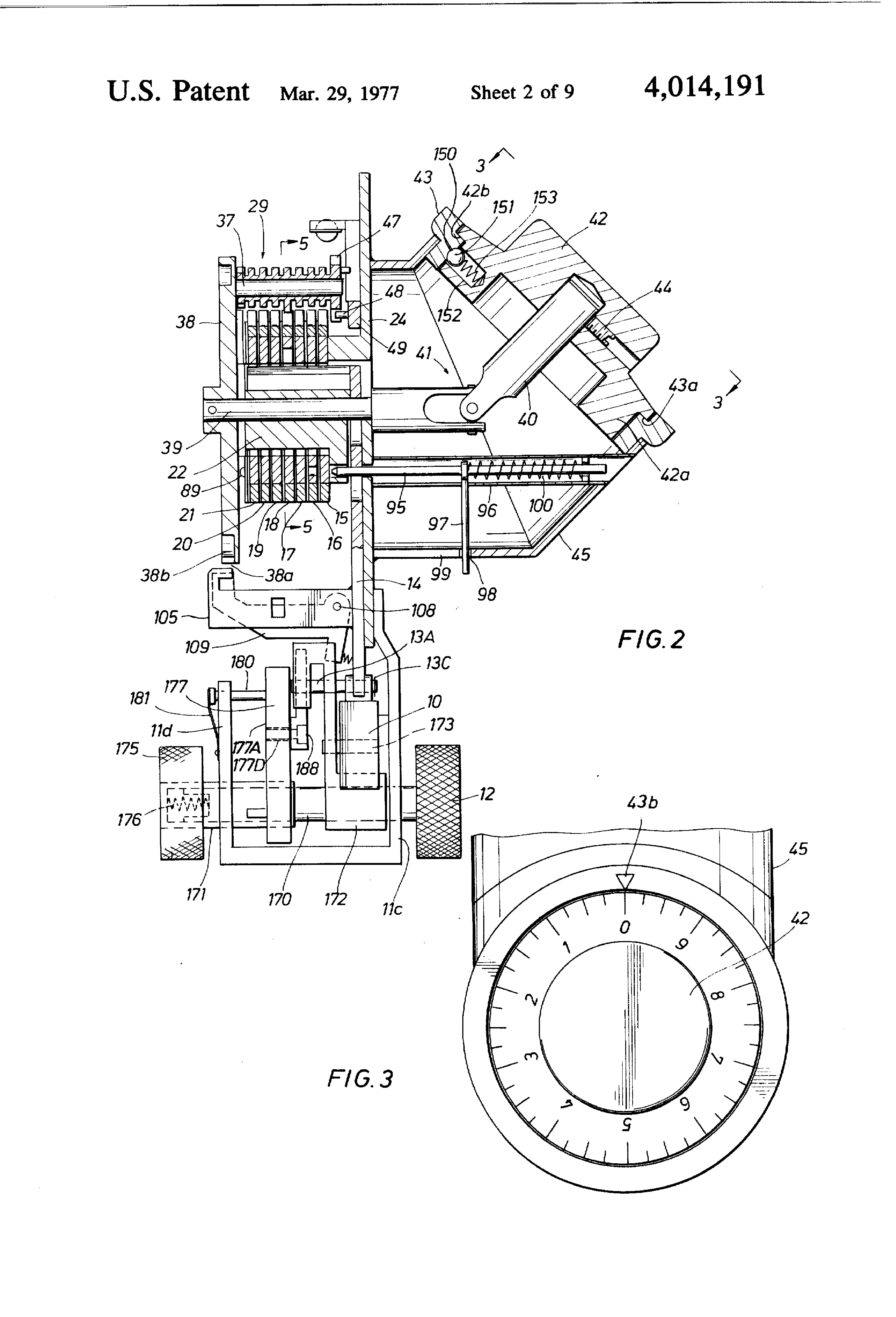
Patent 4014191
Padlock Patent — Combo
Patent 4014191
Inventor:
Richard P. Harrington
View on USPTO / Google Patents ↗
Patent #
4014191
Issue Date
1975-08-13
Inventor
Richard P. Harrington
Type
Combo
Patent Drawings
Drawing 1
Drawing 2
Drawing 3
Patent Details
Patent Number
4014191
Issue Date
1975-08-13
Inventor
Richard P. Harrington
Patent Type
Combo
External Link
https://patents.google.com/patent/US4014191/en ↗
← 4030321
↑ Back to Patent Database
4030321 →