Est. March 2001 ·
10,247
Listings on File
Antique Padlocks
A Virtual Repository · James Brady
Home
›
Patent Database
›
Patent 3494158
Padlock Patent — Keyed
Patent 3494158
Inventor:
Charles A Bauer
View on USPTO / Google Patents ↗
Patent #
3494158
Issue Date
1968-01-29
Inventor
Charles A Bauer
Assigned To
Sargent Manufacturing Co
Type
Keyed
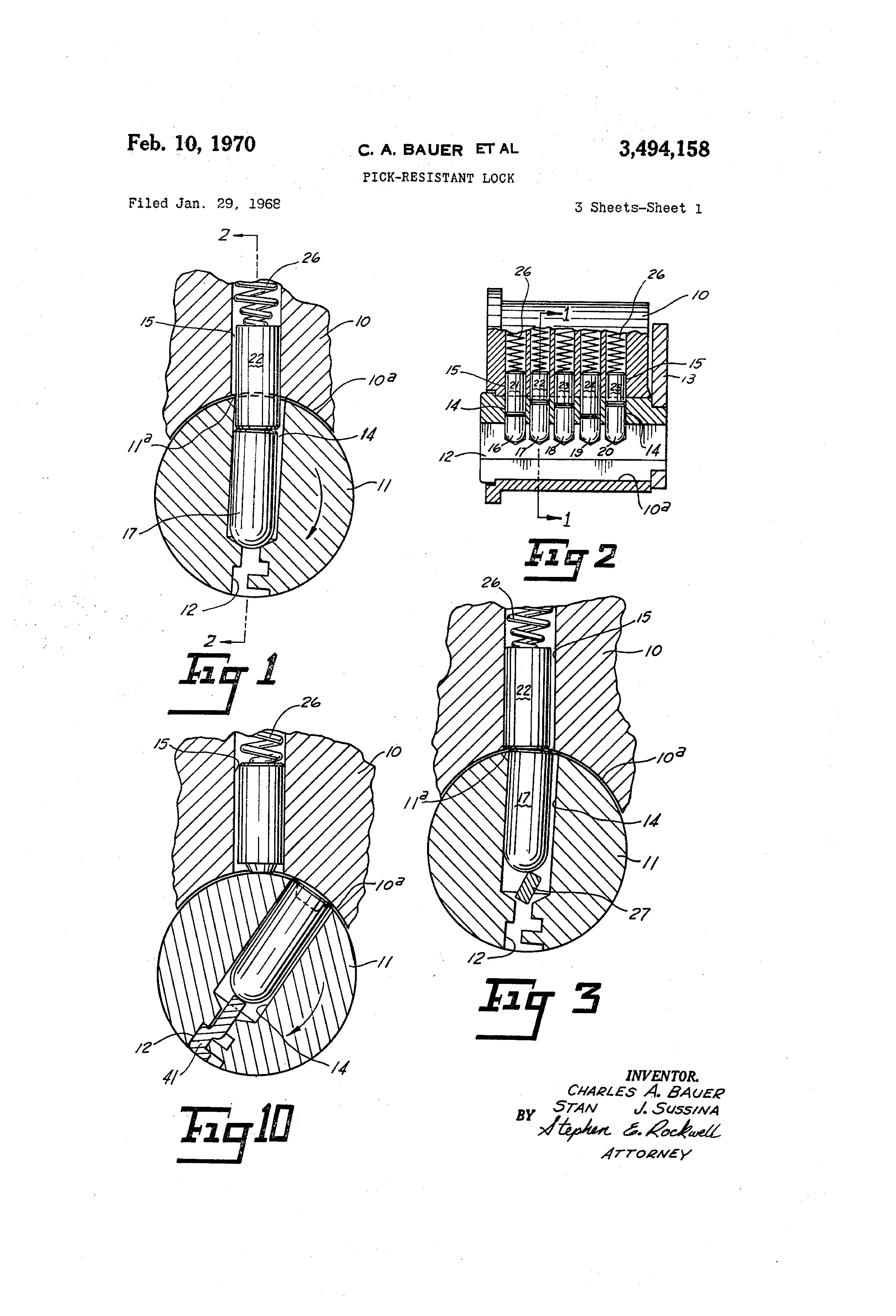
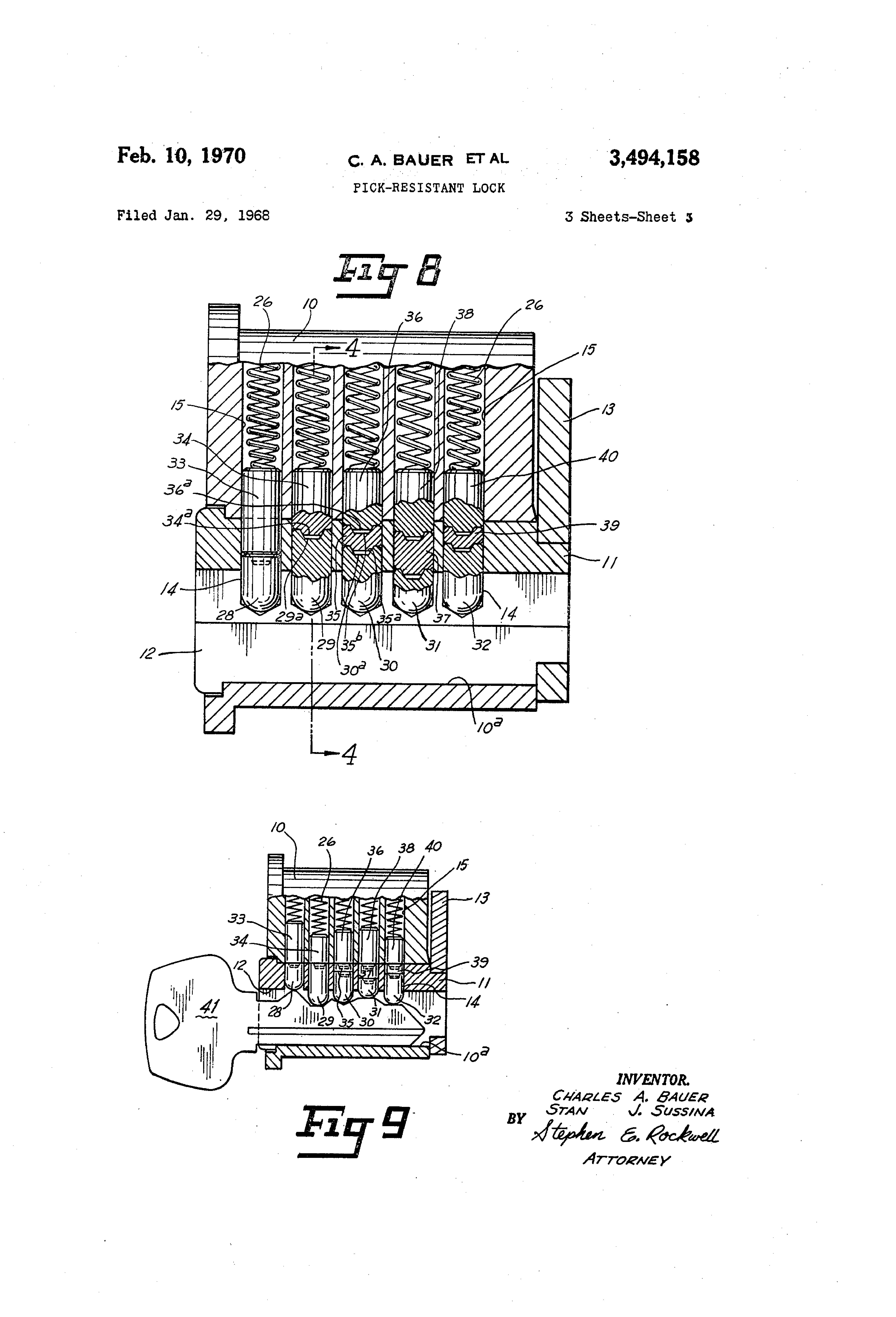
Patent Drawings
Drawing 1
Drawing 2
Drawing 3
Patent Details
Patent Number
3494158
Issue Date
1968-01-29
Inventor
Charles A Bauer
Assigned To
Sargent Manufacturing Co
Patent Type
Keyed
External Link
https://patents.google.com/patent/US3494158/en ↗
← 3499302
↑ Back to Patent Database
3499302 →