Est. March 2001 ·
10,247
Listings on File
Antique Padlocks
A Virtual Repository · James Brady
Home
›
Patent Database
›
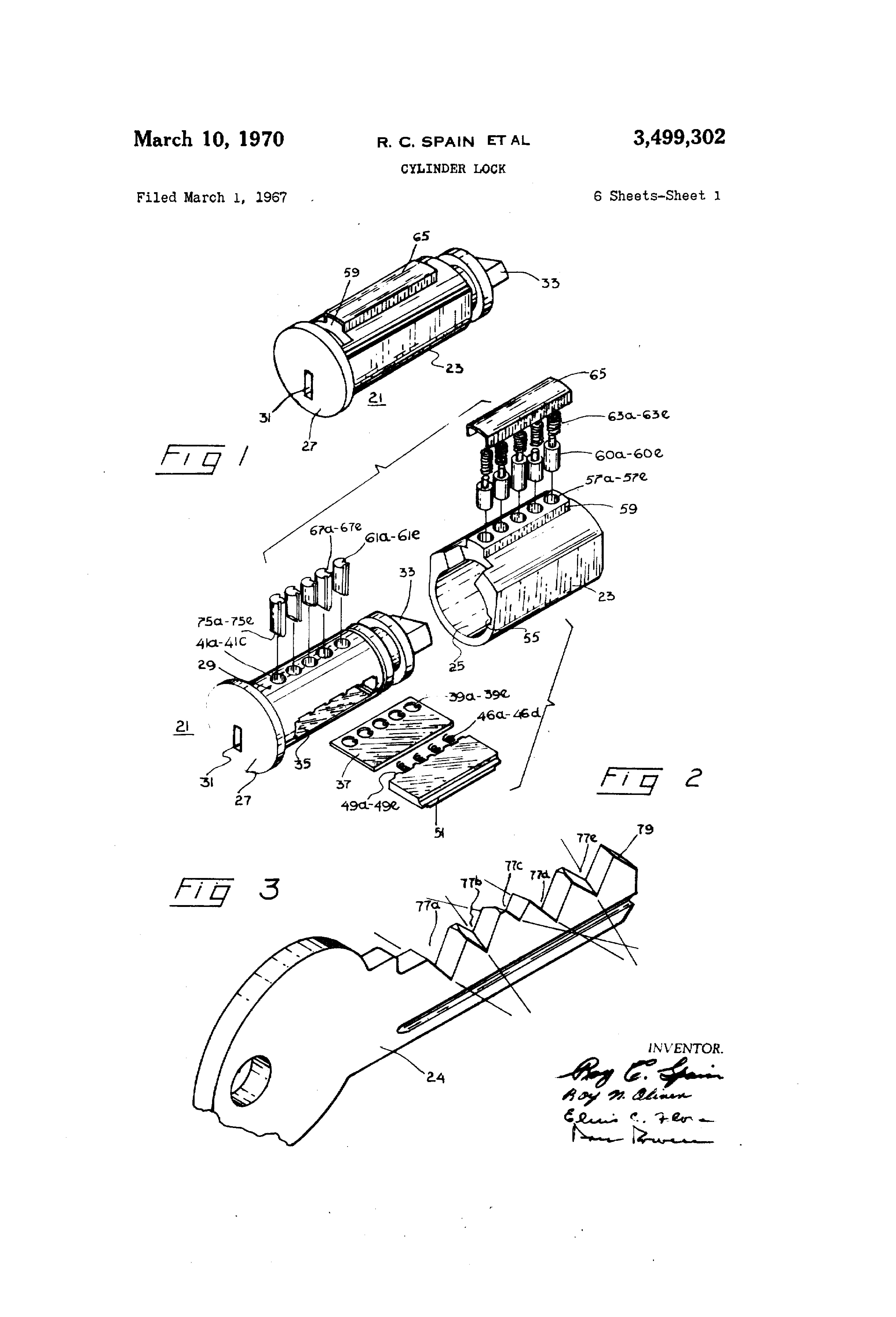
Patent 3499302
Padlock Patent — Keyed
Patent 3499302
Inventor:
Roy C Spain
View on USPTO / Google Patents ↗
Patent #
3499302
Issue Date
1967-03-01
Inventor
Roy C Spain
Assigned To
ELVIS C FLORA
Type
Keyed
Patent Drawings
Drawing 1
Drawing 2
Drawing 3
Patent Details
Patent Number
3499302
Issue Date
1967-03-01
Inventor
Roy C Spain
Assigned To
ELVIS C FLORA
Patent Type
Keyed
External Link
https://patents.google.com/patent/US3499302/en ↗
← 3499303
↑ Back to Patent Database
3499303 →