Est. March 2001 ·
10,247
Listings on File
Antique Padlocks
A Virtual Repository · James Brady
Home
›
Patent Database
›
Patent 3421348
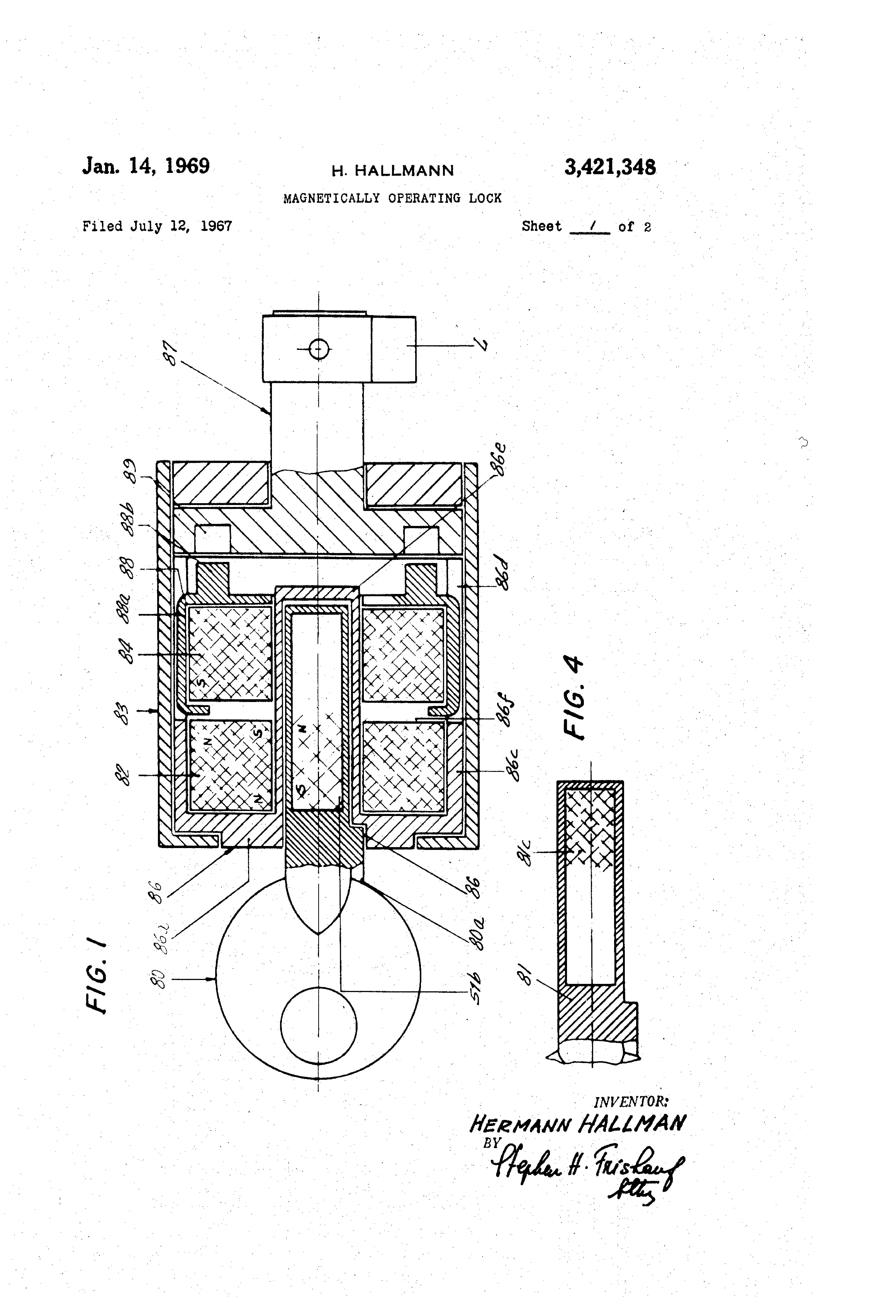
Padlock Patent — Keyed
Patent 3421348
Inventor:
Hermann Hallmann
View on USPTO / Google Patents ↗
Patent #
3421348
Issue Date
1967-07-12
Inventor
Hermann Hallmann
Assigned To
Huwil Werke GmbH
Type
Keyed
Patent Drawings
Drawing 1
Drawing 2
Drawing 3
Patent Details
Patent Number
3421348
Issue Date
1967-07-12
Inventor
Hermann Hallmann
Assigned To
Huwil Werke GmbH
Patent Type
Keyed
External Link
https://patents.google.com/patent/US3421348/en ↗
← 3429154
↑ Back to Patent Database
3429154 →