Est. March 2001 ·
10,247
Listings on File
Antique Padlocks
A Virtual Repository · James Brady
Home
›
Patent Database
›
Patent 3429154
Padlock Patent — Keyed
Patent 3429154
Inventor:
Jerome Schwartz
View on USPTO / Google Patents ↗
Patent #
3429154
Issue Date
1966-10-18
Inventor
Jerome Schwartz
Assigned To
TAYLOR LOCK CO
Type
Keyed
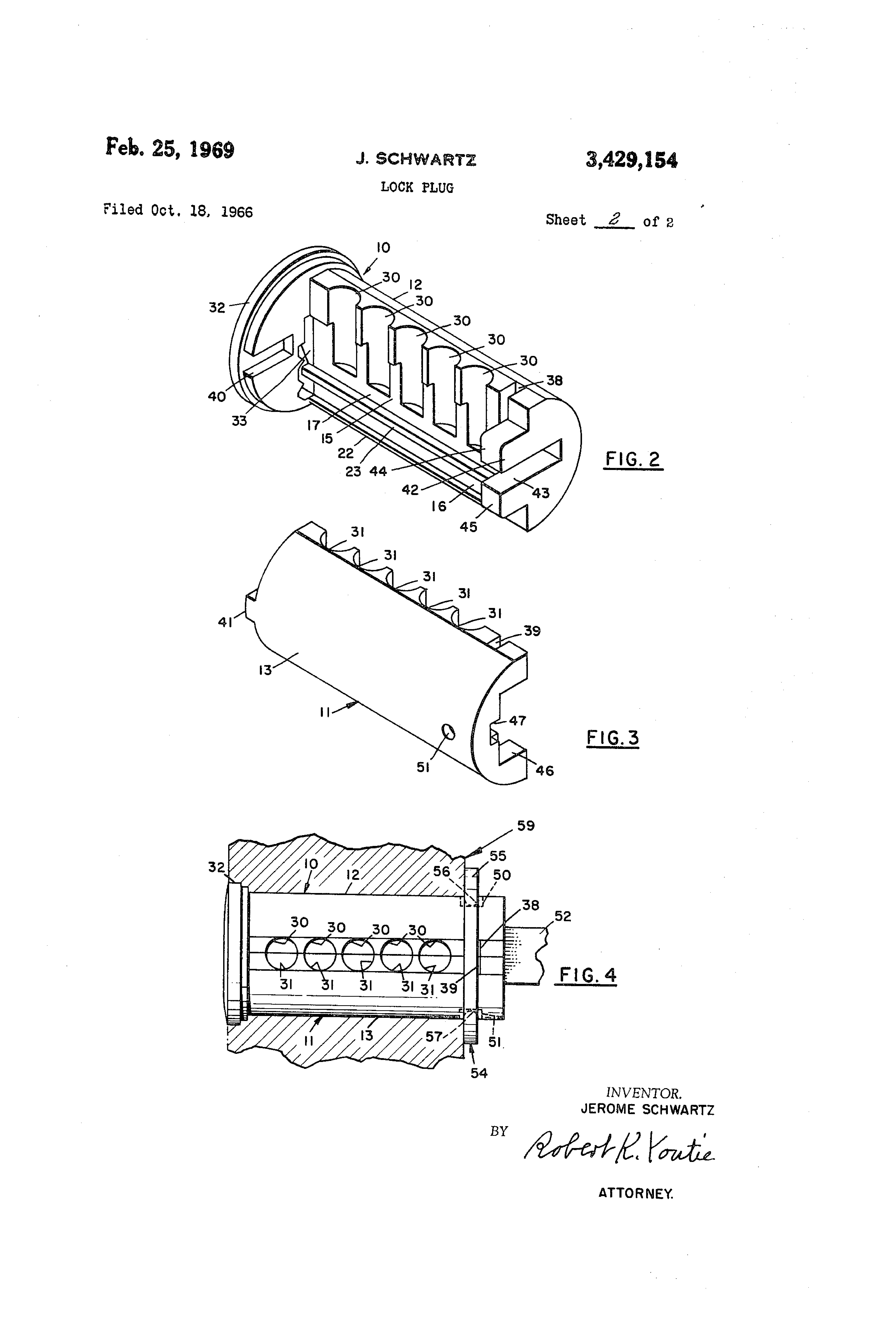
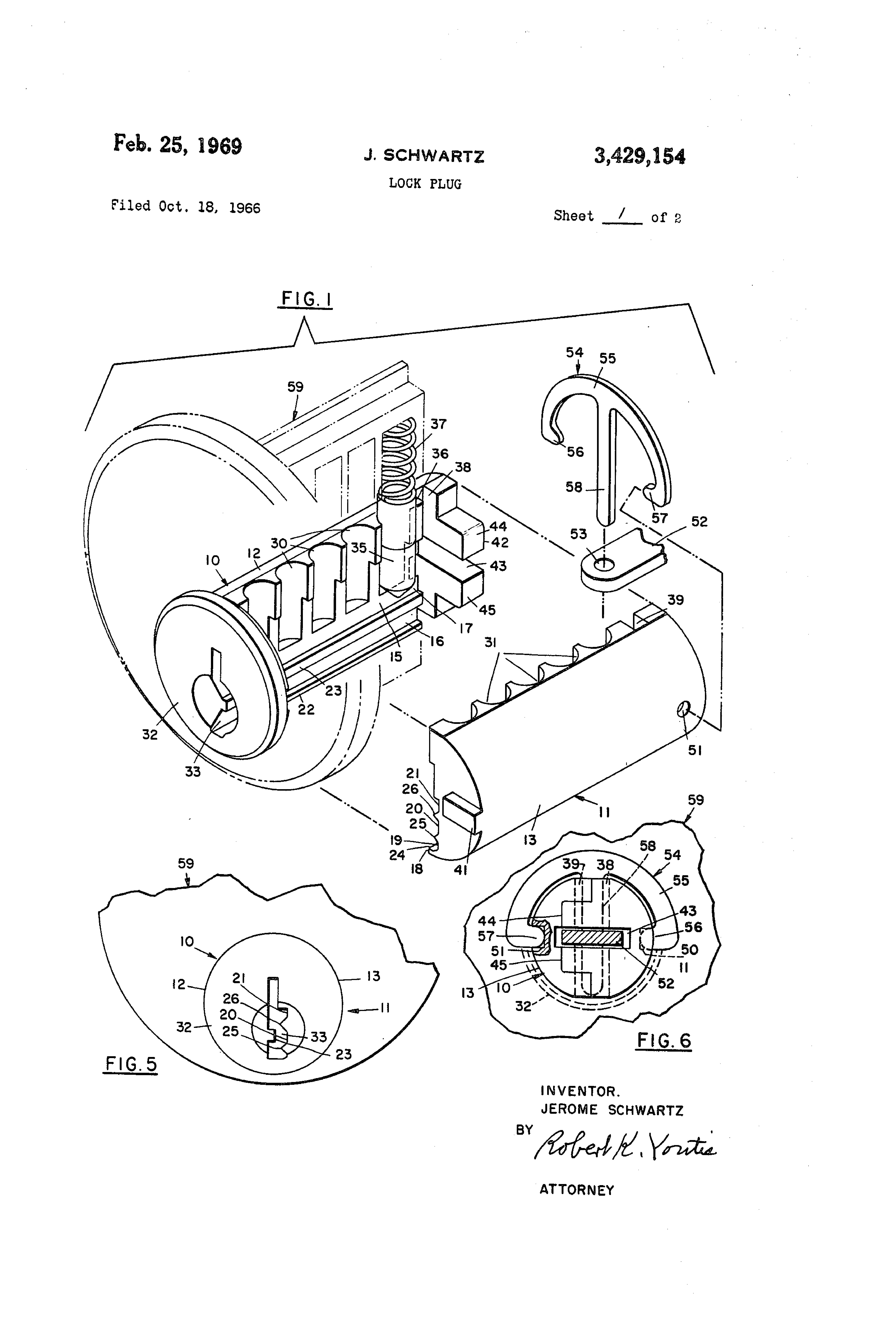
Patent Drawings
Drawing 1
Drawing 2
Drawing 3
Patent Details
Patent Number
3429154
Issue Date
1966-10-18
Inventor
Jerome Schwartz
Assigned To
TAYLOR LOCK CO
Patent Type
Keyed
External Link
https://patents.google.com/patent/US3429154/en ↗
← 3436937
↑ Back to Patent Database
3436937 →