Est. March 2001  ·  10,247 Listings on File

Padlock Patent — Keyed

Patent 20110041570

Inventor: Chien-Yung Huang

View on USPTO / Google Patents ↗
Patent # 20110041570
Issue Date 2009-08-19
Inventor Chien-Yung Huang
Type Keyed

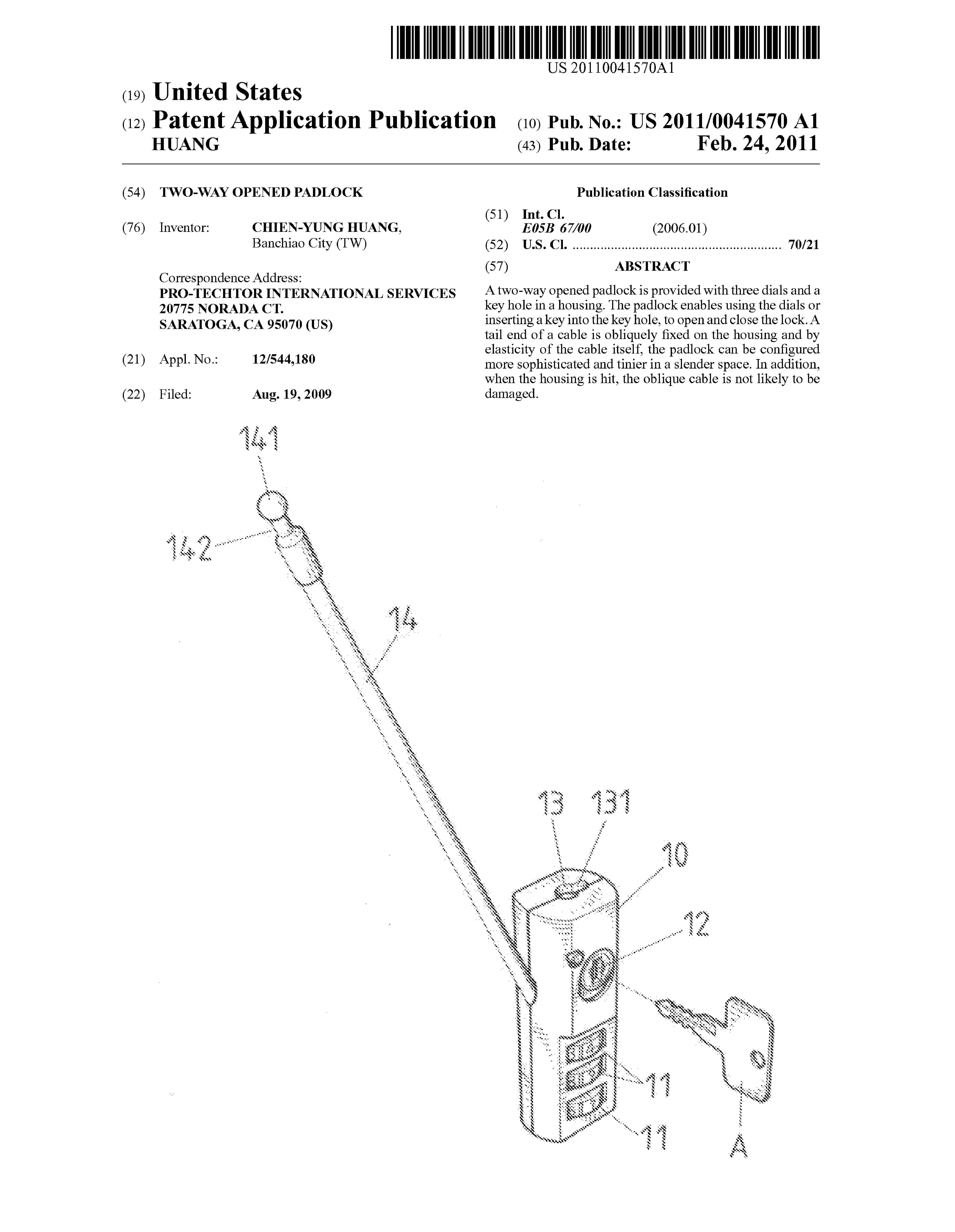
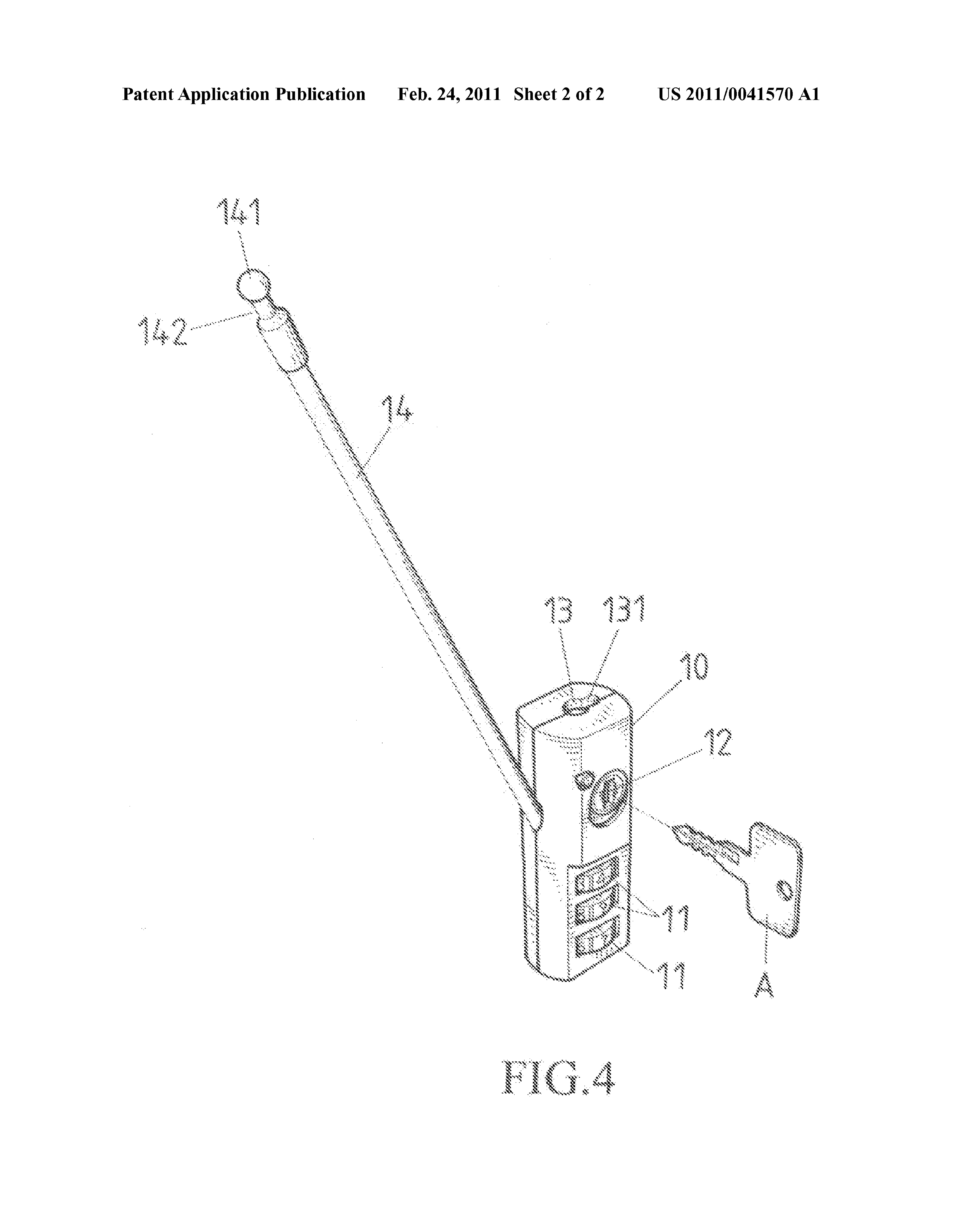
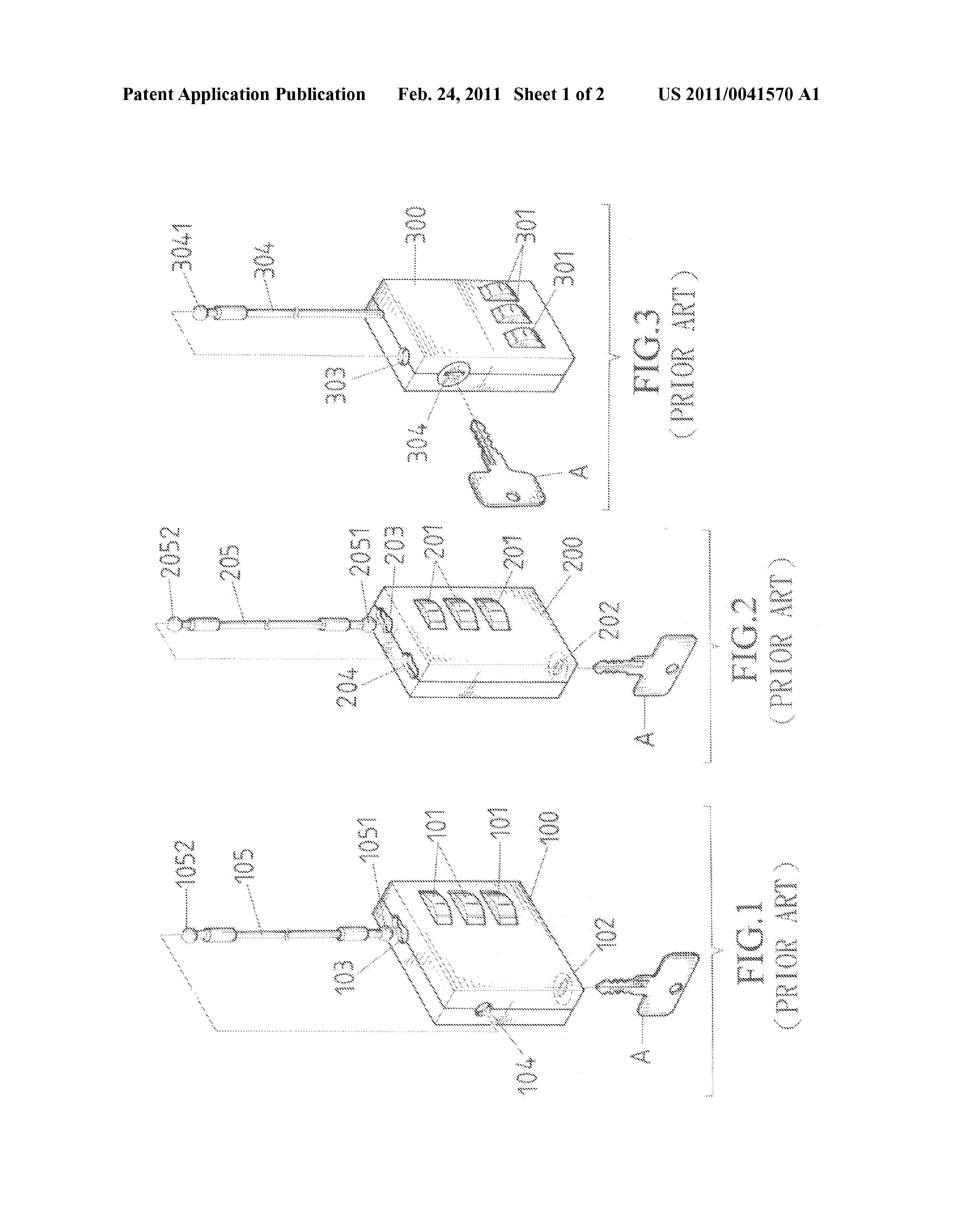
Patent Drawings

Patent Details

Patent Number 20110041570
Issue Date 2009-08-19
Inventor Chien-Yung Huang
Patent Type Keyed
External Link https://patents.google.com/patent/US20110041570/en ↗
↑ Back to Patent Database