Est. March 2001 ·
10,247
Listings on File
Antique Padlocks
A Virtual Repository · James Brady
Home
›
Patent Database
›
Patent 20110079054
Padlock Patent — Keyed
Patent 20110079054
Inventor:
John Loughlin
View on USPTO / Google Patents ↗
Patent #
20110079054
Issue Date
2010-09-03
Inventor
John Loughlin
Assigned To
Stanton Concepts Inc
Type
Keyed
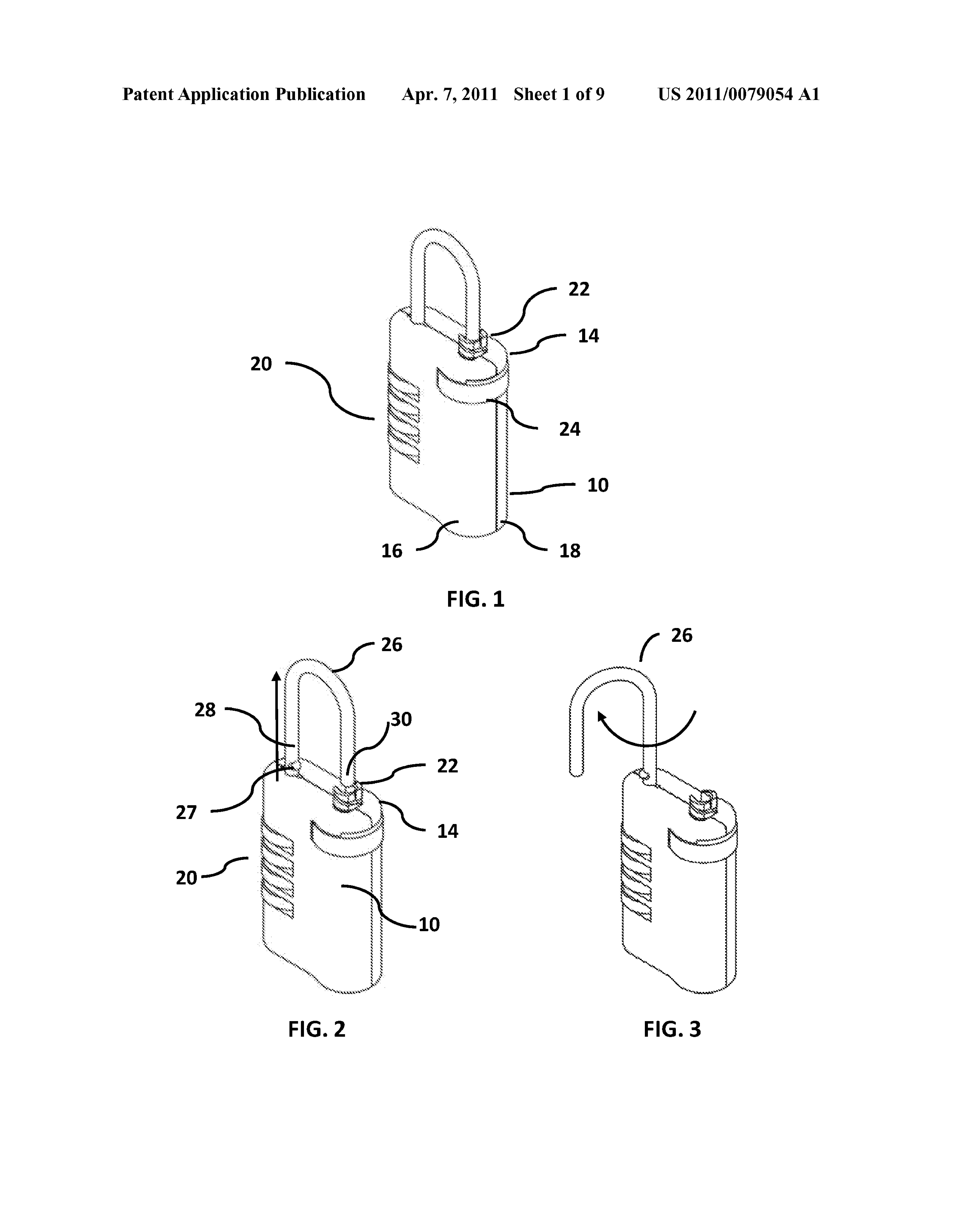
Patent Drawings
Drawing 1
Drawing 2
Drawing 3
Patent Details
Patent Number
20110079054
Issue Date
2010-09-03
Inventor
John Loughlin
Assigned To
Stanton Concepts Inc
Patent Type
Keyed
External Link
https://patents.google.com/patent/US20110079054/en ↗
← 20110138865
↑ Back to Patent Database
20110138865 →