Est. March 2001  ·  10,247 Listings on File

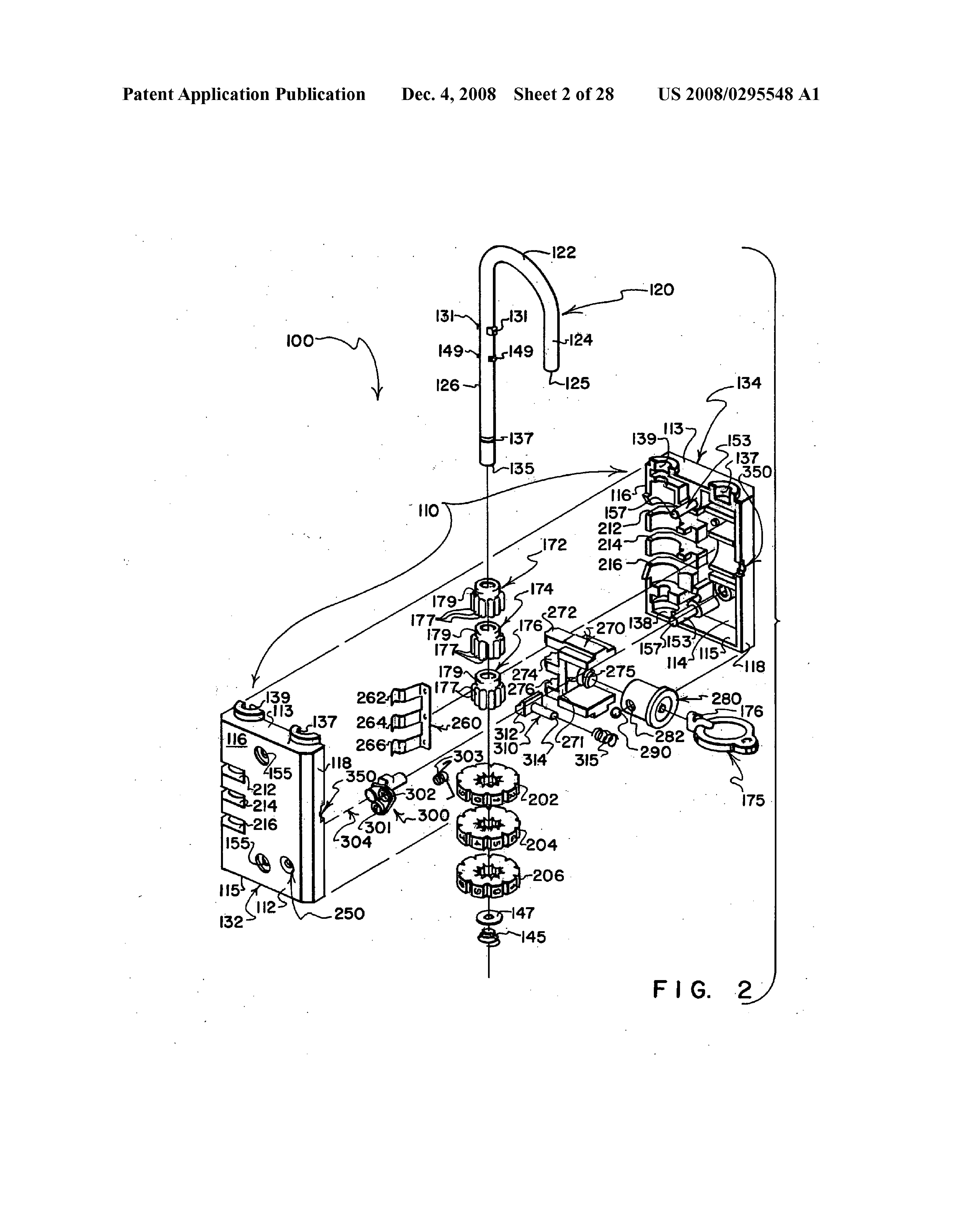
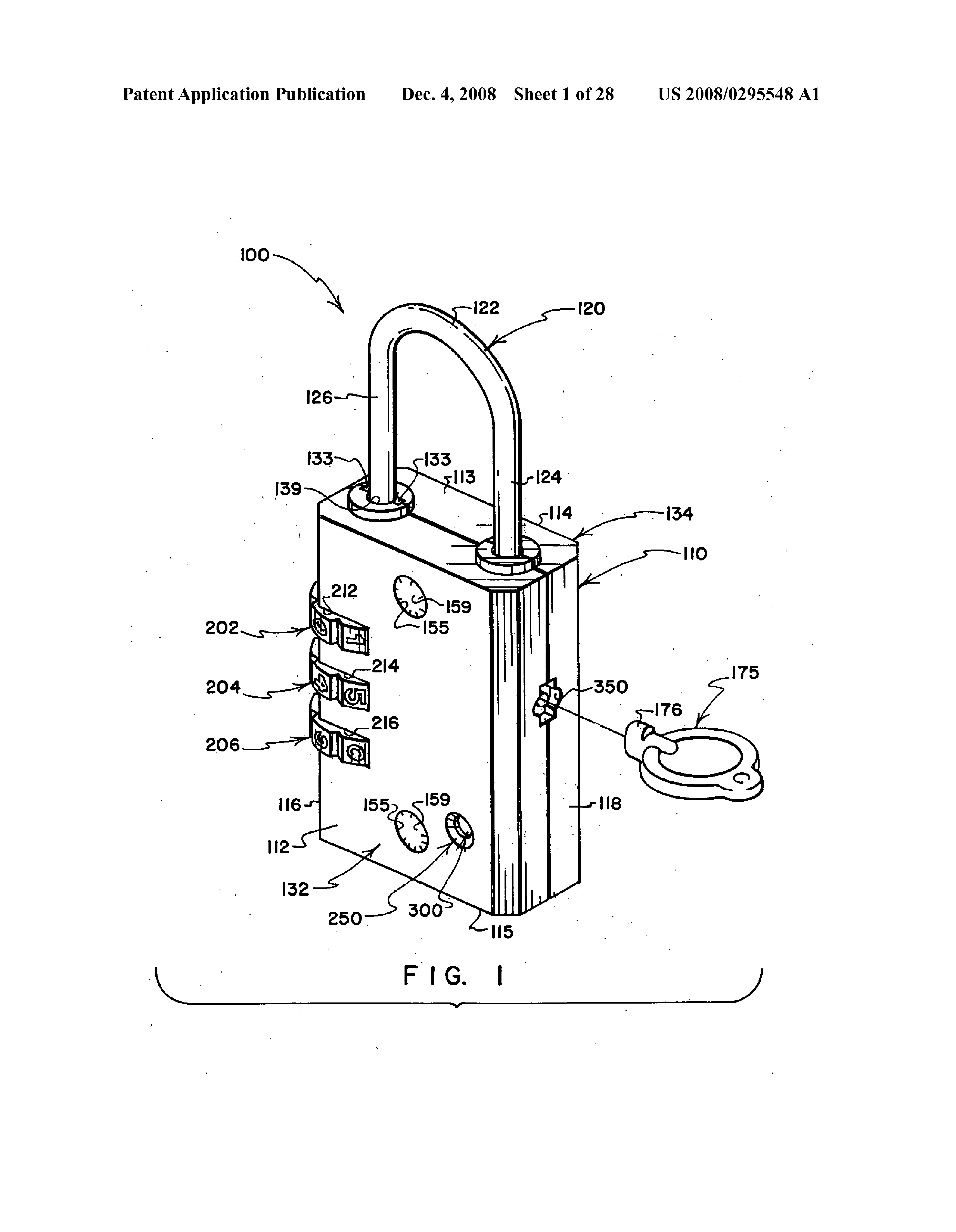
Padlock Patent — Keyed

Patent 20080295548

Inventor: Michael O. Misner

View on USPTO / Google Patents ↗
Patent # 20080295548
Issue Date 2007-10-27
Inventor Michael O. Misner
Assigned To Eastern Co
Type Keyed

Patent Drawings

Patent Details

Patent Number 20080295548
Issue Date 2007-10-27
Inventor Michael O. Misner
Assigned To Eastern Co
Patent Type Keyed
External Link https://patents.google.com/patent/US20080295548/en ↗
↑ Back to Patent Database