Est. March 2001 ·
10,247
Listings on File
Antique Padlocks
A Virtual Repository · James Brady
Home
›
Patent Database
›
Patent 20080307834
Padlock Patent — Keyed
Patent 20080307834
Inventor:
Min-Tsung Ma
View on USPTO / Google Patents ↗
Patent #
20080307834
Issue Date
2007-10-01
Inventor
Min-Tsung Ma
Type
Keyed
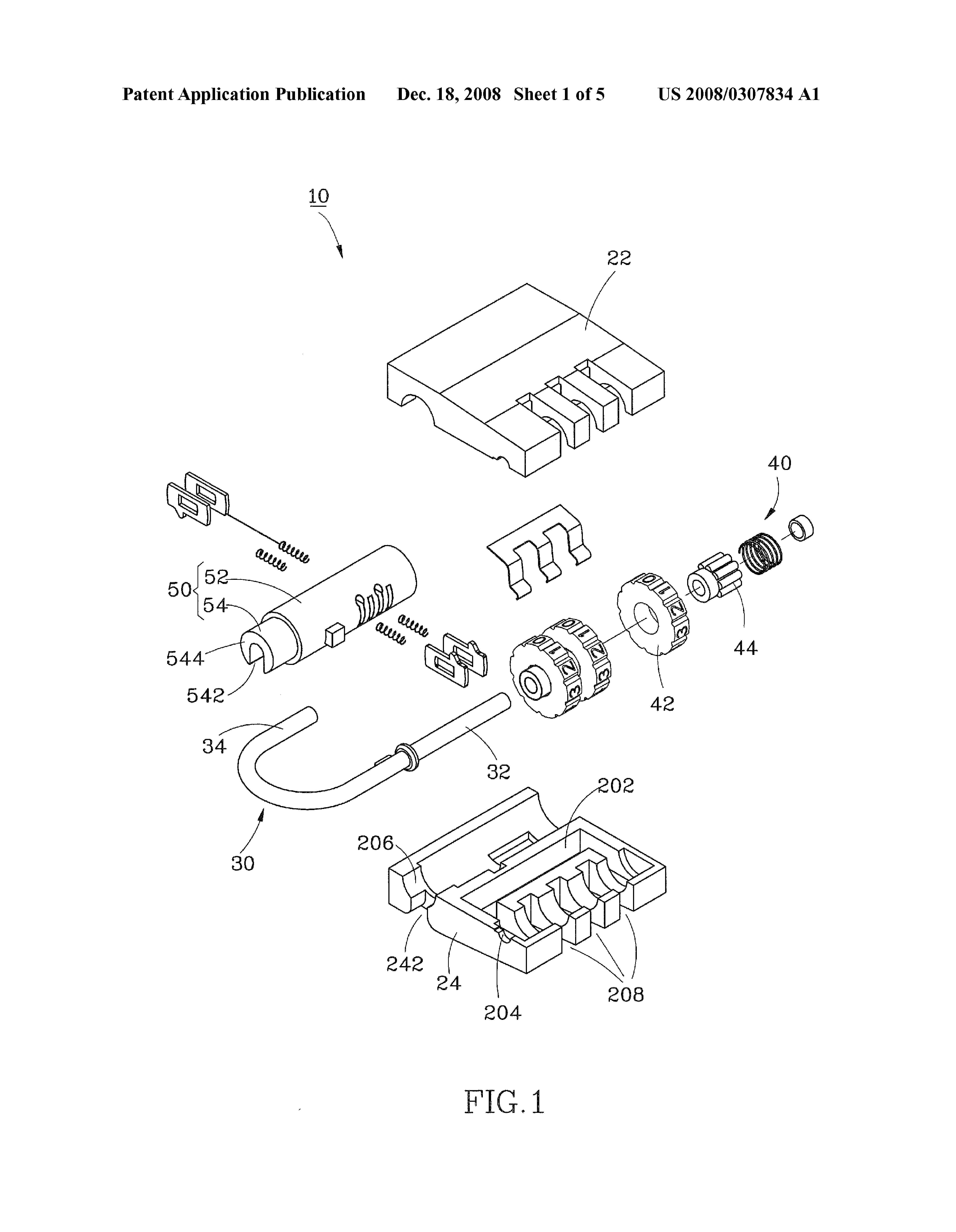
Patent Drawings
Drawing 1
Drawing 2
Drawing 3
Patent Details
Patent Number
20080307834
Issue Date
2007-10-01
Inventor
Min-Tsung Ma
Patent Type
Keyed
External Link
https://patents.google.com/patent/US20080307834/en ↗
← 20080314093
↑ Back to Patent Database
20080314093 →