Est. March 2001 ·
10,247
Listings on File
Antique Padlocks
A Virtual Repository · James Brady
Home
›
Patent Database
›
Patent 20060260369
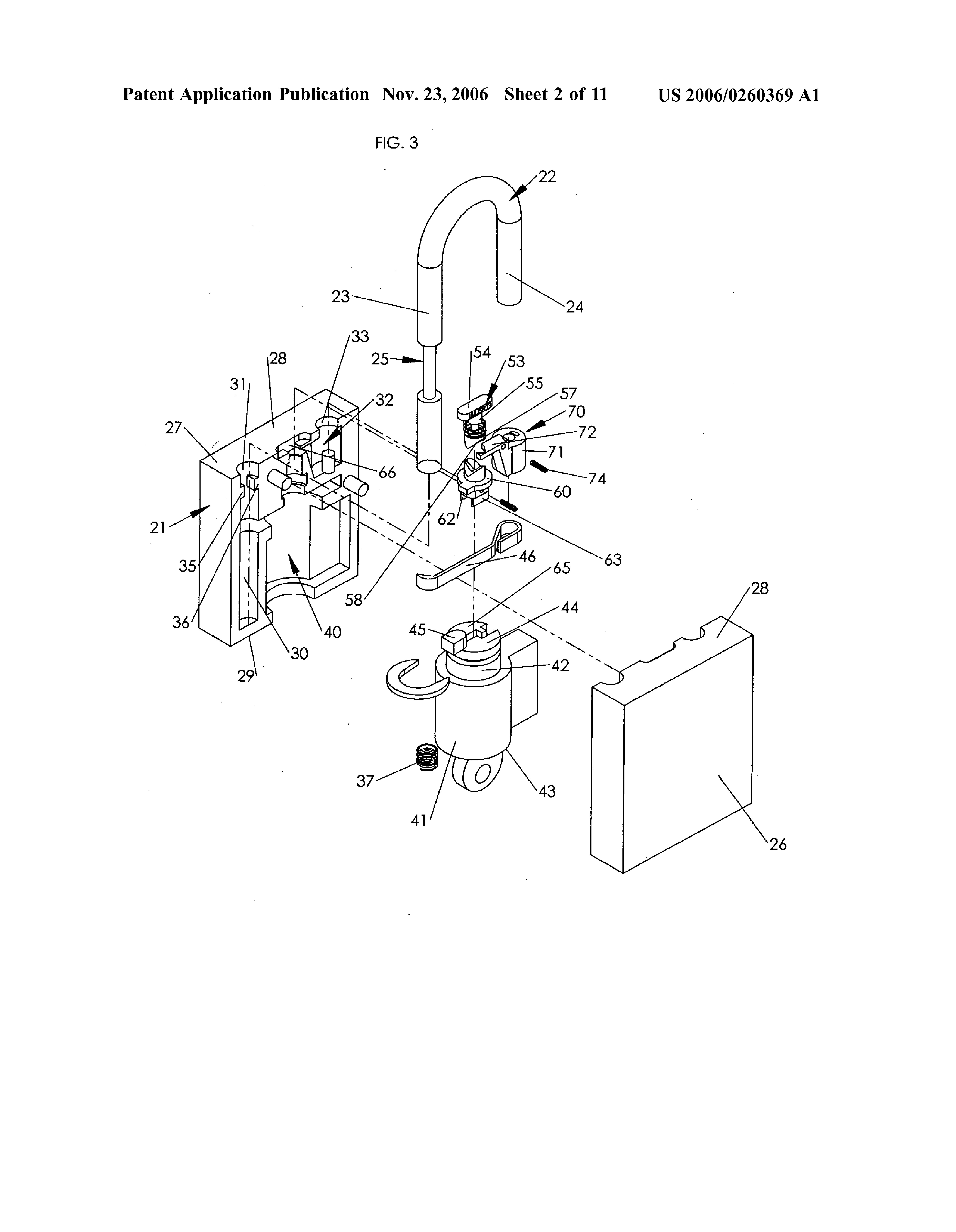
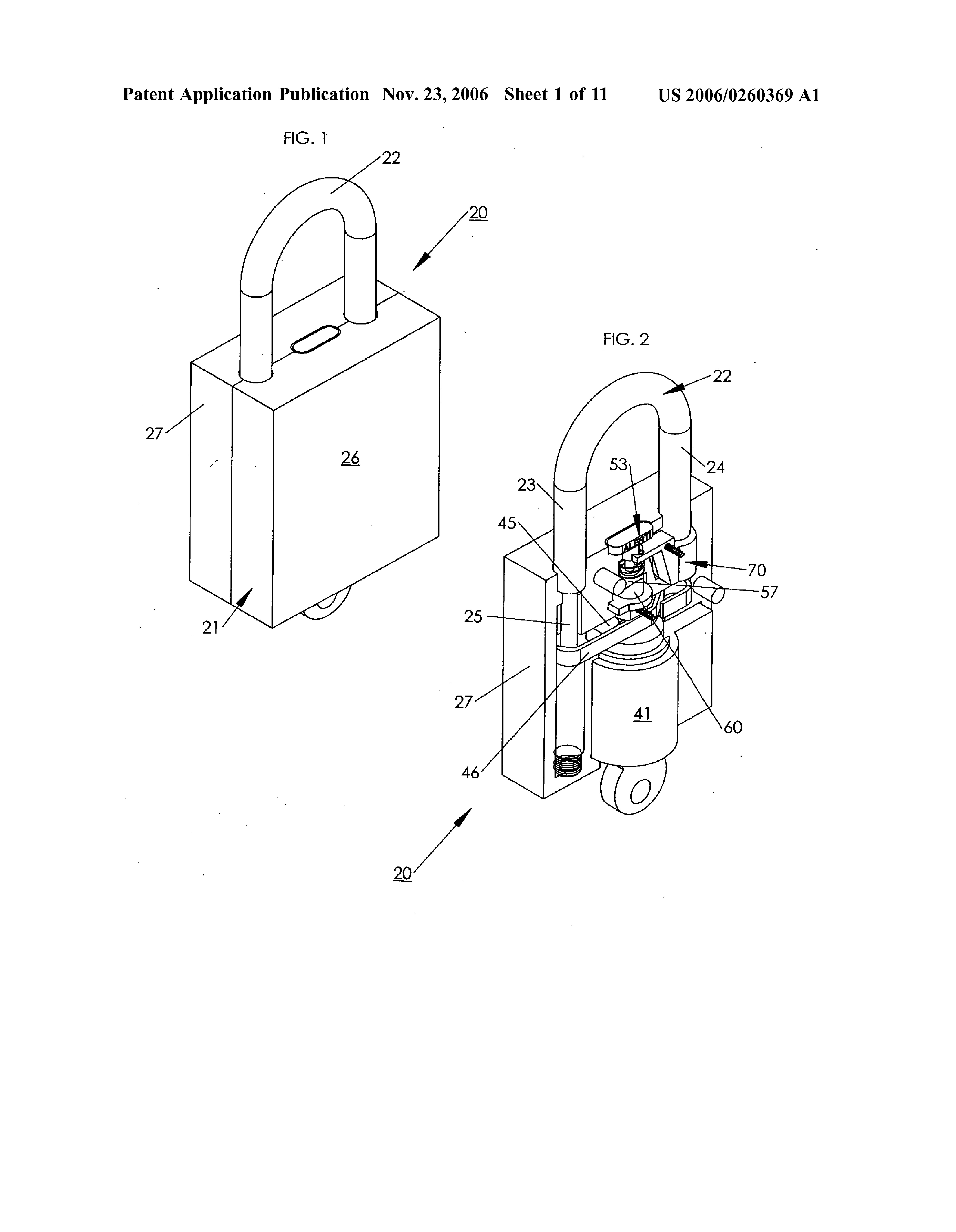
Padlock Patent — Keyed
Patent 20060260369
Inventor:
Eric Lai
View on USPTO / Google Patents ↗
Patent #
20060260369
Issue Date
2006-04-17
Inventor
Eric Lai
Assigned To
Sun Lock Co Ltd
Type
Keyed
Patent Drawings
Drawing 1
Drawing 2
Drawing 3
Patent Details
Patent Number
20060260369
Issue Date
2006-04-17
Inventor
Eric Lai
Assigned To
Sun Lock Co Ltd
Patent Type
Keyed
External Link
https://patents.google.com/patent/US20060260369/en ↗
← 20060266084
↑ Back to Patent Database
20060266084 →