Est. March 2001 ·
10,247
Listings on File
Antique Padlocks
A Virtual Repository · James Brady
Home
›
Patent Database
›
Patent 20060266084
Padlock Patent — Keyed
Patent 20060266084
Inventor:
Yung-Li Kuo
View on USPTO / Google Patents ↗
Patent #
20060266084
Issue Date
2006-05-26
Inventor
Yung-Li Kuo
Assigned To
Sinox Co Ltd
Type
Keyed
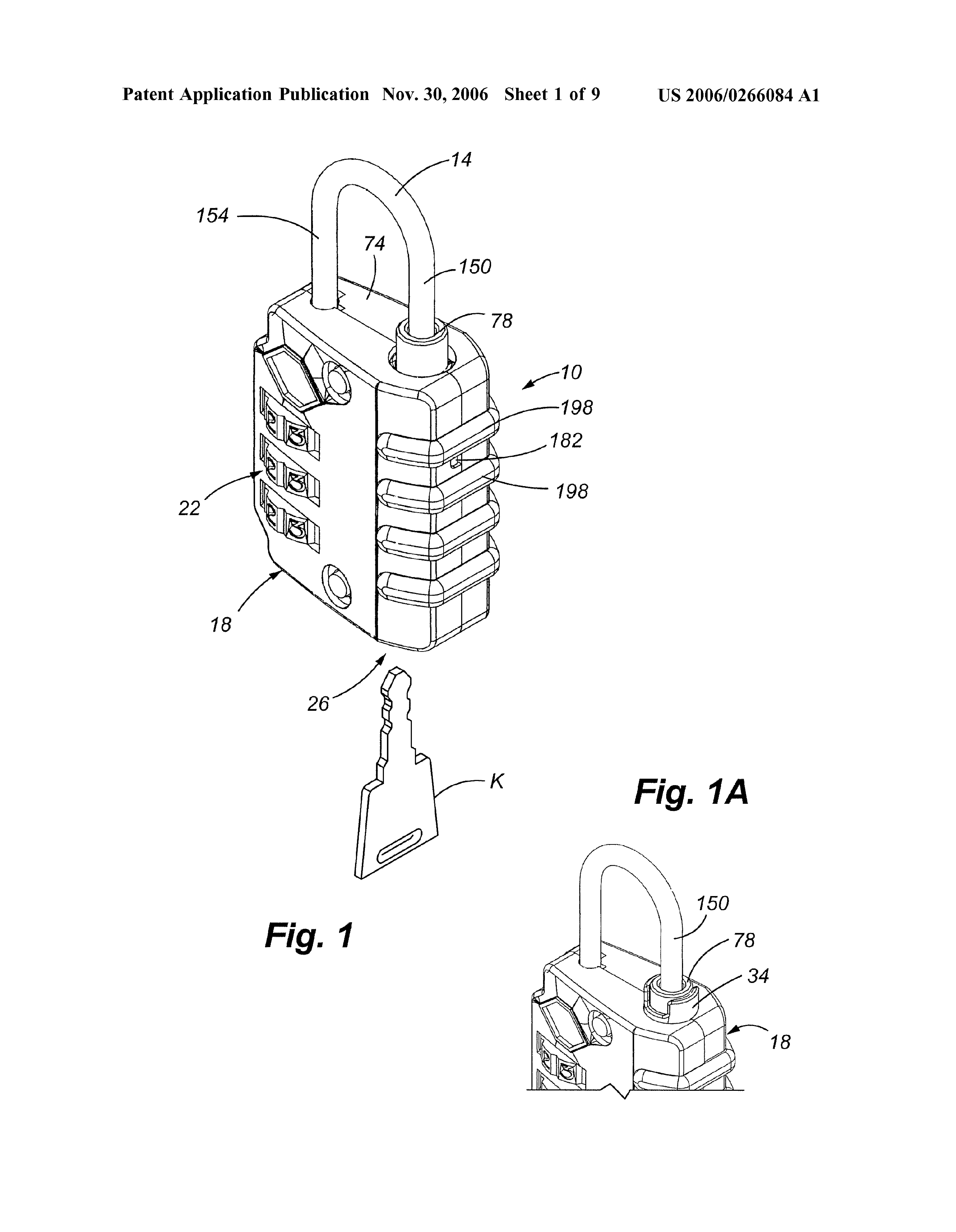
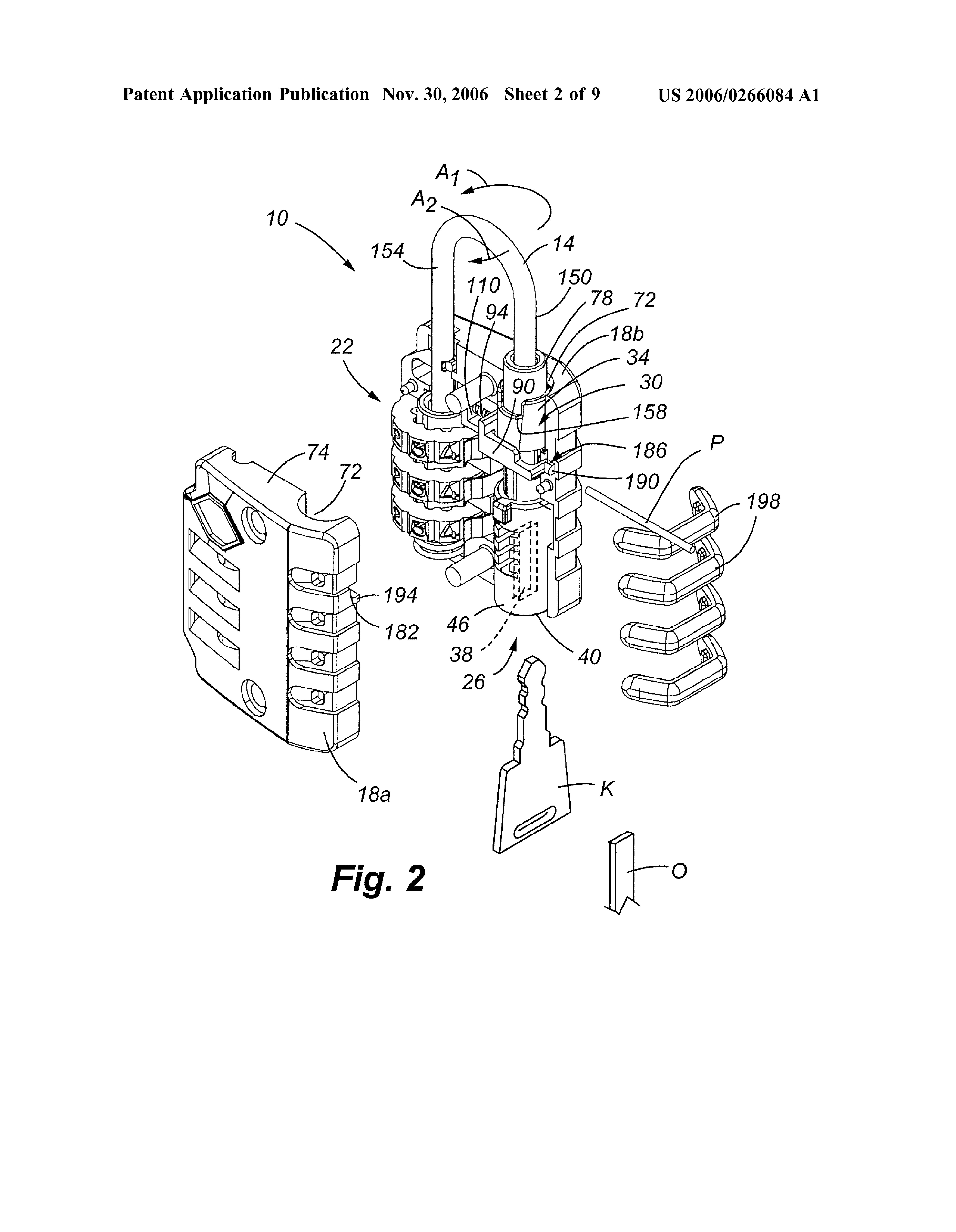
Patent Drawings
Drawing 1
Drawing 2
Drawing 3
Patent Details
Patent Number
20060266084
Issue Date
2006-05-26
Inventor
Yung-Li Kuo
Assigned To
Sinox Co Ltd
Patent Type
Keyed
External Link
https://patents.google.com/patent/US20060266084/en ↗
← 20060162400
↑ Back to Patent Database
20060162400 →